Измерительные приборы Condtrol Auto RotоLaser NEW - инструкция пользователя по применению, эксплуатации и установке на русском языке. Мы надеемся, она поможет вам решить возникшие у вас вопросы при эксплуатации техники.
Если остались вопросы, задайте их в комментариях после инструкции.
"Загружаем инструкцию", означает, что нужно подождать пока файл загрузится и можно будет его читать онлайн. Некоторые инструкции очень большие и время их появления зависит от вашей скорости интернета.

AUTO RotoLaser CONDTROL
14
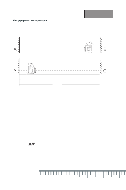
• Если вертика льное расстояние меж ду точками В и С более 4 мм – об-
ратитесь в сервисный центр или откалибруйте прибор самостоятельно.
Калибровка прибора по осям X1-X2 и Y1-Y2
• Установите прибор на плоск ую поверхность на расстоянии 20 м от
стены. Разверните прибор так, чтобы ось X1-Х2 была направлена на
стену.
• На жмите одновременно
I/O MAN
и
SCAN/CAL
.
• После вк лючения прибора отпустите
I/O MAN
.
• Удерживайте
SCAN/CAL
до тех пор пока индикатор X не загорится
зеленым цветом.
• Отпустите
SCAN/CAL
.
• Сделайте отметк у А на стене.
• Поверните прибор на 180 °
• Сделайте отметк у А1 на стене.
• Кнопками отрег улируйте положение лазерной линии таким об-
разом, чтобы линия на ходилась в центре отрезка А А1.
• На жмите
SCAN/CAL
д ля окончания ка либровки по оси X1-X2 и пере-
вода прибора в режим ка либровки по оси Y1-Y2, при этом индикатор
Y/Z загорится зеленым цветом.
• Поверните прибор на 90° таким образом, чтобы ось Y1-Y2 была на-
0,5 м
10 м
Содержание
- 5 Харак теристики; Зарядное устройство
- 6 ТЕХНИЧЕСКИЕ Х АРАКТЕРИСТИКИ
- 7 РАБОТА С ПРИБОРОМ; – Включение / Выключение; – Вк лючение функции на-; Установка горизонтали; на панели управления при-; SPEED; Чем мед леннее скорость вращения, тем ярче пучок.
- 8 • В приборе предусмотрено 3 сек тора сканирования. На жатием кнопки
- 9 , при этом на панели управления загорится соответ-; ПРИМЕРЫ ИСПОЛЬЗОВАНИЯ
- 10 УСТАНОВКА АККУМУЛЯТОРОВ; Перед первым использованием необходимо зарядить ак-; ЛАЗЕРНЫЙ ДЕТЕКТОР; ОТКРЫТЬ
- 12 ПУЛЬТ ДИСТАНЦИОННОГО УПРАВЛЕНИЯ; Пульт ДУ
- 13 * процедуру проверки необходимо провести по осям Х1-Х2 и Y1-Y2; Проверка отвеса
- 14 • После вк лючения прибора отпустите
- 15 Калибровка прибора по оси Z1-Z2
- 16 ГАРАНТИЙНЫЕ ОБЯЗАТЕЛЬСТВА; ПРИБОР No; ХРАНЕНИЕ И ТЕХНИЧЕСКОЕ ОБСЛУЖИВАНИЕ


