Измерительные приборы Bosch PLR 50 C - инструкция пользователя по применению, эксплуатации и установке на русском языке. Мы надеемся, она поможет вам решить возникшие у вас вопросы при эксплуатации техники.
Если остались вопросы, задайте их в комментариях после инструкции.
"Загружаем инструкцию", означает, что нужно подождать пока файл загрузится и можно будет его читать онлайн. Некоторые инструкции очень большие и время их появления зависит от вашей скорости интернета.

100
| Македонски
1 609 92A 0K2 | (4.8.14)
Bosch Power Tools
Со функцијата Континуирано мерење, мерењето започнува веднаш по
првото притискање на копчето Мерење
12
.
Вообичаено, измерената вредност се појавува во рок од 0,5 с, а најдоцна
по 4 с. Времетраењето на мерењето зависи од растојанието, светлосните
услови и рефлективните својства на целната површина. Крајот на
мерењето ќе се прикаже со сигнален тон. По завршување на мерењето,
ласерскиот зрак автоматски ќе се исклучи.
Доколку по околу 20 с. по визирањето не се изврши мерење, ласерскиот
зрак автоматски се исклучува заради заштита на батериите.
Бирање на референтно ниво (види слики A – C)
За мерењето може да изберете три различни референтни нивоа:
– задниот раб на мерниот уред (на пр. при поставување на ѕидови),
– задниот раб на чивијата-граничник
14
(на пр. за мерење од ќошеви),
– предниот раб на мерниот уред (на пр. при мерење, почнувајќи од еден
раб на маса).
За промена на референтното ниво, притискајте го копчето
9
, додека не се
прикаже саканото референтно ниво на екранот. По секое вклучување на
мерниот уред, задниот раб на мерниот уред е претходно поставен како
референтно ниво.
Мерни функции
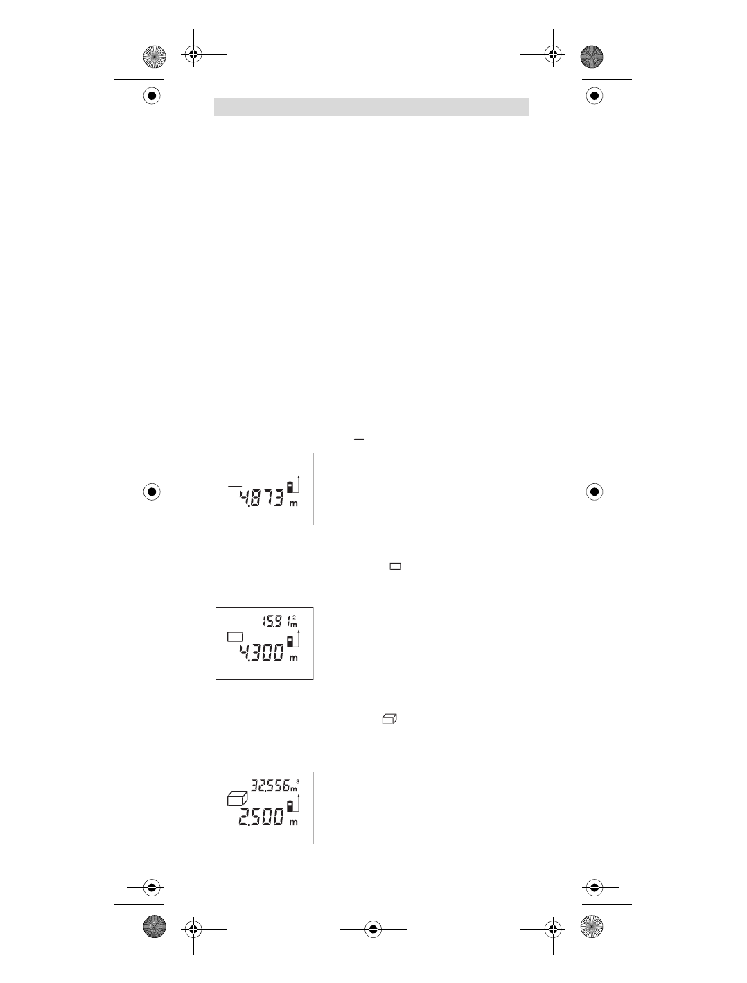
Мерење на должини
За мерење на должини притискајте го копчето
1
. На екранот се појавува
приказот за мерење на должини
.
Притиснете еднаш на копчето Мерење
12
за
целење и одново за мерење.
Измерената вредност ќе се прикаже долу на
екранот.
Мерење на површини
За мерење на површини притискајте го копчето
3
, додека на екранот не се
појави приказот за мерење на површини
.
На крај, измерете ја должината и ширината едно по друго како кај мерењето
на должини. Помеѓу двете мерења, ласерскиот зрак останува вклучен.
По завршување на второто мерење површината
автоматски ќе се пресмета и прикаже.
Последната поединечна вредност стои долу на
екранот, а крајниот резултат горе.
Мерење на волумен
За мерење на волумен притискајте го копчето
3
, додека на екранот не се
појави приказот за мерење на волумен
.
На крај, измерете ја должината, ширината и висината едно по друго како кај
мерењето на должини. Помеѓу трите мерења, ласерскиот зрак останува
вклучен.
По завршување на третото мерење волуменот
автоматски ќе се пресмета и прикаже.
Последната поединечна вредност стои долу на
екранот, а крајниот резултат горе.
OBJ_DOKU-27472-002.fm Page 100 Monday, August 4, 2014 1:15 PM
Содержание
Характеристики
Остались вопросы?Не нашли свой ответ в руководстве или возникли другие проблемы? Задайте свой вопрос в форме ниже с подробным описанием вашей ситуации, чтобы другие люди и специалисты смогли дать на него ответ. Если вы знаете как решить проблему другого человека, пожалуйста, подскажите ему :)