Источники бесперебойного питания Teplocom — 100+ - инструкция пользователя по применению, эксплуатации и установке на русском языке. Мы надеемся, она поможет вам решить возникшие у вас вопросы при эксплуатации техники.
Если остались вопросы, задайте их в комментариях после инструкции.
"Загружаем инструкцию", означает, что нужно подождать пока файл загрузится и можно будет его читать онлайн. Некоторые инструкции очень большие и время их появления зависит от вашей скорости интернета.

ПОДКЛЮЧЕНИЕ
ВНЕШНЕЙ
АКБ
Источник
бесперебойного
питания
TEPLOCOM -100+
8
ПОДКЛЮЧЕНИЕ
ВНЕШНЕЙ
АКБ
В
случае
необходимости
увеличения
времени
резервирования
работы
подключенного
к
изделию
оборудования
в
комплекте
поставки
имеются
дополнительные
соединительные
провода
черного
(
минус
)
и
красного
(
плюс
)
цветов
для
подключения
АКБ
емкостью
до
65
Ач
.
Провода
имеют
с
одной
стороны
соединительные
клеммы
для
подключения
к
перемычкам
АКБ
изделия
,
а
с
другой
-
клеммы
под
соединительный
винт
.
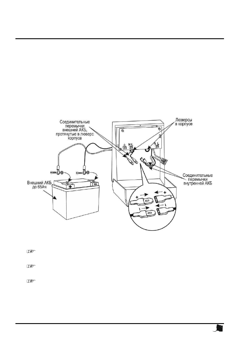
Для
подключения
АКБ
большой
емкости
,
протяните
соединительные
перемычки
внешней
АКБ
через
люверсы
внутрь
корпуса
,
и
соедините
их
с
перемычками
внутренней
АКБ
,
соблюдая
полярность
(
см
.
рисунок
3).
Рисунок
4 —
Схема
подключения
внешней
АКБ
При
подключении
внешнего
АКБ
,
использование
внутреннего
АКБ
не
допускается
.
Запрещается
эксплуатация
внешней
АКБ
без
изоляции
аккумуляторных
клемм
.
Для
размещения
внешней
АКБ
большой
емкости
рекомендуем
использовать
аккумуляторные
отсеки
серии
АО
(https://bast.ru/battery-service/)
Характеристики
Остались вопросы?Не нашли свой ответ в руководстве или возникли другие проблемы? Задайте свой вопрос в форме ниже с подробным описанием вашей ситуации, чтобы другие люди и специалисты смогли дать на него ответ. Если вы знаете как решить проблему другого человека, пожалуйста, подскажите ему :)