Источники бесперебойного питания Powerman Smart 500 INV - инструкция пользователя по применению, эксплуатации и установке на русском языке. Мы надеемся, она поможет вам решить возникшие у вас вопросы при эксплуатации техники.
Если остались вопросы, задайте их в комментариях после инструкции.
"Загружаем инструкцию", означает, что нужно подождать пока файл загрузится и можно будет его читать онлайн. Некоторые инструкции очень большие и время их появления зависит от вашей скорости интернета.

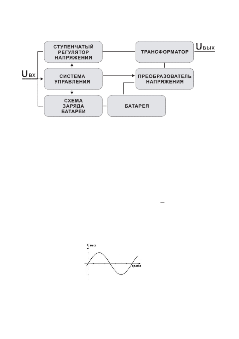
Структурная схема ИБП показана на рисунке (1):
Рис. 1
В состав ИБП входят: схема управления (СУ); ст упенчатый рег улятор
напряжения (СРН), трансформатор (Т), схема заряда (СЗ) в н е ш н е й
батареи, инверторный преобразователь напряжения
батареи в
переменное синусоидальное напряжение 220 В (ИПН). К ИБП
подсоединяется внешняя батарея (Б), которая приобретается отдельно .
При наличии сетевого (входного) напряжения (U вх.), СУ, анализ ир уя
U
вх. управляет работой СРН, который коммутирует выводы первичной
обмотки т р а н с ф о р м а т о р а и выходные цепи ИБП, ограничивая диапазон
изменения выходного напряжения в пределах 2 2 0 + 8 % В при изменении
напряжения сети в диапазоне 140-275 В. Если напряжение с е т и
выходит за границы указанного диапазона, или пропадает, СУ
переключает ИБП в инв ерт ор ный режим работы от батареи, при этом на
выход поступает син усоидальное напряжение (Рис.2) . Если батарея
разряжается ниже установленного предела, ИБП выключается.
Рис. 2.
Характеристики
Остались вопросы?Не нашли свой ответ в руководстве или возникли другие проблемы? Задайте свой вопрос в форме ниже с подробным описанием вашей ситуации, чтобы другие люди и специалисты смогли дать на него ответ. Если вы знаете как решить проблему другого человека, пожалуйста, подскажите ему :)










