Источники бесперебойного питания UPS Powercom SPR-1000 LCD Smart King Pro+ - инструкция пользователя по применению, эксплуатации и установке на русском языке. Мы надеемся, она поможет вам решить возникшие у вас вопросы при эксплуатации техники.
Если остались вопросы, задайте их в комментариях после инструкции.
"Загружаем инструкцию", означает, что нужно подождать пока файл загрузится и можно будет его читать онлайн. Некоторые инструкции очень большие и время их появления зависит от вашей скорости интернета.

6
1.
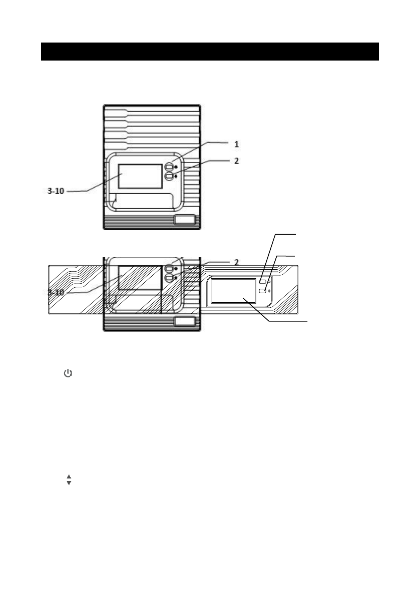
Описание
1.1.
Передняя LCD панель
1.1.1
Кнопка «ON/TEST/SILENCE» (ВКЛ / ВСТРОЕННЫЙ КОНТРОЛЬ /
ОТКЛЮЧЕНИЕ ЗВУКОВОЙ СИГНАЛИЗАЦИИ)
Кнопка включения ИБП. Если ИБП работает от электросети переменного тока, при
помощи этой кнопки можно активировать функцию встроенного контроля
(самодиагностики) ИБП, нажав её менее чем на 1 секунду, – при этом ИБП перейдет в
режим работы от аккумулятора, о чем будет сигнализировать желтый индикатор на
лицевой панели. В режиме резервного питания при нажатии кнопки в течение 1
секунды активируется функция ИБП «SILENCE» (Молчание /Отключение звукового
сигнала).
1.1.2
Кнопка управления
LCD
Нажмите эту кнопку чтобы изменить отображаемую на дисплее информацию.
1.1.3
Индикатор «OVERLOAD» (ПЕРЕГРУЗКА) (красный)
Индикатор горит, если мощность, потребляемая подключенным оборудованием,
1
2
3-10
1
2