Источники бесперебойного питания Powercom Raptor RPT-1500AP LCD - инструкция пользователя по применению, эксплуатации и установке на русском языке. Мы надеемся, она поможет вам решить возникшие у вас вопросы при эксплуатации техники.
Если остались вопросы, задайте их в комментариях после инструкции.
"Загружаем инструкцию", означает, что нужно подождать пока файл загрузится и можно будет его читать онлайн. Некоторые инструкции очень большие и время их появления зависит от вашей скорости интернета.

- 5 -
1.2
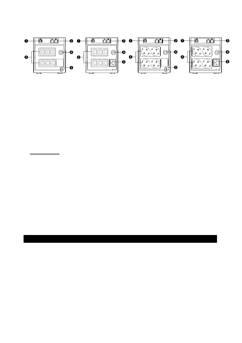
Задняя панель
1.2.1) Коммуникационный порт
В моделях с индексом AP предназначен для связи с компьютером, позволяет осуществлять
мониторинг и управление ИБП.
1.2.2) Защита телекоммуникационной линии
В моделях с индексом АР позволяет осуществлять защиту телекоммуникационной линии
RJ45/11 от импульсных помех.
1.2.3) Входной кабель электросети
Кабель электропитания для подключения к электросети. Перед подключением, пожалуйста,
убедитесь, что напряжение электросети соответствует номинальному напряжению ИБП.
Например, если номинальное напряжение ИБП 220В, то и электросеть должна быть 220В.
ВНИМАНИЕ:
Не включайте входной кабель в выходные розетки, это может привести к
повреждению ИБП!
1.2.4) Автоматический выключатель
Срабатывает если суммарная мощность, потребляемая подключенным оборудованием,
превышает максимальную мощность ИБП.
1.2.5) Выходные розетки с питанием от аккумулятора и защитой от импульсных помех
При наличии напряжения в электросети выходные розетки обеспечивают питание
подключенного оборудования через стабилизатор напряжения (AVR). Повышение или
понижение напряжения электросети корректируются автоматическим стабилизатором
напряжения. Если напряжение электросети пропадает или выходит за пределы работы
стабилизатора напряжения, подключенное оборудование питается от аккумулятора ИБП.
2. УСТАНОВКА
2.1 Проверка
Проверьте ИБП сразу после получения. Упаковка пригодна для повторного использования,
сохраните её или утилизируйте в установленном порядке.
2.2 Электросеть
При помощи кабеля из комплекта соедините вход электросети на задней панели ИБП с розеткой
электросети. Напряжение электросети должно соответствовать номинальному напряжению ИБП.
(Например, если ИБП рассчитан на 220В, то и электросеть должна быть 220В).
2.3 Подключение оборудования
Кабели питания защищаемого оборудования должны быть соединены с выходными розетками на
задней панели ИБП.
Содержание
- 2 ВАЖНЫЕ ИНСТРУКЦИИ ПО БЕЗОПАСНОСТИ; ОСТОРОЖНО
- 3 ВВЕДЕНИЕ; Пожалуйста, прочтите и сохраните данное руководство!; ОПИСАНИЕ УСТРОЙСТВА; Передняя панель
- 5 Задняя панель; повреждению ИБП!; Подключение оборудования
- 6 Не подключайте к ИБП лазерные принтеры, плоттеры и бытовые
- 7 Функция самотестирования; Звуковой сигнал низкого заряда аккумулятора издается два раза в
- 8 Выключение ИБП
- 10 ПРИЛОЖЕНИЕ А ПОИСК НЕИСПРАВНОСТЕЙ
- 11 ПРИЛОЖЕНИЕ Б СПЕЦИФИКАЦИЯ
- 12 Спецификации могут быть изменены без уведомления.
Характеристики
Остались вопросы?Не нашли свой ответ в руководстве или возникли другие проблемы? Задайте свой вопрос в форме ниже с подробным описанием вашей ситуации, чтобы другие люди и специалисты смогли дать на него ответ. Если вы знаете как решить проблему другого человека, пожалуйста, подскажите ему :)