Источники бесперебойного питания DIGITUS (DN-170107) - инструкция пользователя по применению, эксплуатации и установке на русском языке. Мы надеемся, она поможет вам решить возникшие у вас вопросы при эксплуатации техники.
Если остались вопросы, задайте их в комментариях после инструкции.
"Загружаем инструкцию", означает, что нужно подождать пока файл загрузится и можно будет его читать онлайн. Некоторые инструкции очень большие и время их появления зависит от вашей скорости интернета.

4
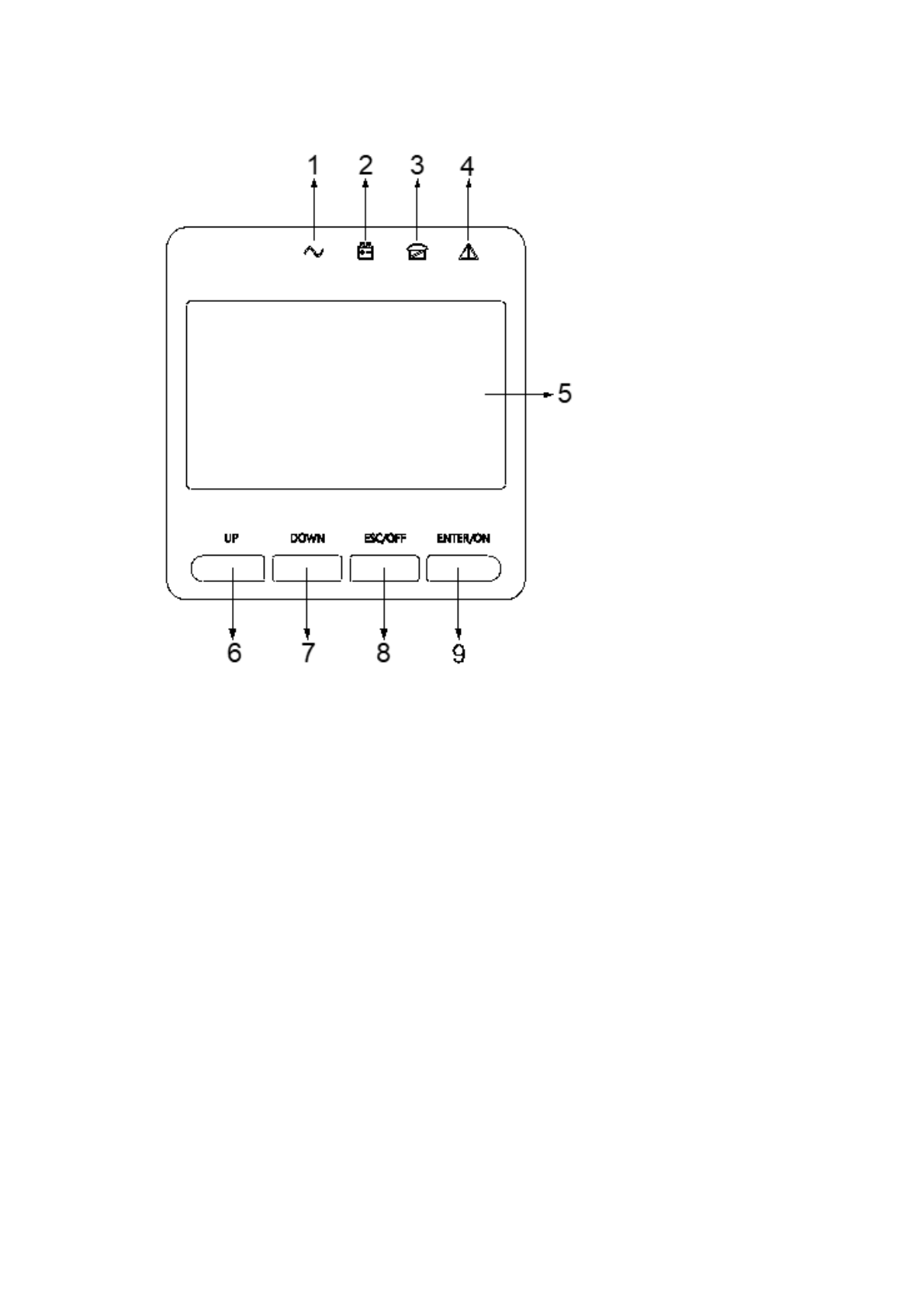
3.3 LCD control panel
LCD control panel introduction
(1) INVERTER LED
(2) BATTERY LED
(3) BYPASS LED
(4) ALARM LED
(5) LCD display
(6) UP button
(7) DOWN button
(8) ESC /OFF button
(9) ENTER/ON
button
3.4 Installation notes
Please place the UPS in a clean, stable environment, avoid the vibration, dust,
humidity, flammable gas and liquid, corrosive objects. To avoid from high room
temperature, a system of room extractor fans is recommended to be installed.
Optional air filters are available if the UPS operates in a dusty environment.
The environment temperature around the UPS should keep in a range of 0°C ~40°C.
If the environment temperature exceeds 40
℃
, the rated load capacity should be
reduced by 12% per 5°C. The max temperature can't be higher than 50°C.
If the UPS is dismantled under low temperature, it might be in a condensing
condition.The UPS can't be installed unless the internal and external of the
equipment is fully dry. Otherwise, there will be in danger of electric shock.
Batteries should be mounted in an environment where the temperature is within
the required specs. Temperature is a major factor in determining battery life and
capacity. In a normal installation, the battery temperature is maintained
between 15°C and 25°C. Keep batteries away from heat sources or main air
ventilation area, etc.
Характеристики
Остались вопросы?Не нашли свой ответ в руководстве или возникли другие проблемы? Задайте свой вопрос в форме ниже с подробным описанием вашей ситуации, чтобы другие люди и специалисты смогли дать на него ответ. Если вы знаете как решить проблему другого человека, пожалуйста, подскажите ему :)