Источники бесперебойного питания CyberPower OLS1000ERT2Ua - инструкция пользователя по применению, эксплуатации и установке на русском языке. Мы надеемся, она поможет вам решить возникшие у вас вопросы при эксплуатации техники.
Если остались вопросы, задайте их в комментариях после инструкции.
"Загружаем инструкцию", означает, что нужно подождать пока файл загрузится и можно будет его читать онлайн. Некоторые инструкции очень большие и время их появления зависит от вашей скорости интернета.

ОПИ
1.
Вх
Разъ
моду
Сним
2.
За
Дост
Выпо
3.
Вы
Испо
или
ПОД
Шаг
Шаг
Шаг
ПОД
Шаг
Шаг
Шаг
Шаг
ИСАНИЕ
ПЕ
ходящий
раз
ъем
для
посл
улей
.
митекрышкуд
аменяемый
п
туп
для
замен
олняется
ква
ыходящий
р
ользуйте
этот
для
соединен
ДКЛЮЧЕНИ
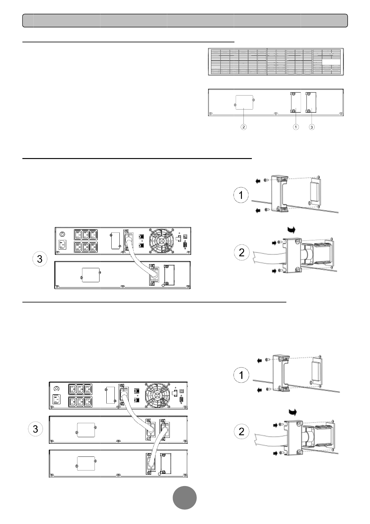
1:
Отверните
креплени
модуля
о
2:
Исполь
модуля
д
модуля
с
3:
Для
фикса
винта
.
ДКЛЮЧЕНИ
1:
Подсоеде
питания
модуля
.
2:
Отверните
креплени
3:
Использу
соединен
батарейн
4:
Для
фикса
ЕРЕДНЕЙ
И
зъем
едовательног
длядоступа
.
предохранит
ны
предохран
лифицирован
разъем
т
разъем
для
ния
со
следую
ИЕ
1 :
СИЛОВ
е
два
винта
и
ия
кабеля
от
блока
пита
ьзуйте
кабел
для
соединен
с
блоком
пита
ации
кабеля
з
ИЕ
2 :
СИЛОВ
ените
1
ый
бата
используя
е
два
винта
и
ия
кабеля
1
го
йте
кабель
б
ния
2
го
батар
ным
модулем
ации
кабеля
з
И
ЗАДНЕЙ
П
го
подключен
тель
нителя
на
зад
нным
персона
подключения
ющим
батаре
ВОЙ
МОДУЛ
и
снимите
ско
батарейн
ания
ль
батарейн
ния
батарейн
ания
.
затяните
два
ВОЙ
МОДУЛ
арейный
мод
кабель
б
снимите
скоб
батарейного
батарейного
м
рейного
мод
м
.
затяните
два
ОСНОВ
ПАНЕЛИ
БА
ния
батарейны
дней
панели
.
алом
.
я
к
модулю
пи
ейным
модуле
ЛЬ
С
ОДНИМ
обу
ого
ого
ого
ЛЬ
С
НЕСКО
дульк
блоку
батарейного
бу
модуля
модуля
для
дуля
с
1
м
винта
.
ВНЫЕ
ОПЕ
9
ТАРЕЙНОГ
ых
итания
ем
.
М
БАТАРЕЙ
ОЛЬКИМИ
Б
ЕРАЦИИ
ГО
МОДУЛЯ
BPSE
ЙНЫМ
МОД
БАТАРЕЙНЫ
Я
E36V45ART2
ДУЛЕМ
ЫМИ
МОДУ
U,BPSE72V4
УЛЯМИ
45ART2U
Характеристики
Остались вопросы?Не нашли свой ответ в руководстве или возникли другие проблемы? Задайте свой вопрос в форме ниже с подробным описанием вашей ситуации, чтобы другие люди и специалисты смогли дать на него ответ. Если вы знаете как решить проблему другого человека, пожалуйста, подскажите ему :)