Страница 2 - БЛАГОДАРИМ ВАС
БЛАГОДАРИМ ВАС за доверие и поздравляем с приобретением нового изделия . Для более удобного и простого использования изделия мы подготовили подробную инструкцию по эксплуатации . Пожалуйста, внимательно прочитайте данную инструкцию перед установкой или использованием прибора . Она поможет Вам быстре...
Страница 3 - СОДЕРЖАНИЕ
СОДЕРЖАНИЕ стр.3 МЕРЫ БЕЗОПАСНОСТИ МЕРЫ БЕЗОПАСНОСТИ стр.12 стр.14 ТЕХНИЧЕСКИЕ ДАННЫЕ ДАННЫЕ ПО ЭНЕРГОПОТРЕБЛЕНИЮ ТЕХНИЧЕСКИЕ ДАННЫЕ стр.15 стр.22 стр.23 ОПИСАНИЕ ПРИБОРА ВЫБОР ПОСУДЫ ИНФОРМАЦИЯ ОПИСАНИЕ ПРИБОРА стр.24 стр. 35 стр. 37 ИСПОЛЬЗОВАНИЕ ПРИБОРА УСТРАНЕНИЕ НЕПОЛАДОК УХОД ЗА ВАРОЧНОЙ ПАНЕЛ...
Страница 4 - МЕРЫ БЕЗОПАСНОСТИ; ВНИМАТЕЛЬНО ОЗНАКОМЬТЕСЬ С ИНСТРУКЦИЕЙ И
МЕРЫ БЕЗОПАСНОСТИ ВНИМАТЕЛЬНО ОЗНАКОМЬТЕСЬ С ИНСТРУКЦИЕЙ И СОХРАНИТЕ ЕЕ ДЛЯ ДАЛЬНЕЙШЕГО ИСПОЛЬЗОВАНИЯ! -3- Данный прибор был протестирован и сертифицирован в соответствии со всеми действующими стандартами по электрической части и стандартами безопасности. Данный прибор должен быть установлен и подкл...
Страница 6 - Опасность поражения электрическим током.
МЕРЫ БЕЗОПАСНОСТИ -5- Производитель не несет гражданской или уголовной ответственности за повреждения, причиной которых было игнорирование приведенных указаний по безопасности и установке прибора. Опасность поражения электрическим током. • Отключите прибор от электросети перед выполнением с ним каки...
Страница 7 - ОПАСНОСТЬ ГОРЯЧИХ ПОВЕРХНОСТЕЙ
МЕРЫ БЕЗОПАСНОСТИ -6- • Во время использования доступные части прибора нагреваются достаточно сильно, чтобы вызвать ожоги. • Не допускайте контакта тела, одежды, иных предметов, кроме подходящей посуды, со стеклом до остывания поверхности. • Металлические предметы, такие как ножи, вилки, ложки и кры...
Страница 9 - ЗАПРЕЩАЕТСЯ
МЕРЫ БЕЗОПАСНОСТИ -8- • Не подпускайте к прибору детей младше 8 лет, если отсутствует постоянный контроль за ними. • Данный прибор может использоваться детьми в возрасте от 8 лет и старше, а также людьми с ограниченными физическими, тактильными или умственными способностями или отсутствием необходим...
Страница 10 - РАБОТА С ВАРОЧНОЙ ПАНЕЛЬЮ
МЕРЫ БЕЗОПАСНОСТИ -9- РАБОТА С ВАРОЧНОЙ ПАНЕЛЬЮ • После окончания приготовления пищи отключите конфорки. • Внимательно следите за приготовлением пищи на масле или жире: эти продукты способны легко воспламеняться. • Следите за тем, чтобы не обжечься во время и после использования варочной панели. • Н...
Страница 11 - МЕРЫ ПО ПРЕДОТВРАЩЕНИЮ ПОВРЕЖДЕНИЯ
МЕРЫ БЕЗОПАСНОСТИ -10- • Не допускайте ударов кастрюлями о край стекла. • Не ставьте и не оставляйте пустые кастрюли на стеклокерамической панели. • Не допускайте попадания на конфорки сахара и синтетических материалов, а также не оставляйте на них алюминиевые листы, поскольку это может привести к п...
Страница 12 - ЗАЩИТА ОТ ПЕРЕГРЕВА; будьте осторожны; Уровень мощности
-11- МЕРЫ БЕЗОПАСНОСТИ ЗАЩИТА ОТ ПЕРЕГРЕВА Встроенный температурный датчик контролирует температуру внутри варочной панели. Когда фиксируется избыточная температура, варочная панель отключается автоматически. ОСТАТОЧНОЕ ТЕПЛО! Если варочная панель работала в течение некоторого времени, варочные зоны...
Страница 13 - ТЕХНИЧЕСКИЕ ДАННЫЕ; РАСШИФРОВКА АББРЕВИАТУР; BK; SM
ТЕХНИЧЕСКИЕ ДАННЫЕ HV64SMDBK РАСШИФРОВКА АББРЕВИАТУР 6/3 – ШИРИНА МОДЕЛИ 60 см / 30 см -12- 2/4 – КОЛИЧЕСТВО КОНФОРОК BK – B LACK – ЧЕРНОЕ СТЕКЛО V - V ITRUM C ERAMICS – КЕРАМИЧЕСКОЕ C ТЕКЛО www.homsair.ru Н - H OB – ПАНЕЛЬ SM – SEMI MOON – ОВАЛЬНАЯ ЗОНА D – DOUBLE ZONE – ДВОЙНАЯ ЗОНА
Страница 14 - ЭКОЛОГИЧЕСКОЕ ПРЕДУПРЕЖДЕНИЕ; ХАРАКТЕРИСТИКИ
ТЕХНИЧЕСКИЕ ДАННЫЕ ЭКОЛОГИЧЕСКОЕ ПРЕДУПРЕЖДЕНИЕ После установки изделия, пожалуйста, выбрасывайте упаковочный материал, принимая во внимание условия безопасности и охраны окружающей среды . Для повторного использования выброшенного упаковочного материала, выбрасывайте его в специально предусмотренны...
Страница 15 - ДАННЫЕ ПО ЭНЕРГОПОТРЕБЛЕНИЮ; ТИП КОНФОРОК; Для снижения воздействия на окружающую среду при
ДАННЫЕ ПО ЭНЕРГОПОТРЕБЛЕНИЮ ХАРАКТЕРИСТИКИ ЗНАЧЕНИЕ ЗНАЧЕНИЕ ЗНАЧЕНИЕ НАИМЕНОВАНИЕ МОДЕЛИ HV64BK; HV64 ХХ HV64SMDBK HV64 ХХ XXX HV32BK HV32XX ТИП ПОВЕРХНОСТИ Электрическая, стеклокерамика ТИП КОНФОРОК Hi- Light быстрого нагрева НОМИНАЛЬНАЯ МОЩНОСТЬ КОНФОРОК 2 х 1 8 00 Вт 2 х 1200 Вт 1 х 900/1100 Вт ...
Страница 16 - ОПИСАНИЕ ПРИБОРА; ВАРОЧНАЯ ПАНЕЛЬ
1. Варочная зона Ø 165 мм 2. Варочная зона Ø 140 / 200 мм 3. Варочная зона Ø 165 / 270 мм 4. Варочная зона Ø 165 мм 5 . Стеклокерамическая поверхность. 6 . Панель управления. ОПИСАНИЕ ПРИБОРА -15- 1 2 3 4 6 ВАРОЧНАЯ ПАНЕЛЬ HV64SMDBK 5 www.homsair.ru
Страница 18 - Выбор зоны расширения.; СЕНСОРНАЯ ПАНЕЛЬ УПРАВЛЕНИЯ
ОПИСАНИЕ ПРИБОРА -17- 6 1. Сенсор выбора зоны нагрева. 2. Дисплей мощности 3. Выбор зоны расширения. 4. Выбор мощности нагрева. 5. Дисплей таймера. 6. Блокировка панели. 7. Сенсор Вкл./Выкл. 6. Сенсор выбора двойной зоны. СЕНСОРНАЯ ПАНЕЛЬ УПРАВЛЕНИЯ (HV64SMDBK / 64BK) 3 2 1 5 4 www.homsair.ru 8 7 1 ...
Страница 21 - ИСПОЛЬЗОВАНИЕ СЕНСОРНОЙ ПАНЕЛИ
ОПИСАНИЕ ПРИБОРА -20- ИСПОЛЬЗОВАНИЕ СЕНСОРНОЙ ПАНЕЛИ Ваша варочная панель оснащена электронным управлением с чувствительными сенсорными кнопками. Органы управления реагируют на касание, нет необходимости прикладывать усилие. • Используйте подушечку пальца, а не его кончик. • При касании пальцем кноп...
Страница 22 - СИМВОЛЫ ДИСПЛЕЯ; СИМВОЛ
ОПИСАНИЕ ПРИБОРА -21- СИМВОЛЫ ДИСПЛЕЯ СИМВОЛ ЗНАЧЕНИЕ ФУНКЦИЯ 0 Ноль Включение конфорки. 1 … 9 Уровень мощности Задание уровня нагрева конфорки . А Ускорение нагрева Автоматическое приготовление пищи. Е Символ ошибки сети Неисправность электрической сети/ электроники. F Символ об ошибке Неисправност...
Страница 23 - ВЫБОР ПОСУДЫ; ВЫБОР ПОСУДЫ ДЛЯ СТЕКЛОКЕРАМИЧЕСКОЙ ВАРОЧНОЙ
ВЫБОР ПОСУДЫ -22- ВЫБОР ПОСУДЫ ДЛЯ СТЕКЛОКЕРАМИЧЕСКОЙ ВАРОЧНОЙ ПАНЕЛИ Не используйте посуду с неровными краями и изогнутым дном. Убедитесь, что поверхность дна посуды гладкая, плотно прилегает к стеклу, а диаметр дна такой же, как диаметр варочной зоны. Всегда ставьте посуду по центру варочной зоны....
Страница 24 - ИНФОРМАЦИЯ; ПЕРЕД ПЕРВЫМ ВКЛЮЧЕНИЕМ
ИНФОРМАЦИЯ -23- ПЕРЕД ПЕРВЫМ ВКЛЮЧЕНИЕМ Сначала следует тщательно очистить керамическую панель. Протрите ее влажной тряпкой, после чего тщательно высушите поверхность. Не используйте моющие средства, которые могут вызвать появление синего оттенка стеклокерамической поверхности. • Выполнить действия ...
Страница 25 - ИСПОЛЬЗОВАНИЕ ПРИБОРА; НАЧАЛО ПРОЦЕССА ПРИГОТОВЛЕНИЯ
ИСПОЛЬЗОВАНИЕ ПРИБОРА -24- НАЧАЛО ПРОЦЕССА ПРИГОТОВЛЕНИЯ После подключения питания, раздастся однократный звуковой сигнал, индикаторы загорятся на секунду и погаснут. Это означает, что варочная поверхность находиться в режиме готовности. 1. Коснитесь на панели управления кнопки Вкл./ Выкл. На диспле...
Страница 26 - ИСПОЛЬЗОВАНИЕ ПРИБОРА; ВЫКЛЮЧЕНИЕ ВАРОЧНОЙ ПАНЕЛИ; Опасность ожога и пожара!
-25- ИСПОЛЬЗОВАНИЕ ПРИБОРА ВЫКЛЮЧЕНИЕ ВАРОЧНОЙ ПАНЕЛИ Выключите варочную зону, когда закончите процесс приготовления пищи нажимая кнопку « - » , установите уровень мощности варочной зоны на «0». Затем отключите прибор нажатием кнопки Вкл./Выкл. на панели управления в течении 3 сек. На дисплее мощнос...
Страница 27 - ИСПОЛЬЗОВАНИЕ ДВОЙНЫХ ЗОН РАСШИРЕНИЯ
-26- www.maunfeld.ru ИСПОЛЬЗОВАНИЕ ПРИБОРА ИСПОЛЬЗОВАНИЕ ДВОЙНЫХ ЗОН РАСШИРЕНИЯ На варочной панели есть конфорка с зоной расширения. Это позволяет лучше адаптировать нагревательную поверхность к основанию кастрюли. Расширенная зона работает тогда, когда включена внутренняя конфорка. Для включения зо...
Страница 28 - ФУНКЦИЯ БЫСТРОГО НАГРЕВА; Пример
-27- www.maunfeld.ru ИСПОЛЬЗОВАНИЕ ПРИБОРА ФУНКЦИЯ БЫСТРОГО НАГРЕВА Ваша поверхность имеет функцию быстрого нагрева. Для активации этой функции необходимо: • Нажмите кнопку «+» или « - », чтобы установить мощность на уровень 9, затем нажмите кнопку «+», чтобы на дисплее попеременно отображались « A»...
Страница 29 - БЛОКИРОВКА ПАНЕЛИ УПРАВЛЕНИЯ; Чтобы заблокировать панель управления:
-28- ИСПОЛЬЗОВАНИЕ ПРИБОРА БЛОКИРОВКА ПАНЕЛИ УПРАВЛЕНИЯ Панель управления можно заблокировать для предотвращения её несанкционированного использования (например, чтобы дети случайно не включили варочную зону). Пока панель управления заблокирована, все кнопки кроме «Вкл./Выкл.» не будут реагировать н...
Страница 30 - ТАЙМЕР
-29- ИСПОЛЬЗОВАНИЕ ПРИБОРА ТАЙМЕР Вы можете использовать таймер для удобства приготовления. Он может быть использован одновременно со всеми зонами нагрева при различных установленных промежутках времени (от 0 до 99 минут) для каждой зоны нагрева. Если не выбрана ни одна из варочных зон. 1. Убедитесь...
Страница 32 - УСТАНОВКА ВРЕМЕНИ РАБОТЫ НЕСКОЛЬКИХ ВАРОЧНЫХ
-31- ИСПОЛЬЗОВАНИЕ ПРИБОРА УСТАНОВКА ВРЕМЕНИ РАБОТЫ НЕСКОЛЬКИХ ВАРОЧНЫХ ЗОН Если функция применяется для нескольких зон нагрева, на дисплее таймера отображается наименьшее оставшееся время. Например: если для зоны № 2 задано время 3 минуты, для зоны № 3 задано время 6 минут, дисплей таймера будет по...
Страница 33 - УСТАНОВКА ВРЕМЕНИ РАБОТЫ ОДНОЙ ВАРОЧНОЙ ЗОНЫ
-32- ИСПОЛЬЗОВАНИЕ ПРИБОРА УСТАНОВКА ВРЕМЕНИ РАБОТЫ ОДНОЙ ВАРОЧНОЙ ЗОНЫ 1. Нажмите кнопку выбора варочной зоны, для которой хотите установить данную функцию. 2. Нажмите кнопку таймера, на дисплее таймера отобразится «30». 3. Установите значение таймера с помощью кнопок « - » или «+». 4. После устано...
Страница 34 - УРОВНИ МОЩНОСТИ
-33- ИСПОЛЬЗОВАНИЕ ПРИБОРА УРОВНИ МОЩНОСТИ Приведённые ниже настройки носят только рекомендательный характер. Точная настройка будет зависеть от нескольких факторов, в том числе от вашей посуды и объёма пищи, который вы готовите. Поэкспериментируйте с вашей варочной панелью, чтобы определить настрой...
Страница 35 - СОВЕТЫ ПО ПРИГОТОВЛЕНИЮ
-34- ИСПОЛЬЗОВАНИЕ ПРИБОРА СОВЕТЫ ПО ПРИГОТОВЛЕНИЮ • По достижении точки кипения уменьшите уровень мощности. • Использование крышки сократит продолжительность приготовления и сэкономит электроэнергию благодаря сохранению тепла. • Сведите до минимума используемое количество жидкости или жира, чтобы с...
Страница 36 - УСТРАНЕНИЕ НЕПОЛАДОК; РЕШЕНИЕ ПРОБЛЕМ; Проблема
-35- УСТРАНЕНИЕ НЕПОЛАДОК РЕШЕНИЕ ПРОБЛЕМ Проблема Возможные причины Способ устранения Варочная панель или конфорка не включается • Варочная панель неправильно подключена к сети электропитания. • Перегорел защитный предохранитель. • Оборудование заблокировано. • Сенсорные кнопки намокли или покрыты ...
Страница 38 - УХОД ЗА ВАРОЧНОЙ ПАНЕЛЬЮ; ЧИСТКА ПОСЛЕ КАЖ ДОГО ПОЛЬЗОВАНИЯ; существует опасность ожога.
УХОД ЗА ВАРОЧНОЙ ПАНЕЛЬЮ -37- Постоянное содержание пользователем плиты в чистоте, а также правильный уход за ней, значительно влияют на продолжительность срока её безаварийного действия. При чистке керамики необходимо соблюдать те же принципы, что и при чистке стеклянных поверхностей. Ни в коем слу...
Страница 39 - УСТАНОВКА ВАРОЧНОЙ ПАНЕЛИ; ПОДГОТОВКА ДЛЯ МОНТАЖА И УСТАНОВКИ ВАРОЧНОЙ
УСТАНОВКА ВАРОЧНОЙ ПАНЕЛИ -38- ПОДГОТОВКА ДЛЯ МОНТАЖА И УСТАНОВКИ ВАРОЧНОЙ ПАНЕЛИ Установку могут проводить только квалифицированные специалисты. • Установщик обязан следовать действующему законодательству и правилам, принятым в стране. • Вырежьте нишу в столешнице согласно размерам на приведённом р...
Страница 40 - ПОРЯДОК КРЕПЛЕНИЯ И УСТАНОВКИ СКОБ
УСТАНОВКА ВАРОЧНОЙ ПАНЕЛИ -39- ПОРЯДОК КРЕПЛЕНИЯ И УСТАНОВКИ СКОБ 1. При помощи коротких шурупов привинтите 4 фиксирующие скобы в отверстиях, расположенных по бокам варочной панели; 2. Поставляемое в комплекте с варочной панелью уплотнение служит для предотвращения попадания жидкости в столешницу. У...
Страница 41 - ОБЕСПЕЧЕНИЕ ЗАЗОРОВ ПРИ УСТАНОВКЕ НАД
Под низом столешницы надо оставить не менее 25 мм свободной поверхности – это необходимо для обеспечения циркуляции воздуха и во избежание перегрева поверхности вокруг кухонной плиты. УСТАНОВКА ВАРОЧНОЙ ПАНЕЛИ -40- ОБЕСПЕЧЕНИЕ ЗАЗОРОВ ПРИ УСТАНОВКЕ НАД КУХОННЫМ ЯЩИКОМ www.homsair.ru
Страница 45 - ПОДКЛЮЧЕНИЕ К ЭЛЕКТРОСЕТИ
-44- Подключение к электросети может выполнить только квалифицированный специалист с соответствующим разрешением, которые должен неукоснительно соблюдать действующие нормы и стандарты. Запрещается самостоятельно переделывать и изменять электрические соединения. Подключение, несоответствующее схеме э...
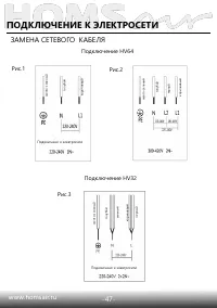
Страница 47 - Для модели; ЗАМЕНА СЕТЕВОГО КАБЕЛЯ
-46- ПОДКЛЮЧЕНИЕ К ЭЛЕКТРОСЕТИ www.homsair.ru • Этот прибор должен быть подключен к двухполюсному плавленому выходу 30 A, имеющему 3 - мм контактное разделение и размещенному в легкодоступном месте рядом с прибором. Он не должен располагаться над прибором и не более 1,25 м от него. • Кабель можно за...
Страница 50 - ТЕХНИЧЕСКОЕ ОБСЛУЖИВАНИЕ; ИНФОРМАЦИЯ О ТРАНСПОРТИРОВКЕ
ТЕХНИЧЕСКОЕ ОБСЛУЖИВАНИЕ -49- ИНФОРМАЦИЯ О ТРАНСПОРТИРОВКЕ • Храните оригинальную упаковку. • Перевозите в оригинальной упаковке, придерживайтесь требований указательных знаков по транспортировке, имеющихся на упаковке. • Если оригинальная упаковка отсутствует, то примите меры, чтобы уберечь Ваш при...
Страница 51 - СЕРВИСНОЕ ОБСЛУЖИВАНИЕ; СЕРВИСНОЕ ОБСЛУЖИВАНИЕ ПОСЛЕ ПРОДАЖИ; Просим вас придерживаться следующих мер:
СЕРВИСНОЕ ОБСЛУЖИВАНИЕ -50- СЕРВИСНОЕ ОБСЛУЖИВАНИЕ ПОСЛЕ ПРОДАЖИ Просим вас придерживаться следующих мер: 1. При покупке товара требуйте, чтобы продавец поставил свою отметку в гарантийном талоне . 2. Используйте свое изделие в соответствии с инструкциями по эксплуатации . 3. Если у Вас возникнут во...
Страница 52 - ИНФОРМАЦИЯ ОТ ПРОИЗВОДИТЕЛЯ; XXXXXXXXXXXX
Каждая варочная панель HOMSair имеет уникальный серийный номер. Серийный номер указан на бирке, распложённой на нижней части варочной панели. Дата производства изделия указана в серийном номере изделия. Серийный номер состоит из букв и цифр: Пример: ИНФОРМАЦИЯ ОТ ПРОИЗВОДИТЕЛЯ -51- Торговая марка HO...