Холодильник Smeg WF354LX - инструкция пользователя по применению, эксплуатации и установке на русском языке. Мы надеемся, она поможет вам решить возникшие у вас вопросы при эксплуатации техники.
Если остались вопросы, задайте их в комментариях после инструкции.
"Загружаем инструкцию", означает, что нужно подождать пока файл загрузится и можно будет его читать онлайн. Некоторые инструкции очень большие и время их появления зависит от вашей скорости интернета.

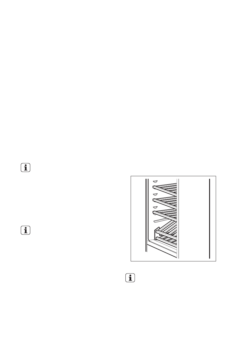
Укладка винных бутылок
Температура может устанавливаться от
+ 6°C до + 16°C.
Этот отсек идеально подходит для
хранения и облагораживания красных
или белых вин в течение длительного
времени.
• Располагайте бутылки таким
образом, чтобы вино касалось
пробки.
• Храните вино в темноте. На случай,
если прибор будет установлен в
хорошо освещенном месте, в дверце
используется двойное тонированное
стекло с фильтрацией УФ-излучения.
• Не включайте подсветку прибора
слишком часто или слишком
надолго. Вино лучше хранится в
темноте.
• Обращайтесь с бутылками
осторожно, чтобы не взбалтывать
вино.
Следуйте рекомендациям и
указаниям, полученным при
покупке или содержащиеся в
технической документации в
отношении качества,
продолжительности и
оптимальной температуры
хранения вина.
Циркуляция воздуха
• На накрывайте полки
каким бы то ни было
защитным материалом,
например, пленкой,
картоном или пластиком.
Это может затруднить
прохождение через них
воздуха.
• Не кладите бутылки
вплотную к задней стенке
корпуса. Это затруднит
воздухообмен вокруг них.
Рекомендация по хранению
Время хранения вина зависит от его
выдержки, сорта винограда,
содержания в нем алкоголя, фруктозы и
танина. В момент покупки проверьте,
имеет ли уже вино выдержку или оно
станет выдержанным с течением
времени.
Полки отделения для вин
Полки можно вынимать для очистки.
Отрегулируйте полки следующим
образом:
• Длинные полки следует разместить
на горизонтальных направляющих.
• Используйте полкодержатель для
размещения в наклонном положении
только коротких полок. Во время
этой операции убедитесь, что задние
штифты правильно вставлены в
направляющие.
• Конструкцию полкодержателя
следует поместить на дно корпуса.
Используйте полкодержатель
для размещения в наклонном
положении только коротких
полок.
37












