Холодильник Smeg C7280NEP - инструкция пользователя по применению, эксплуатации и установке на русском языке. Мы надеемся, она поможет вам решить возникшие у вас вопросы при эксплуатации техники.
Если остались вопросы, задайте их в комментариях после инструкции.
"Загружаем инструкцию", означает, что нужно подождать пока файл загрузится и можно будет его читать онлайн. Некоторые инструкции очень большие и время их появления зависит от вашей скорости интернета.

5 cm
min.
200 cm
2
min.
200 cm
2
ОСТОРОЖНО! При
установке см. указания по
сборке.
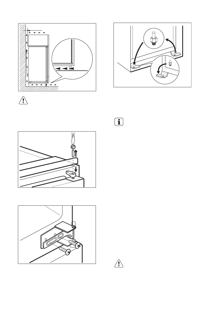
Перевешивание дверцы
1. Открутите и извлеките верхнюю ось.
2. Снимите верхнюю дверцу.
3. Снимите прокладку.
4. Ослабьте среднюю петлю.
5. Снимите нижнюю дверцу.
6. Открутите и извлеките нижнюю ось.
7. Затяните нижнюю ось на
противоположной стороне.
8. Установите нижнюю дверцу.
9. Затяните среднюю петлю.
10. Установите прокладку.
11. Установите верхнюю дверцу.
12. Затяните верхнюю ось.
В завершение проверьте,
чтобы:
• Все винты были затянуты.
• Магнитная прокладка
прилегала к корпусу.
• Дверца как следует
открывалась и
закрывалась.
При низкой температуре в
помещении (т.е. зимой)
прокладка может неплотно
прилегать к корпусу. В таком
случае дождитесь
естественной усадки
прокладки по месту.
В случае нежелания
выполнять вышеописанные
операции самостоятельно
можно обратиться в
ближайший авторизованный
сервисный центр.
Специалист авторизованного
сервисного центра перевесит
дверцу за отдельную плату.
Установка прибора
ОСТОРОЖНО! Убедитесь,
что перемещение сетевого
шнура не затруднено.
1. Если необходимо, отрежьте и
прикрепите самоклеющуюся
34