Холодильник Smeg C3180FP - инструкция пользователя по применению, эксплуатации и установке на русском языке. Мы надеемся, она поможет вам решить возникшие у вас вопросы при эксплуатации техники.
Если остались вопросы, задайте их в комментариях после инструкции.
"Загружаем инструкцию", означает, что нужно подождать пока файл загрузится и можно будет его читать онлайн. Некоторые инструкции очень большие и время их появления зависит от вашей скорости интернета.

Клима
тическ
ий
класс
Температура окружающей
среды
N
от +16°C до + 32°C
ST
от +16°C до + 38°C
T
от +16°C до + 43°C
При работе за рамками
данного диапазона у ряда
моделей могут наблюдаться
определенные проблемы с
функционированием.
Надлежащая работа может
быть гарантирована только в
рамках заданного диапазона
температур. В случае
сомнений при выборе места
установки прибора
обратитесь в место продажи,
в авторизованный сервисный
центр или в ближайший
центр обслуживания.
Подключение к электросети
• Перед включением прибора в сеть
удостоверьтесь, что напряжение и
частота, указанные в табличке с
техническими данными,
соответствуют параметрам
домашней электрической сети.
• Прибор должен быть заземлен. Для
этого вилка сетевого кабеля имеет
специальный контакт заземления.
Если розетка электрической сети не
заземлена, выполните отдельное
заземление прибора в соответствии
с действующими нормами, поручив
эту операцию квалифицированному
электрику.
• Изготовитель снимает с себя всякую
ответственность в случае
несоблюдения вышеуказанных
правил техники безопасности.
• Данный прибор соответствует
Директивам ЕСС.
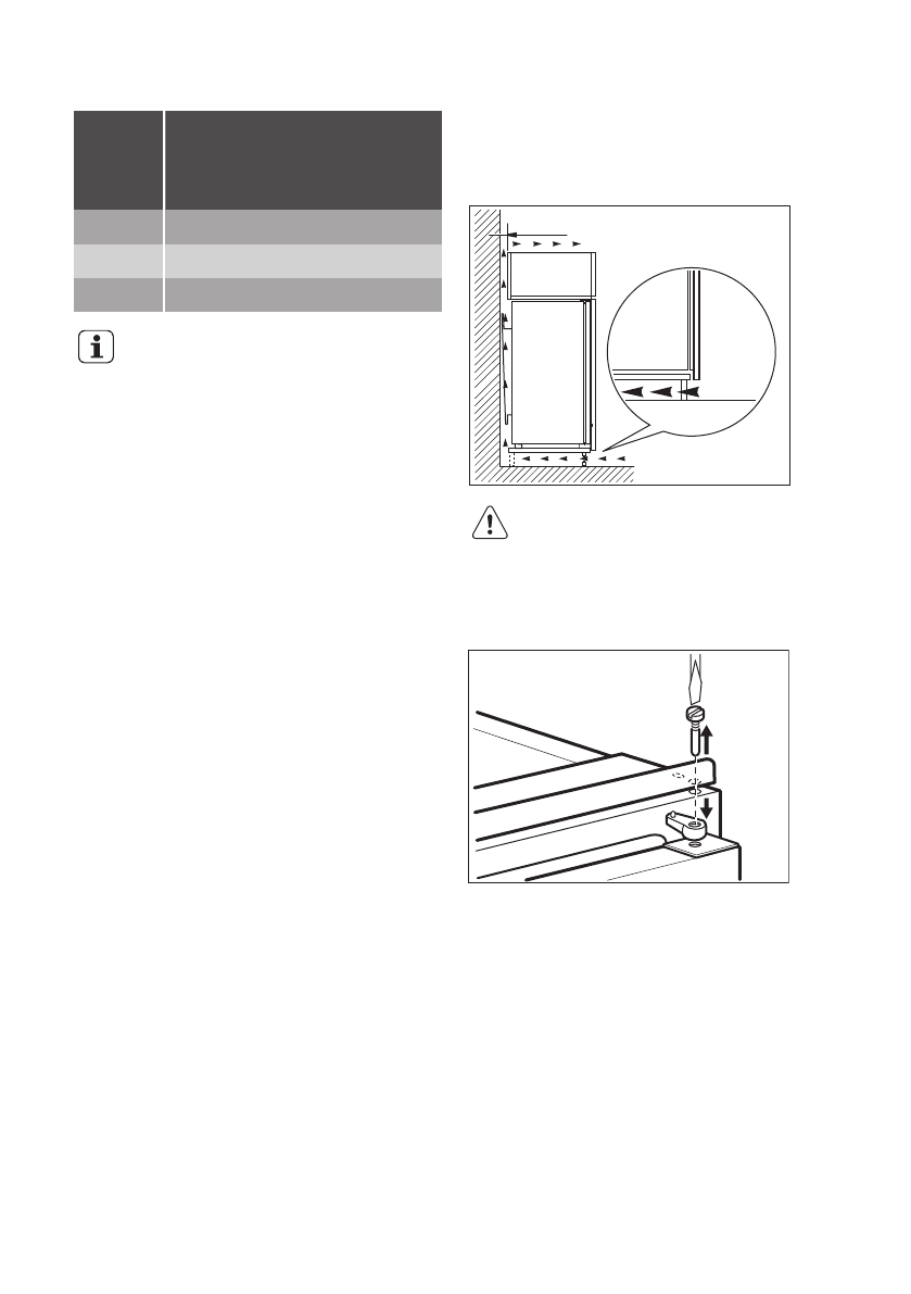
Требования к вентиляции
Необходимо обеспечить достаточную
циркуляцию воздуха с задней стороны
прибора.
5 cm
min.
200 cm
2
min.
200 cm
2
ОСТОРОЖНО! При
установке см. указания по
сборке.
Перевешивание дверцы
1. Открутите и извлеките верхнюю ось.
2. Снимите верхнюю дверцу.
3. Снимите прокладку.
4. Ослабьте среднюю петлю.
53