Холодильник Саратов 505-02 КШ-120 Белый - инструкция пользователя по применению, эксплуатации и установке на русском языке. Мы надеемся, она поможет вам решить возникшие у вас вопросы при эксплуатации техники.
Если остались вопросы, задайте их в комментариях после инструкции.
"Загружаем инструкцию", означает, что нужно подождать пока файл загрузится и можно будет его читать онлайн. Некоторые инструкции очень большие и время их появления зависит от вашей скорости интернета.

9
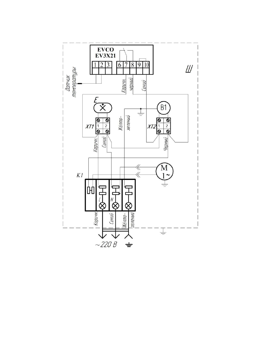
Рисунок 3 – Схема электрических соединений
Для холодильников с электронным контроллером температуры
«Саратов» - 502-02
Ш - шкаф; К1 - реле пускозащитное; EV3X21 - контроллер
температуры; М - мотор-компрессор; Е - светильник;
ХТ1, ХТ2 - клеммные колодки; В - вентилятор.
*Примечание: Цвет проводов может отличаться от указанных в схеме.
6.
Подготовка к работе
6.1.
Перед
пользованием
холодильником
необходимо
выполнить следующие работы:
установить опоры;
Содержание
- 4 Комплектность; Наименование; Требования безопасности
- 6 Устройство холодильника
- 8 Рисунок 2 – Схема электрических соединений; Для холодильников с датчиком-реле температуры; *Примечание: Цвет проводов может отличаться от указанных в схеме.
- 9 Рисунок 3 – Схема электрических соединений; Для холодильников с электронным контроллером температуры; Подготовка к работе; Перед
- 11 при установке температуры на табло эл. контроллера; Блокировка/разблокировка клавиатуры; Loc; Включение/выключение прибора
- 12 В холодильнике могут быть слышны щелчки
- 14 Возможные неисправности и методы их устранения; Перечень возможных неисправностей и методы их устранения
- 16 Утилизация
- 17 Продан магазином; Установлен; ЕШ
- 23 холодильников, морозильников «Саратов»








