Холодильник Саратов 502-01 - инструкция пользователя по применению, эксплуатации и установке на русском языке. Мы надеемся, она поможет вам решить возникшие у вас вопросы при эксплуатации техники.
Если остались вопросы, задайте их в комментариях после инструкции.
"Загружаем инструкцию", означает, что нужно подождать пока файл загрузится и можно будет его читать онлайн. Некоторые инструкции очень большие и время их появления зависит от вашей скорости интернета.

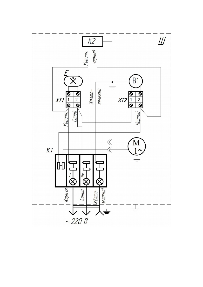
Рисунок 2 – Схема электрических соединений
Для холодильников с датчиком-реле температуры
«Саратов» - 502-01»
Ш - шкаф; К1 - реле пускозащитное; К2 - датчик - реле
температуры; М - мотор-компрессор; Е - светильник;
ХТ1, ХТ2 - клеммные колодки; В - вентилятор.
*Примечание: Цвет проводов может отличаться от указанных в схеме.
9
Содержание
- 3 нарушение электропроводки холодильника; Технические данные
- 7 Устройство холодильника
- 9 Рисунок 2 – Схема электрических соединений; Для холодильников с датчиком-реле температуры; *Примечание: Цвет проводов может отличаться от указанных в схеме.
- 10 Рисунок 3 – Схема электрических соединений; Для холодильников с электронным контроллером температуры; Подготовка к работе; Перед пользованием холодильником необходимо
- 12 при установке температуры на табло эл. контроллера; Блокировка/разблокировка клавиатуры; Loc; Включение/выключение прибора
- 16 Свидетельство о приемке и продаже; Гарантии изготовителя
- 17 Утилизация; отсоединить вилку от сети и перерезать провод
- 18 Продан магазином; Установлен; Пущен в работу механиком; Механик; Владелец холодильника
- 19 Установить опоры, выставить холодильник в устойчивое
- 24 холодильников, морозильников «Саратов»
- 29 service








