Холодильник Samsung RT42CB662022UA - инструкция пользователя по применению, эксплуатации и установке на русском языке. Мы надеемся, она поможет вам решить возникшие у вас вопросы при эксплуатации техники.
Если остались вопросы, задайте их в комментариях после инструкции.
"Загружаем инструкцию", означает, что нужно подождать пока файл загрузится и можно будет его читать онлайн. Некоторые инструкции очень большие и время их появления зависит от вашей скорости интернета.

Operaţii
Română
36
Oper
aţii
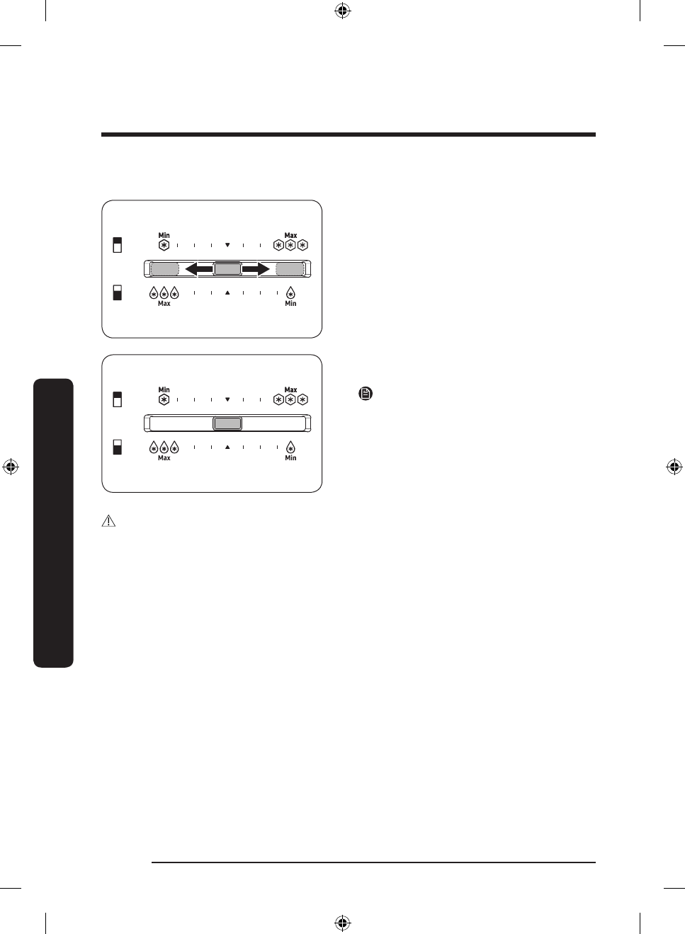
Congelator - Analog
• Pentru a creşte temperatura, glisaţi butonul de
control al temperaturii spre stânga.
• Pentru a reduce temperatura, glisaţi butonul de
control al temperaturii spre dreapta. În timpul
iernii, glisaţi controlul temperaturii spre capătul
din dreapta.
Pentru a produce gheaţă vara (peste 35 °C), setaţi
temperatura congelatorului la nivelul central.
NOTĂ
Dacă dispozitivul automat de produs gheaţă
nu produse suficientă gheaţă, glisaţi controlul
temperaturii spre dreapta.
ATENŢIE
• Pentru a preveni defectarea sistemului sau stricarea alimentelor, nu setaţi temperatura la capătul din
dreapta (maximum) în timpul verii (peste 35 °C).
• Nu depozitaţi sticle ce conţin lichide în congelator. Sticlele se vor crăpa sau se vor sparge în bucăţi când
îngheaţă lichidul.
Untitled-2 36
2023-03-22 7:32:42
Характеристики
Остались вопросы?Не нашли свой ответ в руководстве или возникли другие проблемы? Задайте свой вопрос в форме ниже с подробным описанием вашей ситуации, чтобы другие люди и специалисты смогли дать на него ответ. Если вы знаете как решить проблему другого человека, пожалуйста, подскажите ему :)












