Холодильник Samsung RR39M7140SA - инструкция пользователя по применению, эксплуатации и установке на русском языке. Мы надеемся, она поможет вам решить возникшие у вас вопросы при эксплуатации техники.
Если остались вопросы, задайте их в комментариях после инструкции.
"Загружаем инструкцию", означает, что нужно подождать пока файл загрузится и можно будет его читать онлайн. Некоторые инструкции очень большие и время их появления зависит от вашей скорости интернета.

Русский 43
Обс
лу
живание
Пошаговые инструкции
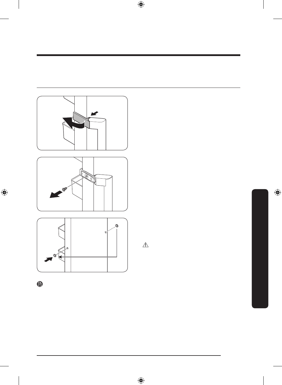
ШАГ 1
Снятие ручки
1.
Разблокируйте
заглушку ручки
и отложите ее в
сторону.
2.
Удалите все винты сверху и снизу ручки.
3.
Удалите
заглушки винтов ручки
(2 шт.) с помощью
плоской отвертки. Затем вставьте
заглушки
винтов ручки
с противоположной стороны
дверцы.
ВНИМАНИЕ
Вынимая
заглушки винтов ручки
, соблюдайте
осторожность во избежание ее механического
повреждения.
ПРИМЕЧАНИЕ
Отложите ручку в безопасное место для дальнейшего использования.
Untitled-7 43
2018-04-26 11:21:04
Содержание
- 3 • Перед эксплуатацией вашего холодильника Samsung внимательно
- 4 • Предупреждения и важные инструкции по безопасности,
- 5 • Не включайте устройство, если оно имеет какие-либо
- 6 Важные знаки безопасности и меры предосторожности:; получению серьезной травмы, повреждению; ВНИМАНИЕ; получению серьезной травмы и/или; ПРИМЕЧАНИЕ
- 7 ПРЕДУПРЕЖДЕНИЕ; • При перевозке и установке устройства соблюдайте осторожность,; Важные замечания по установке; • Не устанавливайте холодильник в помещении с высокой
- 12 Меры предосторожности при установке
- 17 Замечания по использованию
- 18 Меры предосторожности при эксплуатации
- 20 Меры предосторожности при очистке
- 21 Важные замечания по утилизации
- 22 • Перед утилизацией холодильника снимите дверцу/уплотнители
- 23 Дополнительные советы по надлежащему использованию
- 24 Советы по экономии энергии
- 25 • кухнях для персонала в магазинах, офисах и других рабочих
- 26 Установка; Краткий обзор холодильника
- 27 Пошаговая установка; Выбор места
- 30 Соединение WiFi
- 31 Напольное покрытие
- 32 Регулировка выравнивающих ножек
- 33 Первоначальные настройки; Окончательная проверка
- 38 Samsung Smart Home; Страница холодильника
- 40 Особенности; Диспенсер воды (только в соответствующих моделях)
- 42 Обслуживание; Перестановка дверец (только в соответствующих моделях); Необходимые инструменты (не входят в комплект поставки)
- 43 Пошаговые инструкции
- 44 Демонтаж дверцы холодильной камеры
- 48 Перестановка механизма автоматического закрывания
- 49 Перестановка нижней петли
- 50 Установка дверцы холодильной камеры на место
- 58 Установка ручки на место
- 59 Использование и уход; Складывающаяся полка; Дверные лотки
- 60 Очистка; Внутренняя и наружная часть; Замена деталей; Светодиодные лампы
- 61 Установка бок о бок; Монтажный комплект
- 62 Инструкция по установке
- 64 Устранение неисправностей; Общие неисправности; Температура
- 65 Запах
- 66 Холодильник издает странные звуки?; Следующие звуки являются нормальными.













