Холодильник Samsung RB37K63411L - инструкция пользователя по применению, эксплуатации и установке на русском языке. Мы надеемся, она поможет вам решить возникшие у вас вопросы при эксплуатации техники.
Если остались вопросы, задайте их в комментариях после инструкции.
"Загружаем инструкцию", означает, что нужно подождать пока файл загрузится и можно будет его читать онлайн. Некоторые инструкции очень большие и время их появления зависит от вашей скорости интернета.

Русский 59
Обс
лу
живание
3
1
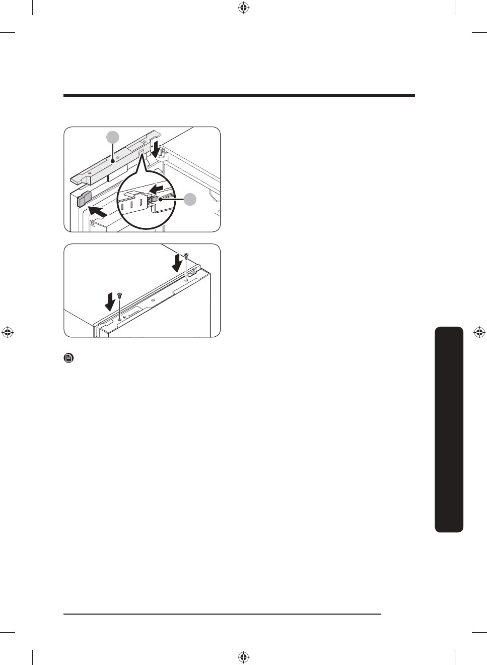
Только для моделей
RB37
со стеклянными дверцами
12.
Подсоедините
соединитель PBA
интеллектуального устройства (3)
. Вставьте в
дверцу холодильной камеры дополнительную
заглушку (L)
. Затем нажмите на
крышку
проводов (1)
, чтобы закрыть ее.
• Закройте дверцу холодильной камеры и затяните
винты вверху дверцы.
ПРИМЕЧАНИЕ
Возможно, вам понадобится переставить дверцы в исходное положение. В этом случае следуйте приведенным
выше инструкциям, однако поменяйте местами дверцы, петли, крышки и заглушки, чтобы вернуть их в исходное
положение.
Untitled-11 59
9/21/2017 12:19:45 PM
Характеристики
Остались вопросы?Не нашли свой ответ в руководстве или возникли другие проблемы? Задайте свой вопрос в форме ниже с подробным описанием вашей ситуации, чтобы другие люди и специалисты смогли дать на него ответ. Если вы знаете как решить проблему другого человека, пожалуйста, подскажите ему :)












