Холодильник Samsung RB37K6221S4 - инструкция пользователя по применению, эксплуатации и установке на русском языке. Мы надеемся, она поможет вам решить возникшие у вас вопросы при эксплуатации техники.
Если остались вопросы, задайте их в комментариях после инструкции.
"Загружаем инструкцию", означает, что нужно подождать пока файл загрузится и можно будет его читать онлайн. Некоторые инструкции очень большие и время их появления зависит от вашей скорости интернета.

O'zbek
59
Xizmat k
o‘r
satish
3
1
Faqat
RB37
shisha eshikli modellarda
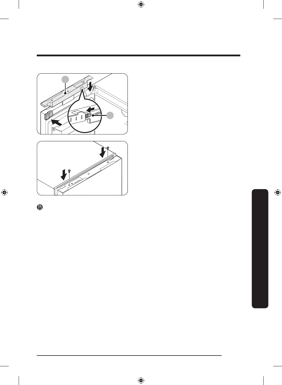
12.
Kalit PBA ulagichini (3)
ulang. Qo‘shimcha
bo‘shliq qoplamasini (L)
muzlatgich eshigiga
kirgizing. Keyin
sim qoplamasini (1)
yopish
uchun bosing.
• Muzlatgich eshigini yopib, eshikning
tepadagi burama mixlarini qotiring.
IZOH
Eshikni boshlang‘ich holatiga qaytarish kerak bo‘lishi mumkin (eshikni teskarilashdan oldin). Bu holda
yuqoridagi yo‘l-yo‘riqlarga qarab, eshiklar, oshiq-moshiqlar va qopqoqlarni boshlang‘ich holatiga
qaytaring.
Untitled-8 59
9/21/2017 12:12:42 PM