Холодильник Samsung RB-41J7751WW - инструкция пользователя по применению, эксплуатации и установке на русском языке. Мы надеемся, она поможет вам решить возникшие у вас вопросы при эксплуатации техники.
Если остались вопросы, задайте их в комментариях после инструкции.
"Загружаем инструкцию", означает, что нужно подождать пока файл загрузится и можно будет его читать онлайн. Некоторые инструкции очень большие и время их появления зависит от вашей скорости интернета.

Kazakhstan 19
Тоңа
зытқыш параме
тр
лерін орнат
у
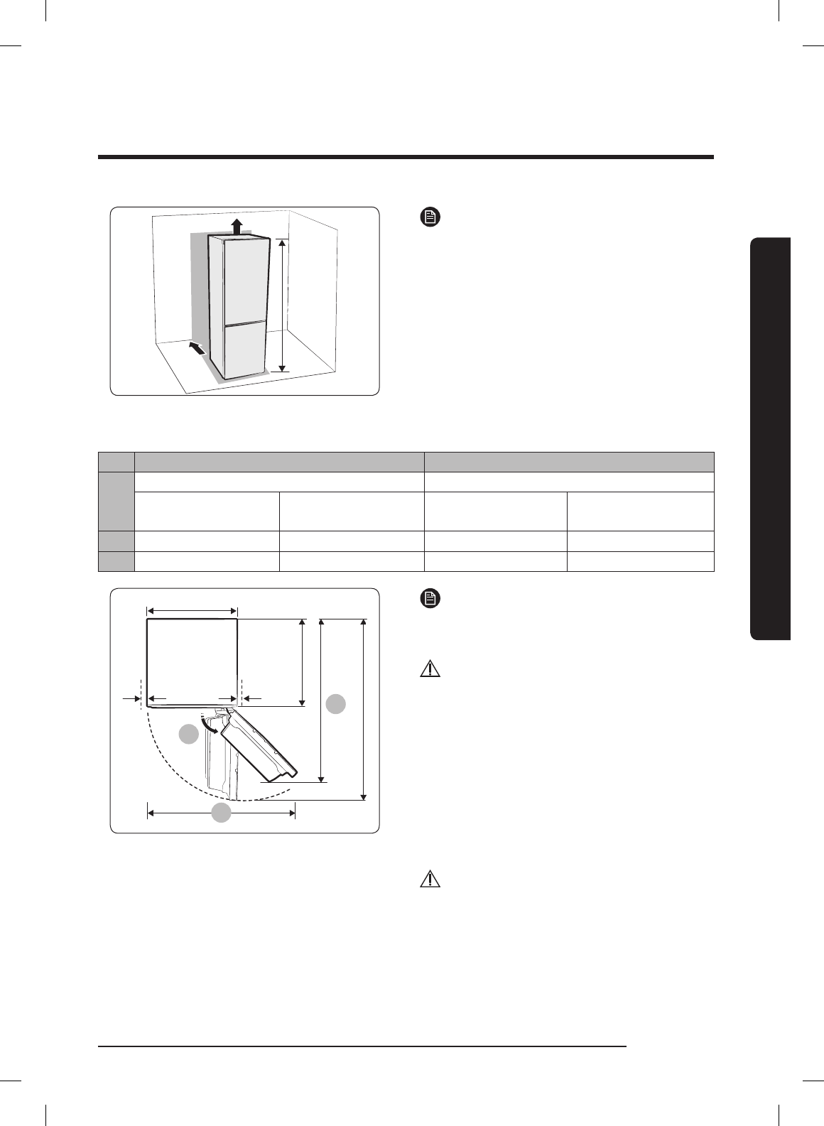
1 927 мм
немесе
2 017 мм
• Ауа айналу үшін оң, сол жақтарынан,
артқы жағы мен үстіңгі жағынан
жеткілікті орын қалдырыңыз.
Бұл қуатты аз пайдаланып,
электр қуаты төлемдерін азайтуға
көмектеседі.
• Тоңазытқышты температурасы 10 °C
градустан төмен түсетін жерге орнатпаңыз.
• Жөндеу немесе күтім көрсетуге қатысты
жұмыстарды жүзеге асыру кезінде
құрылғыны оңай жылжытуға болатын етіп
орнатыңыз.
RB41/38
RB36/33
a
155˚
100˚
ҰЯНЫҢ ТҰТҚАСЫ
ТОҢАЗЫТҚЫШ
ТҰТҚАСЫ
ҰЯНЫҢ ТҰТҚАСЫ
ТОҢАЗЫТҚЫШ
ТҰТҚАСЫ
A
900 мм
906 мм
1139 мм
1145 мм
B
1330 мм
1137 мм
688 мм
732 мм
a
B
A
595 мм
595 мм не
ме
се 535 мм
1212,2 мм (ТҰТҚА 1218,2 мм)
• Әр өлшем дизайн өлшеміне сай
келеді, сондықтан өлшеу тәсіліне
қарай әр түрлі болуы мүмкін.
АБАЙЛАҢЫЗ
Орнатқанда, тоңазытқышты артқы жағынан
жөндегенде немесе тазалағанда, құрылғыны
алға қарай тура тартып шығарып, жұмысты
аяқтағаннан кейін тура итеріп орнына
қойыңыз.
Сонымен қатар, еденнің тағам толып тұрған
тоңазытқыштың салмағын көтере алатынына
көз жеткізіңіз.
Әйтпесе, еденге зақым келуі мүмкін.
АБАЙЛАҢЫЗ
Қуат сымының артық қалған бөлігін, еденге
тиіп, тоңазытқышты жылжытқан кезде
дөңгелектері басып жаншып кетпес үшін,
тоңазытқыштың артқы жағына жинап, байлап
қойыңыз.
DA68-03174S-09.indb 19
2017. 9. 12. �� 10:39
Содержание
- 3 руководство и сохраните его для справки в будущем.
- 5 Строго следуйте указаниям.
- 6 Символы, предупреждающие о серьезной опасности при; чтобы избежать повреждения компонентов цепи охлаждения.; ПРЕДУПРЕЖДЕНИЕ; Символы, предупреждающие о серьезной опасности при установке; к пожару или поражению током.
- 9 ВНИМАНИЕ; Предостерегающие знаки, касающиеся установки; в монтажных конструкциях.; • Не трогайте сетевую вилку мокрыми руками.
- 13 Символы предостережения, касающиеся эксплуатации
- 14 Не помещайте бутылки или стеклянную тару в морозильную камеру.
- 15 Символы предостережения, касающиеся чистки и обслуживания
- 16 Предупреждающие символы для утилизации; • Оставьте полки на месте, чтобы детям было сложнее попасть внутрь
- 17 Дополнительные советы по надлежащей эксплуатации
- 18 Советы по экономии энергии; • Не оставляйте дверцу открытой в течение длительного времени при; Данное устройство предназначено для использования в бытовых и; в номерах с предоставлением завтрака
- 19 Установка холодильника; Подготовка к установке холодильника
- 22 Выравнивание холодильника; Ситуация 1
- 24 Использование холодильника; Использование панели управления; ТИП A; ТИП C
- 26 Power Freeze (Быстрое
- 27 Подсветка ручки (только в моделях ТИПА A и ТИПА C)
- 28 Сигнал при повышении температуры
- 29 Режим CHEF (элемент дополнительной комплектации)
- 30 Компоненты и особенности
- 32 Характеристики отделения заморозки; Табличка с правилами заморозки продуктов на дверце
- 34 Использование диспенсера воды (В зависимости от комплектации)
- 35 Круглая
- 36 Рычаг
- 37 Извлечение внутренних компонентов
- 39 Лотки дверец; Резервуар для воды (элемент дополнительной комплектации); Контейнер CHEF (элемент дополнительной комплектации)
- 40 Противень Chef (элемент дополнительной комплектации)
- 42 Очистка холодильника; Замена светодиодной лампы
- 43 Перестановка дверцы на противоположную; Не входит в комплект поставки
- 44 Перестановка ручки (только для моделей с НАКЛАДНОЙ РУЧКОЙ)
- 46 Перестановка дверцы на противоположную сторону
- 52 Порядок установки
- 57 Устранение неисправностей; НЕИСПРАВНОСТЬ
- 59 Монтажный комплект; Комплект для монтажа
- 60 Размеры; Рекомендуемые размеры для обеспечения энергосбережения; отверстие
- 61 Поверните переднюю опору по часовой
- 62 Размещение; Положите направляющие в дальние углы в шкафу.
- 68 Ограничения относительно температуры в помещении; Russian













