Miele K 31222 Ui - Инструкция по эксплуатации - Страница 19

Холодильник Miele K 31222 Ui - инструкция пользователя по применению, эксплуатации и установке на русском языке. Мы надеемся, она поможет вам решить возникшие у вас вопросы при эксплуатации техники.

Если остались вопросы, задайте их в комментариях после инструкции.

"Загружаем инструкцию", означает, что нужно подождать пока файл загрузится и можно будет его читать онлайн. Некоторые инструкции очень большие и время их появления зависит от вашей скорости интернета.
Страница:
/ 84
Загружаем инструкцию
background image

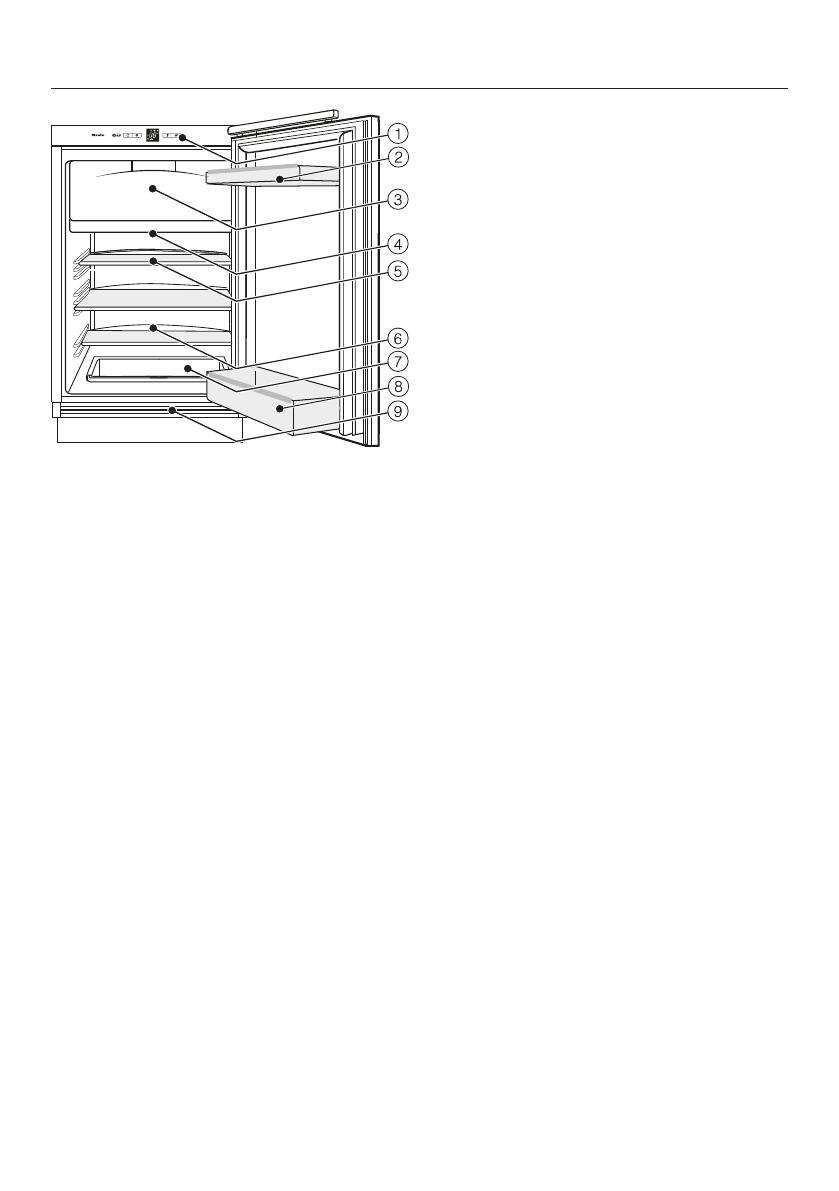
Описание прибора

19

a

Панель управления с дисплеем

b

Полка для яиц/дверная полка

c

Морозильное отделение (в зависимости от модели)

d

Внутреннее освещение

e

Полка

f

Жёлоб и отверстие для слива талой воды

g

Поддон для овощей и фруктов

h

Полка с держателем для бутылок

i

Вентиляционная решётка

Характеристики

Оцените статью
tehnopanorama.ru
Остались вопросы?

Не нашли свой ответ в руководстве или возникли другие проблемы? Задайте свой вопрос в форме ниже с подробным описанием вашей ситуации, чтобы другие люди и специалисты смогли дать на него ответ. Если вы знаете как решить проблему другого человека, пожалуйста, подскажите ему :)

Задать вопрос

Часто задаваемые вопросы
Как посмотреть инструкцию к Miele K 31222 Ui?
Необходимо подождать полной загрузки инструкции в сером окне на данной странице
Руководство на русском языке?
Все наши руководства представлены на русском языке или схематично, поэтому вы без труда сможете разобраться с вашей моделью
Как скопировать текст из PDF?
Чтобы скопировать текст со страницы инструкции воспользуйтесь вкладкой "HTML"