Холодильник Miele F 1472 Vi - инструкция пользователя по применению, эксплуатации и установке на русском языке. Мы надеемся, она поможет вам решить возникшие у вас вопросы при эксплуатации техники.
Если остались вопросы, задайте их в комментариях после инструкции.
"Загружаем инструкцию", означает, что нужно подождать пока файл загрузится и можно будет его читать онлайн. Некоторые инструкции очень большие и время их появления зависит от вашей скорости интернета.

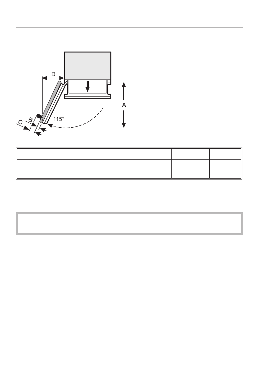
Ðàçìåð äâåðöû (óãîë îòêðûâàíèÿ 115°)
A
B
C
D
F 1472 Vi
525 ìì
Ìåáåëüíûé ôðîíò
(ìàêñ. 38 ìì)*
Äâåðíàÿ
ðó÷êà*
234 ìì
* Ðàçìåðû ìåáåëüíîãî ôðîíòà è ðó÷åê âàðüèðóþòñÿ â çàâèñèìîñòè îò
äèçàéíà êóõíè.
Äëÿ ýòîãî ìîðîçèëüíèêà ôèðìà Miele ðåêîìåíäóåò èñïîëüçîâàòü ïîëíûé
óãîë îòêðûâàíèÿ äâåðöû 115°.
Óêàçàíèÿ ïî ìîíòàæó
65
Характеристики
Остались вопросы?Не нашли свой ответ в руководстве или возникли другие проблемы? Задайте свой вопрос в форме ниже с подробным описанием вашей ситуации, чтобы другие люди и специалисты смогли дать на него ответ. Если вы знаете как решить проблему другого человека, пожалуйста, подскажите ему :)