Холодильник Liebherr SWTNes 4285 - инструкция пользователя по применению, эксплуатации и установке на русском языке. Мы надеемся, она поможет вам решить возникшие у вас вопросы при эксплуатации техники.
Если остались вопросы, задайте их в комментариях после инструкции.
"Загружаем инструкцию", означает, что нужно подождать пока файл загрузится и можно будет его читать онлайн. Некоторые инструкции очень большие и время их появления зависит от вашей скорости интернета.

4.5 Установка в кухонную стенку
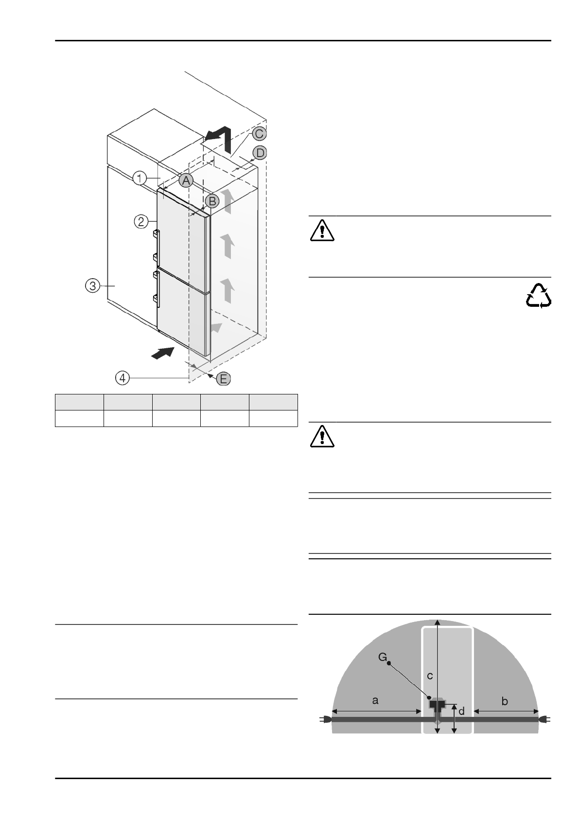
Fig. 47
A [мм]
B [мм]
C [cм
2
]
D [мм]
E [мм]
665
x
65
мин. 300
мин. 50
мин. 46
x
При использовании пристенных распорок этот размер
увеличивается на 15 мм (см. 4.2 Установка устройства) .
Эти размеры действительны для угла открывания 90 °.
Расстояния зависят от угла открывания.
Набор для ограничения угла открытия дверей на 90° в
устройствах с амортизацией закрытия можно получить
через сервисную службу.
Устройство может быть окружено кухонными шкафами.
Чтобы уравнять устройство
Fig. 47 (2) по высоте с
кухонной стенкой, можно установить над устройством
дополнительный шкафчик
Fig. 47 (1).
Установить устройство можно непосредственно рядом с
кухонным шкафом
Fig. 47 (3). Чтобы можно было полно-
стью открыть двери, устройство должно выступать на
глубину
Fig. 47 (B) относительно передней стенки кухон-
ного шкафа. В зависимости от глубины кухонных шкафов и
использования пристенных распорок устройство может
выступать и больше.
ВНИМАНИЕ
Опасность повреждения из-за перегрева в результате
недостаточной вентиляции!
Если вентиляция слабая, то компрессор может быть
повреждён.
u
Следите за обеспечением достаточной вентиляции.
u
Соблюдайте требования к вентиляции.
Требования к вентиляции:
-
Выступы на задней стороне устройства предназначены
для обеспечения достаточной вентиляции. Не допу-
скается, чтобы они располагались в каких-либо углу-
блениях или проходах.
-
На задней стенке дополнительного шкафчика должен
быть вентиляционный канал с глубиной
Fig. 47 (D) по
всей ширине этого шкафа.
-
Нужно соблюдать вентиляционное отверстие
Fig. 47 (C)
под нижней панелью.
-
Чем больше площадь вентиляционного отверстия, тем
меньше электроэнергии потребляет устройство при
работе.
Если устройство установлено на шарнирах у стены
Fig. 47 (4), то нужно соблюдать расстояние Fig. 47 (E)
между устройством и стеной. Настолько выступает ручка
при открытой дверце.
4.6 Упаковку утилизируйте надле-
жащим образом
ПРЕДУПРЕЖДЕНИЕ
Опасность удушения упаковочным материалом и пленкой!
u
Не разрешайте детям играть с упаковочным мате-
риалом.
Упаковка изготовлена из материалов, пригодных
для вторичного использования:
-
Гофрированный картон / картон
-
Детали из вспененного полистирола
-
Пленки и мешки из полиэтилена
-
Обвязочные ленты из полипропилена
-
сбитая гвоздями деревянная рама со вставкой
из полиэтилена*
u
Упаковочный материал отнесите в официальное место
сбора вторсырья.
4.7 Подключение устройства
ПРЕДУПРЕЖДЕНИЕ
Неправильное подключение!
Опасность пожара.
u
Не использовать удлинители кабеля.
u
Не использовать электрические разветвители.
ВНИМАНИЕ
Неправильное подключение!
Повреждение электроники.
u
Не использовать автономный преобразователь.
u
Не использовать энергосберегающие разъемы.
Указание
Использовать исключительно поставляемые в комплекте
присоединительные кабели.
u
Более длинный присоединительный электрический
кабель можно заказать в сервисной службе.
Fig. 48
Ввод в работу
20
* Наличие в зависимости от модели и комплектации
Характеристики
Остались вопросы?Не нашли свой ответ в руководстве или возникли другие проблемы? Задайте свой вопрос в форме ниже с подробным описанием вашей ситуации, чтобы другие люди и специалисты смогли дать на него ответ. Если вы знаете как решить проблему другого человека, пожалуйста, подскажите ему :)













