Холодильник Liebherr KT 1434-20 - инструкция пользователя по применению, эксплуатации и установке на русском языке. Мы надеемся, она поможет вам решить возникшие у вас вопросы при эксплуатации техники.
Если остались вопросы, задайте их в комментариях после инструкции.
"Загружаем инструкцию", означает, что нужно подождать пока файл загрузится и можно будет его читать онлайн. Некоторые инструкции очень большие и время их появления зависит от вашей скорости интернета.

4
Перед первым включением в сеть холодильник рекомендуется вымыть (см. раздел «Чистка»).
Помещать в холодильник замороженные продукты можно приблизительно через 2 часа после
первого включения.
Включение и выключение холодильника
(рис. А1 - А3)
Поверните регулятор температуры (1) вправо и установите его из положения «0» в положение
«1».
- Внутреннее освещение работает.
- Индикатор* (3) кратковременно отображает символ «8», после этого на-
чинает светиться один сегмент. После того, как температура понизится
до необходимого уровня, индикатор начнет отображать значение тем-
пературы в холодильной камере.
Выключение:
Установите регулятор температуры (1) в положение
«0».
- Внутреннее освещение и индикатор температуры* не работают.
Установка температуры
(рис. А1 - А3)
* Поверните регулятор температуры (1).
Положения регулятора имеют следующие значения:
Положение «1» = высокая температура, минимальная мощность охлаждения
Положение «7» = низкая температура, максимальная мощность охлаждения
Оптимальной является установка регулятора в одно из средних положений
Для моделей
с морозильной камерой
:
- Замороженные продукты должны храниться в морозильной камере при достаточно низкой
температуре, рекомендуемое положение регулятора при этом от «4» до «7».
Примечание: Просим Вас учитывать тот факт, что возможность достижения минимального зна-
чения температуры зависит от частоты открывания дверцы и количества помещенных в холо-
дильник свежих продуктов. Поэтому выбирайте положение регулятора в зависимости от необ-
ходимого Вам значения температуры.
Охлаждение
Р
ежим Cool Plus*
[Охлаждение плюс], рис. А2 / (2) используется в сле-
дующих случаях:
Для быстрого замораживания свежих продуктов (более подробную ин-
формацию см. в разделе «Морозильная камера»).
При низкой температуре окружающего воздуха, т.е. +18°С
или ниже:
Для активирования режима нажмите кнопку «Cool Plus» (2),
чтобы засветился контрольный индикатор. При этом температура в
морозильной камере понизится до максимально низкого значения.
При нормальной температуре окружающего воздуха, т.е. выше +18°С
, в использо-
вании режима Cool Plus нет необходимости. После выключения режима контрольный индика-
тор не светится, холодильник работает с экономным потреблением электроэнергии.
Индикатор температуры*
, рис. А1 / (3),
отображает среднюю температуру в холодильной камере.
- При первом включении холодильника индикатор отображает про-
черк до тех пор, пока температура в холодильной камере не пони-
зится до необходимого значения (от 2° до 9°С)
- Благодаря естественной циркуляции воздуха температура в ни-
жней части холодильника, над стеклянной полкой, ниже, чем в его
верхней части. Просим Вас учитывать этот факт, в случае прове-
дения контрольных измерений температуры.
Режим SuperСool*
, рис. А1 / (4)
Режим «SuperCool» [Ускоренное охлаждение] рекомендуется ис-
пользовать тогда, когда требуется быстро охладить большое коли-
чество только что помещенных в холодильник продуктов или напит-
ков. При этом температура в холодильной камере понизится до ми-
нимально возможного значения.
Включение/выключение:
кратковременно нажмите кнопку
«SuperCool» [Ускоренное охлаждение] (4), чтобы засветился кон-
трольный индикатор (индикатор светится = режим активирован).
Примечание: Режим ускоренного охлаждения требует несколько большего расхода энергии, од-
нако примерно через 6 часов холодильник автоматически переключится в обычный режим эко-
номного потребления энергии.
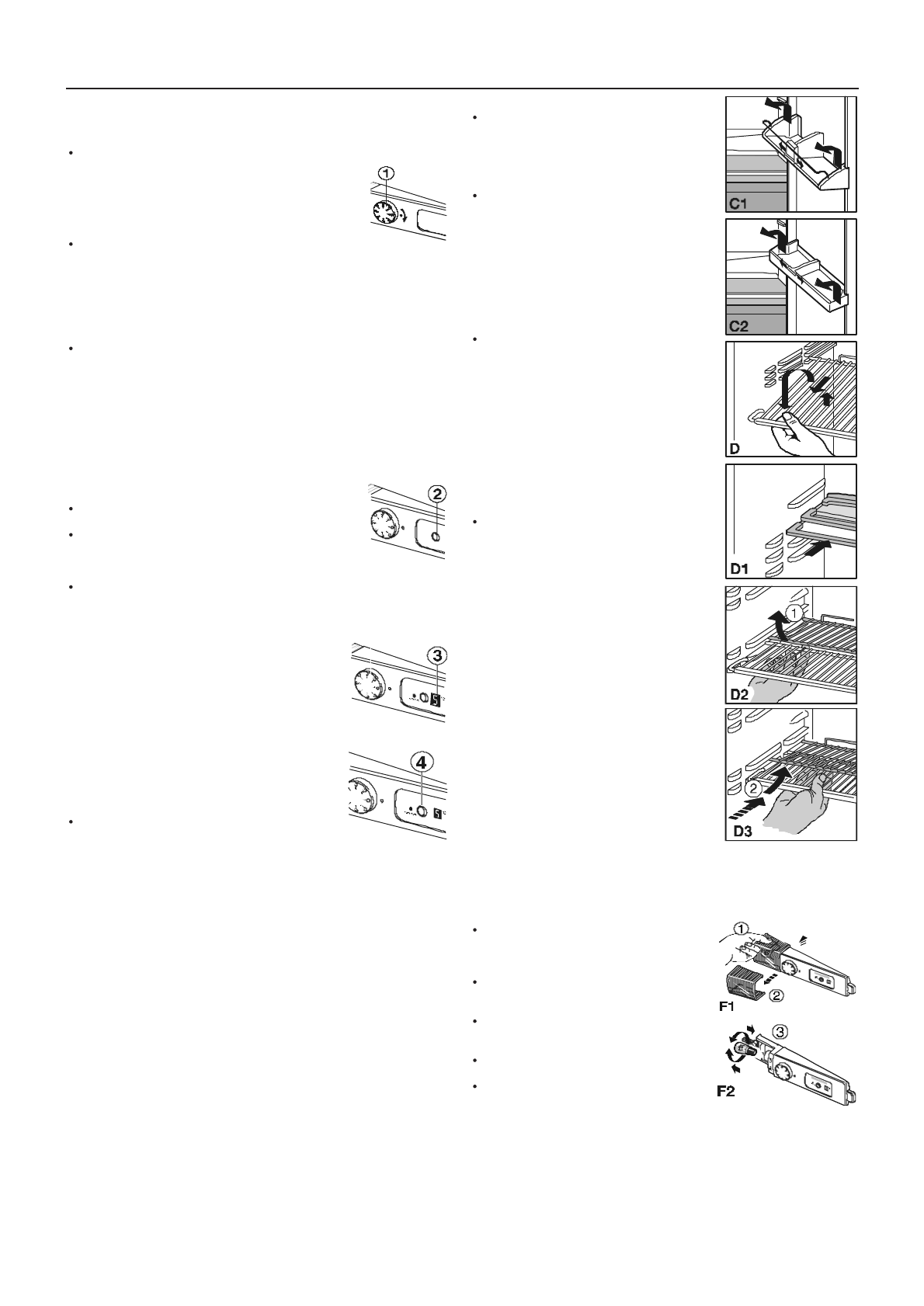
Изменение расположения полок
Вы можете вынимать из холодильника для чистки все
дверные полки
, рис.
С 1/2
: Потяните полку вверх по на-
правляющим и выньте ее из холодильника. Установка про-
изводится в обратной последовательности.
Отрегулировав положение
держателя для бутылок и
консервных банок
, Вы можете предотвратить их паде-
ние при открывании и закрывании дверцы. Для чистки Вы
можете вынуть держатель из холодильника:
Если Ваш холодильник оборудован полками:
- как на рис.
С1
: возьмитесь за нижний бортик, потяните
держатель на себя и выньте его из холодильника.
- как на рис.
С2
: возьмитесь за верхний бортик, приподни-
мите держатель вверх и выньте его из холодильника.
Вы можете изменить расположение полок, решеток или
стеклянных полок в зависимости от высоты помещенных в
холодильник продуктов, рис.
D
:
- Приподнимите полку, потяните ее на себя и выньте из хо-
лодильника.
- Приподнимите нижнюю полку и выньте ее из холодильни-
ка, используя свободное пространство между направляю-
щими.
- При установке полки на место следите, чтобы защитный
бортик в ее задней части всегда был направлен вверх,
иначе продукты питания могут примерзнуть к стенке холо-
дильника.
Если вам нужно место для размещения высоких бутылок
или емкостей,
- просто задвиньте переднюю половину стеклянной полки*
назад, рис.
D1
,
- в случае необходимости приподнимите заднюю половину
стеклянной полки или решетки*, как показано на рис.
D
2/3
, и задвиньте под нее заднюю половинку.
Внутреннее освещение
Если внутреннее освещение не работает, то, возможно, перегорела лампа накаливания.
Замена лампы накаливания:
Технические характеристики лампы:
макс. 15 Вт;
сила тока и напряжение должны соответствовать указан-
ным на табличке с техническими характеристиками. Цо-
коль лампы: Е14.
Отключите холодильник от электросети.
Для этого выньте вилку из розетки либо извлеките или
разомкните предохранитель.
Рис.
F1
: Нажмите на боковые поверхности крышки лам-
пы (действие 1), высвободите и отсоедините крышку
(действие 2).
Рис.
F2
:
Замените перегоревшую лампу (действие 3).
Сожмите задний конец и боковые поверхности крышки и
установите крышку на место.
Панель управления
*Наличие в зависимости от модели и комплектации
Расположение полок, внутреннее освещение












