Холодильник Liebherr IKB 2860 PremiumPlus BioFresh - инструкция пользователя по применению, эксплуатации и установке на русском языке. Мы надеемся, она поможет вам решить возникшие у вас вопросы при эксплуатации техники.
Если остались вопросы, задайте их в комментариях после инструкции.
"Загружаем инструкцию", означает, что нужно подождать пока файл загрузится и можно будет его читать онлайн. Некоторые инструкции очень большие и время их появления зависит от вашей скорости интернета.

3
– Перед помещением в холодильник охлаждайте теплую пищу до
комнатной температуры.
– Размораживайте замороженные продукты в холодильнике.
– Если в холодильнике толстый слой наледи, нужно произвести его
разморозку.*
2 Общая информация по безопасности
Техника безопасности для пользователя:
– Данное устройство не предназначено для лиц (в том числе детей) с
физическими, сенсорными или умственными нарушениями или лиц,
не имеющих достаточного опыта или знаний, если они не получили
указаний по использованию устройства или если не находятся под
присмотром лица, ответственного за их безопасность. Не оставляйте
детей без присмотра и следите, чтобы они не играли с устройством.
– В случае неисправности выньте вилку из розетки (не тяните за
провод) или выключите предохранитель.
– Ремонт или вмешательство в устройство и любые изменения шнура
питания должен проводить либо специалист сервисного центра,
либо другой специально обученный персонал.
– При отключении устройства от сети никогда не тяните за шнур.
Держитесь за вилку.
– Установку и подключение устройства производите только в соот-
ветствии с инструкцией.
– Сохраните данную инструкцию и передавайте ее последующим
владельцам устройства.
Опасность возникновения пожара:
– Хладагент R 600а экологически безопасен, но легко воспламеняет-
ся. Вытекший хладагент может воспламениться.
•
Старайтесь не повредить трубопроводы холодильного контура.
•
Не допускайте попадания в устройство открытого пламени или
источников воспламенения.
•
Не используйте внутри устройства электрические приборы
(например, пароочистители, нагреватели, приборы для приготов-
ления мороженого и пр.).
•
При утечке хладагента уберите из зоны досягаемости открытое
пламя или источники воспламенения. Выдерните вилку из розет-
ки. Хорошо проветрите помещение. Сообщите в отдел обслужи-
вания покупателей.
– Не храните в устройстве взрывоопасные вещества или распылите-
ли, в которых используются горючие сжатые жидкости, например
бутан, пропан, пентан и т.д. Соответствующую информацию можно
прочитать на аэрозольном баллончике, или узнать по значку пламе-
ни. Вытекший газ может воспламениться из-за наличия в устройстве
электрических компонентов.
– Крепкие спиртные напитки можно хранить только в герметичных
емкостях в стоячем положении. Случайно вытекший алкоголь может
воспламениться из-за наличия в устройстве электрических компо-
нентов.
Опасность опрокидывания и падения:
– Не используйте основание, ящики, дверцы и пр. в качестве ступень-
ки или опоры. Особенно это относится к детям.
Опасность отравления продуктами:
– Не употребляйте в пищу продукты, хранившиеся в холодильнике
слишком долго.
Опасность обморожения, онемения и причинения боли:
– Избегайте длительного контакта с холодными поверхностями или
замороженными продуктами или принимайте меры предосторожнос-
ти, например, надевайте перчатки. Не ешьте мороженое, водный лед
или кубики льда сразу и не употребляйте их слишком холодными.
Обратите внимание на информацию, отмеченную в последующих
разделах особыми пометками:
ОПАСНО
Означает ситуацию, влекущую прямую опас-
ность, которая при несоблюдении правил мо-
жет привести к смерти или тяжелым травмам.
ВНИМАНИЕ
Означает опасную ситуацию, которая при
несоблюдении правил может привести к
смерти или тяжелым травмам.
ОСТОРОЖНО Означает опасную ситуацию, которая при
несоблюдении правил может привести к трав-
мам небольшой или средней степени тяжести.
ПРЕДУПРЕЖ-
ДЕНИЕ
Означает опасную ситуацию, которая при
несоблюдении правил может привести к
повреждению имущества.
Примечание
Означает полезную информацию или
советы.
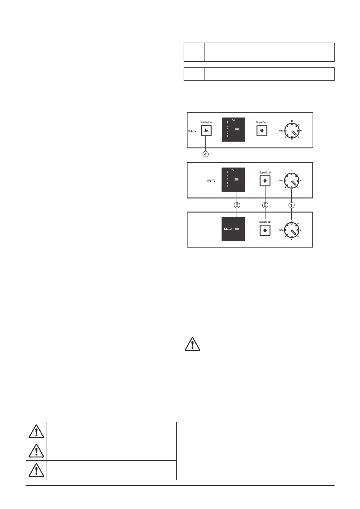
3 Средства управления и индикации
3.1 Элементы регулировки и управления
Рис. 2
(1)
Регулятор температуры
(2)
Кнопка SuperCool
(3)
Дисплей настройки температуры*,
выбранного рабочего режима*
(4)
Кнопка включения вентилятора
3.2 Дисплей настройки температуры*
При нормальной работе на дисплее настройки температуры высвечива-
ется установленная температура охлаждения.
4 Ввод в эксплуатацию
4.1 Транспортировка устройства
ОСТОРОЖНО
При неправильной транспортировке имеется риск получения травмы
и повреждения устройства!
왘
Перевозите устройство в упаковке.
왘
Перевозите устройство в вертикальном положении.
왘
Не перевозите устройство в одиночку.
4.2 Установка устройства
В случае повреждения устройства немедленно свяжитесь с поставщи-
ком до подключения устройства к сети.
Пол на месте установки должен быть ровным и горизонтальным.
Не устанавливайте устройство в местах воздействия прямого солнеч-
ного света, рядом с плитой, нагревателем и приборами аналогичного
назначения.
Не устанавливайте устройство в одиночку.
Общая информация по безопасности
Характеристики
Остались вопросы?Не нашли свой ответ в руководстве или возникли другие проблемы? Задайте свой вопрос в форме ниже с подробным описанием вашей ситуации, чтобы другие люди и специалисты смогли дать на него ответ. Если вы знаете как решить проблему другого человека, пожалуйста, подскажите ему :)













