Холодильник Liebherr ICS 3013 - инструкция пользователя по применению, эксплуатации и установке на русском языке. Мы надеемся, она поможет вам решить возникшие у вас вопросы при эксплуатации техники.
Если остались вопросы, задайте их в комментариях после инструкции.
"Загружаем инструкцию", означает, что нужно подождать пока файл загрузится и можно будет его читать онлайн. Некоторые инструкции очень большие и время их появления зависит от вашей скорости интернета.

29
RUS
*
в зависимости от модели и оборудования
C
A
mm
max.
2100
D
539
540
560-570
550
min.
38
min.
38
90°
min.200cm²
min.200cm²
110
67
Руководство по установке
Бережно храните руководство по монтажу и при необходимости
передайте его следующему владельцу.
Данное руководство действительно для нескольких моделей, поэтому
для конкретной модели возможны некоторые отклонения.
Для установки потребуется следующий дополнительный инструмент:
Отвертка Torx
®
15, 20, 25, 30, ножницы, шуруповерт
Изменение направления открывания дверей
При необходимости можно поменять упор; в ином случае см. руководство
дальше, начиная с раздела
Крепление в кухонном шкафу
.
W
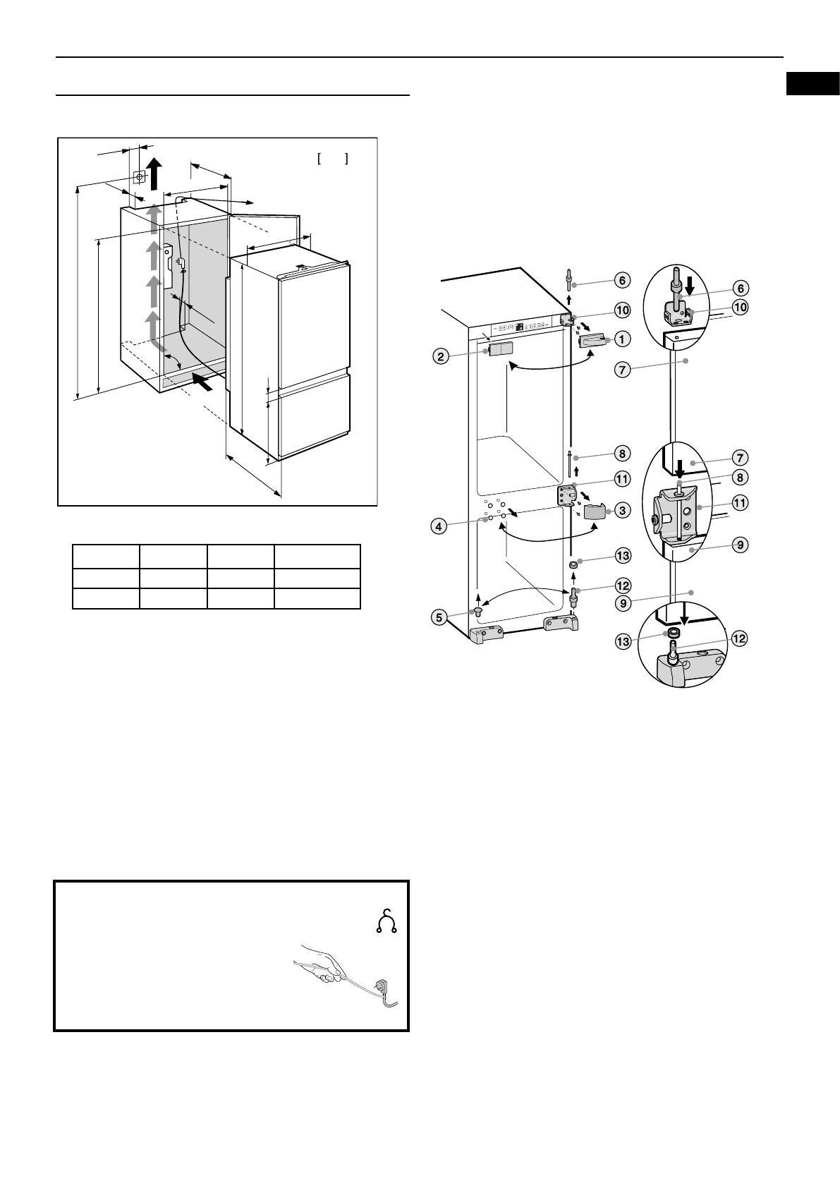
Для облегчения монтажа задвиньте устройство в нишу на 3/4
W
Снимите закрывающие элементы
1
,
2
3 4
и
5
.
W
Выкрутите верхний опорный палец
6
из двери холодильного
отделения
7
.
Внимание:
Зафиксируйте дверь холодильного
отделения от откидывания.
W
Дверь холодильного отделения
7
отведите немного вперед и
снимите вверх.
W
Выкрутите средний опорный палец
8
.
Внимание:
Зафиксируйте дверь морозильного отделения от
откидывания
W
Приподнимите и снимите дверь морозильного отделения
9
W
Открутите верхний кронштейн
bl
и среднийкронштейн
bm
и
прикрутите на противоположной стороне теми же винтами.
W
Переставьте нижний кронштейн
bn
с шайбой
bo
.
W
Снова установите дверь морозильного отделения
9
:
наденьте снизу на опорный палец
bn
с шайбой
bo
,
деталь Z
.
Средний опорный палец
8
с помощью среднего кронштейна
bm
вставьте в опору двери и прикрутите,
деталь Y
W
Снова установите дверь холодильного отделения
7
:
наденьте на средний опорный палец
8
,
деталь Y
.
Верхний опорный палец
6
через
наружное
отверстие в кронштейне
bl
вставьте в опору двери холодильного отделения
7
и прикрутите,
деталь X
W
Установите закрывающие элементы соответственно на
противоположной стороне, повернув на 180°
Указания по установке и размеры
W
Проверьте
установочные размеры:
A
C
D
ICS 30
1769,5
669
1772-1788
ICS 31
1769,5
523
1772-1788
W
Выровняйте мебельный шкаф и при необходимости мебельные
двери при помощи уровня и уголка. Если требуется, используйте
для выравнивания подкладки. Промежуточное основание и боковая
стенка мебельного шкафа должны быть под прямым углом друг к
другу.
W
Разрешается устанавливать холодильное / морозильное устройство
только в устойчиво расположенную мебель.
W
В обязательном порядке соблюдайте сечения вентиляции:
- Глубина вентиляционного проема в задней стенке мебели должна
быть не менее 38 мм.
- Сечение вентиляционного проема в нижней части мебели и по
бокам вверху должно быть не менее 200 см
2
. чем больше площадь
вентиляционного отверстия, тем меньше электроэнергии потребляет
устройство при работе.
X
Y
Z
Перед началом монтажа:
W
Удалите держатель сетевого кабеля с задней стенки.
W
Проложите сетевой кабель с помощью
шнура.












