Холодильник Liebherr G 2013 Comfort SuperFrost - инструкция пользователя по применению, эксплуатации и установке на русском языке. Мы надеемся, она поможет вам решить возникшие у вас вопросы при эксплуатации техники.
Если остались вопросы, задайте их в комментариях после инструкции.
"Загружаем инструкцию", означает, что нужно подождать пока файл загрузится и можно будет его читать онлайн. Некоторые инструкции очень большие и время их появления зависит от вашей скорости интернета.

6
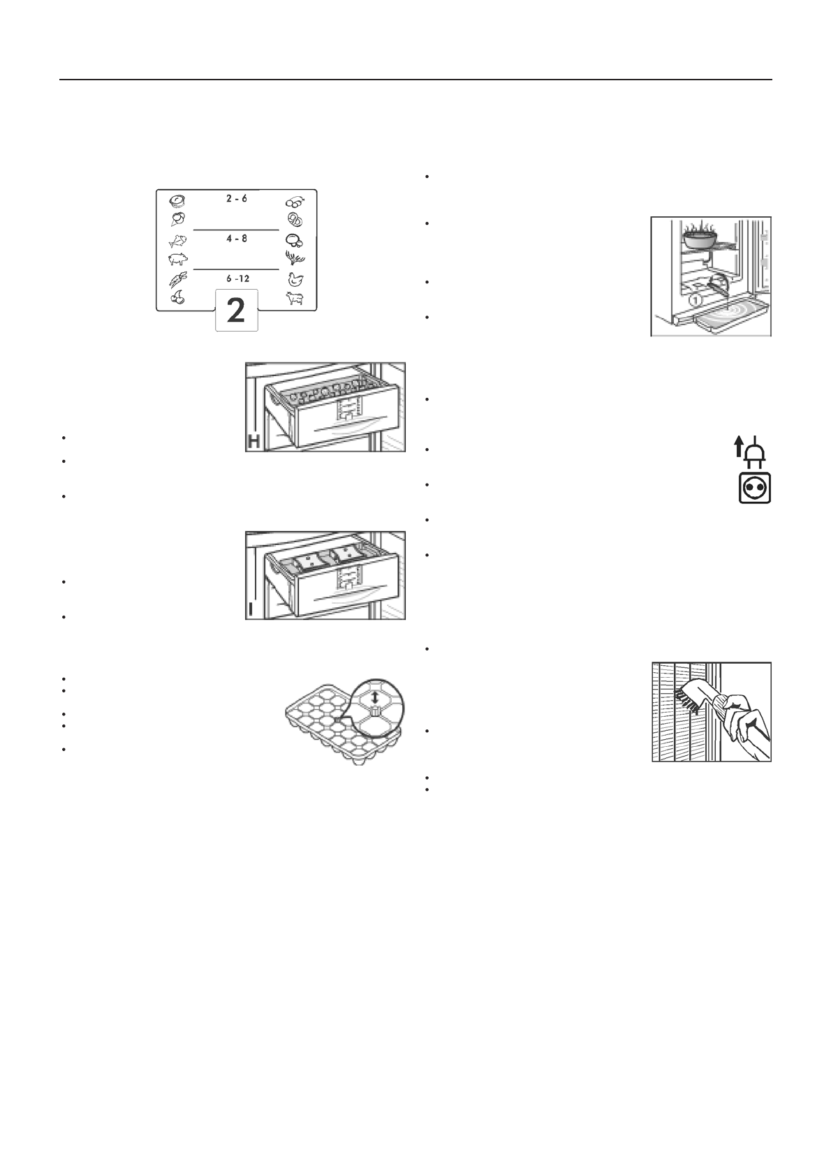
Информация о хранении замороженных продуктов*
Замороженные продукты должны быть использованы для приготовления блюд до истечения
срока их хранения.
Цифры между символами, обозначающими различные продукты, обозначают рекомендуемый
срок их хранения в месяцах. Рекомендуемые сроки хранения указаны для приготовления в до
машних условиях и являются примерными. Индивидуальный срок хранения зависит от качества
продуктов питания и от их предварительной обработки. Для жирных продуктов питания харак
терен более короткий срок хранения.
Лоток для замораживания*
позволяет Вам замораживать мелкие продукты
питания, такие как ягоды, зелень или овощи. Ло
ток препятствует примерзанию продуктов друг к
другу. Продукты сохраняют свою форму и не
смерзаются, что облегчает последующее разде
ление на порции.
Распределите продукты по поверхности лотка
на некотором удалении друг от друга, рис.
Н
.
Вставьте лоток для замораживания в один из верхних выдвижных контейнеров морозильни
ка. Оставьте замораживаться на 1012 часов, после чего переложите продукты в мешок или
емкость для замораживания и задвиньте контейнер внутрь.
Для размораживания свободно распределите продукты по любой ровной поверхности.
Аккумуляторы холода*
При отключении электроэнергии на длительное
время аккумуляторы холода препятствуют быст
рому повышению температуры в морозильнике
продукты питания дольше сохраняют качество.
В целях экономии места Вы можете хранить
аккумуляторы холода замороженными в лотке
для замораживания, рис.
I
.
Если Вы хотите добиться максимального вре
мени сохранения продуктов в случае отсутствия питания, положите замороженные аккумуля
торы в верхний выдвижной контейнер морозильника прямо на продукты питания.
Приготовление кубиков льда*
Нажмите сверху на стопорный болт.
Заполните ячейки лотка для приготовления кубиков льда
водой. Излишек воды стечет через сливное отверстие.
Вытяните стопорный болт вверх.
Поместите лоток для приготовления кубиков льда в моро
зильник и оставьте замораживаться.
Кубики льда можно извлечь из лотка, изогнув лоток или
перевернув его и недолго подержав под струей воды.
Размораживание
На алюминиевых панелях и контейнерах морозильной камеры со временем образуется слой
инея, толщина которого зависит от частоты открывания дверцы и количества свежих продуктов,
размещаемых в морозильной камере. Это абсолютно нормально.
Вместе с тем толстый слой инея на стенках морозильной камеры увеличивает потребление эле
ктроэнергии. Поэтому морозильную камеру рекомендуется периодически размораживать сле
дующим образом:
За день до размораживания активируйте режим «SuperFrost». Продукты получат дополнитель
ный «резерв холода».
Для размораживания выньте шнур питания из сетевой розетки или отключите морозильную
камеру, установив регулятор в положение «0».
Если возможно, выньте из морозильной камеры заморо
женные продукты питания из выдвижного контейнера мо
розильной камеры, положите на них аккумуляторы холо
да*, заверните в газету и положите на хранение в про
хладное место.
Вытяните наружу трубку для стока талой воды (1) и под
ставьте под нее лоток морозильной камеры* или другую
подходящую емкость.
Для ускорения процесса размораживания поставьте на
одну из средних полок кастрюлю с горячей, но не кипящей
водой.
Не применяйте для размораживания электронагреватели или пароочистители,
аэрозоли для оттаивания или открытое пламя. Не откалывайте лед при помощи
металлических предметов. Это может привести к повреждению деталей холо)
дильника и морозильной камеры!
Во время размораживания оставляйте дверцу морозильной камеры открытой. Соберите ос
татки талой воды тряпочкой. В завершение очистите морозильную камеру.
Чистка
Перед чисткой морозильника обязательно отключайте его от электро)
сети. Выньте вилку из розетки или извлеките и разомкните предохра)
нитель.
Вымойте внутренние поверхности, полки и внешние стенки морозильника теплой
водой с небольшим количеством моющего средства. Не используйте пароочисти
тели изза опасности получения травм!
Мы рекомендуем использовать для чистки мягкую ткань с небольшим количеством нейтраль
ного универсального моющего средства. Для чистки внутренней поверхности используйте
только чистящие средства, не оказывающие вредного воздействия на продукты питания.
Для ухода за морозильником
из нержавеющей стали*
используйте средства для чистки
нержавеющей стали.
Для максимальной защиты поверхности из нержавеющей стали после чистки равномерно на
несите на нее специальное средство для ухода за стальными поверхностями. При этом цвет
стали может становиться более интенсивным.
Не используйте для чистки морозильника абразивные губки, концентрированные чистящие
средства и чистящие или иные растворы, содержащие песок, хлор или кислоту; они могут по
вредить поверхность морозильника и стать причиной коррозии.
Вода, используемая для чистки, не должна попадать в вентиляционные решетки и электриче
ские компоненты морозильника. После чистки дайте моро
зильнику высохнуть.
Следите за тем, чтобы не повредить и не демонтировать
табличку с техническими характеристиками на внутренней
стенке морозильника – она необходима для сервисного об
служивания.
Один раз в год удаляйте пыль с холодильного контура и
решетки радиатора, расположенной на задней стенке мо
розильника. Это способствует уменьшению потребления
электроэнергии.
Не удаляйте, не изгибайте и не повреждайте электрические провода и другие компоненты.
После чистки снова подсоедините морозильник к электросети. Когда температура понизится
до необходимого уровня, снова разместите продукты в морозильнике.
Если морозильник нужно оставить выключенным на какоелибо время, выньте из него продук
ты, отключите его от электросети, вымойте морозильник, как описано выше, и оставьте дверцу
открытой, чтобы избежать появления неприятного запаха.
Оборудование
Размораживание, Чистка
колбасные изделия
хлеб
грибы
дичь
домашняя птица
говядина/телятина
готовые блюда
мороженое
рыба
свинина
овощи
фрукты
Характеристики
Остались вопросы?Не нашли свой ответ в руководстве или возникли другие проблемы? Задайте свой вопрос в форме ниже с подробным описанием вашей ситуации, чтобы другие люди и специалисты смогли дать на него ответ. Если вы знаете как решить проблему другого человека, пожалуйста, подскажите ему :)