Холодильник Liebherr ECBN 6256 Premium Plus - инструкция пользователя по применению, эксплуатации и установке на русском языке. Мы надеемся, она поможет вам решить возникшие у вас вопросы при эксплуатации техники.
Если остались вопросы, задайте их в комментариях после инструкции.
"Загружаем инструкцию", означает, что нужно подождать пока файл загрузится и можно будет его читать онлайн. Некоторые инструкции очень большие и время их появления зависит от вашей скорости интернета.

RU
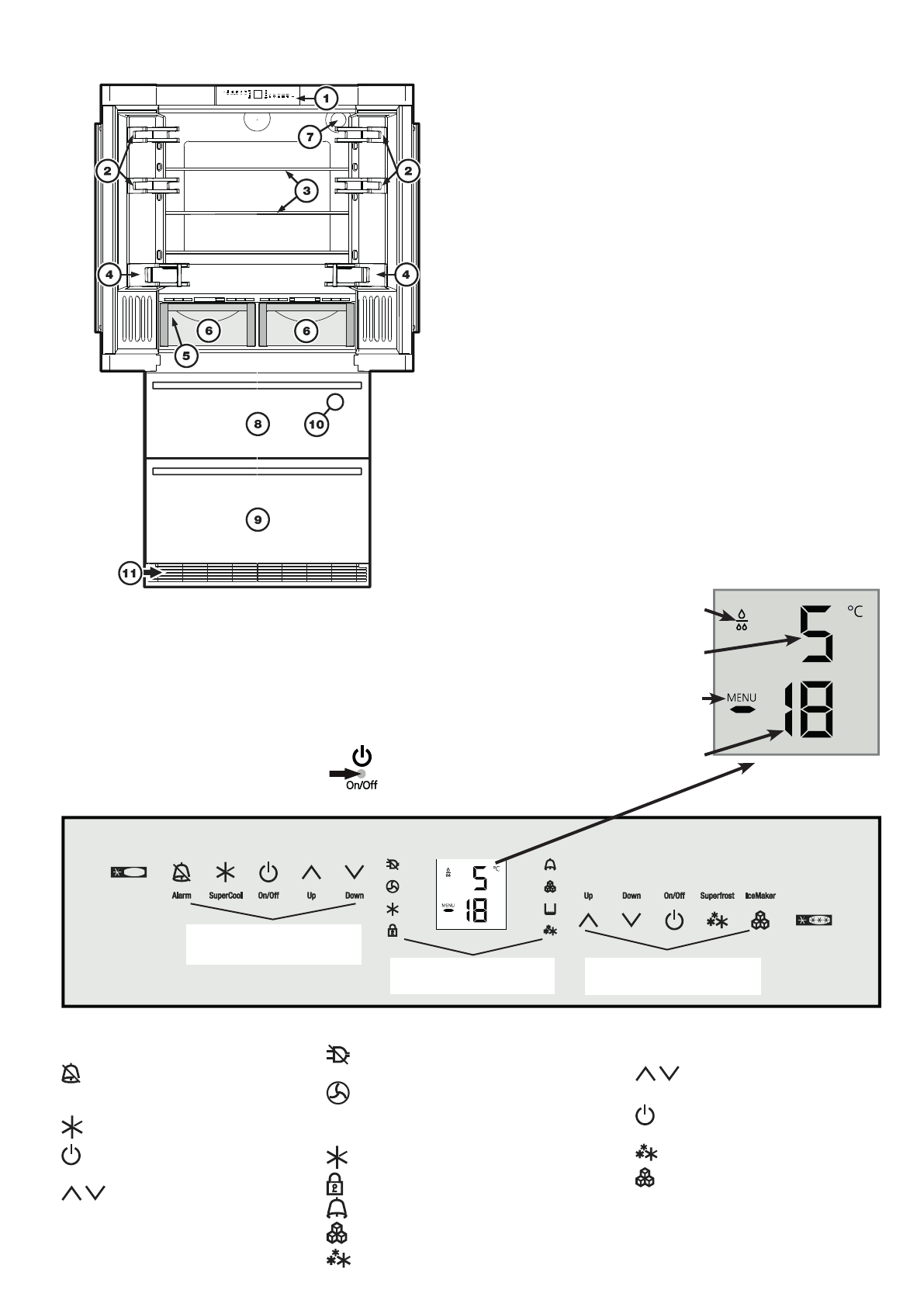
Описание прибора
1
Элементы для обслуживания и контроля
2
Переставляемые дверные полки
3
Переставляемые полки для укладки продуктов
4
Полка для бутылок
5
Заводская табличка (за левым контейнером для овощей)
6
Выдвижные ящики для овощей
7
Фильтр для воды
8
Верхняя секция морозильной камеры
9
Нижняя секция морозильной камеры
bl
Ледогенератор (внутри верхней секции морозильной
камеры)
bm
Вентиляционная решетка. Здесь происходит необходи
-
мая для холодильного агрегата циркуляция воздуха.
Закрывать вентиляционную решетку вос
-
прещается!
Элементы для обслуживания и контроля
Панель управления электроникой оснащена "
емкостной сен
-
сорной технологией
".
Каждую функцию можно активировать прикосновением к со
-
ответствующему символу.
Точка прикосновения
находится между символом и подписью
Индикатор температуры и контроля
Индикатор температуры в
холодильной камере
Индикатор температуры в
морозильной камере
Требует замены фильтр для
воды
Режим меню активиро
-
ван (настройка дополни
-
тельных функций)
Элементы управления
холодильной камеры
Элементы управления
морозильной камеры
Элементы контроля
Элементы управления
морозильной камеры
Кнопки для настройки тем
-
пературы
Морозильная камера
ВКЛ/ВЫКЛ
Режим SuperFrost
Ледогенератор ВКЛ/ВЫКЛ
Элементы управления
холодильной камеры
Отключение звука аварийной
сигнализации (холодильная и
морозильная камеры)
Режим SuperCool
Холодильная камера
ВКЛ/ВЫКЛ
Кнопки для настройки тем
-
пературы
Элементы контроля
Светодиод исчезновения напряжения
в сети
Светодиод пылеулавливающего филь
-
тра
Пылеулавливающий фильтр в основании
прибора требует очистки.
Светодиод SuperCool
Светодиод режима "защиты от детей"
Светодиод аварийной сигнализации
Светодиод ледогенератор ВКЛ.
Светодиод SuperFrost
87
Характеристики
Остались вопросы?Не нашли свой ответ в руководстве или возникли другие проблемы? Задайте свой вопрос в форме ниже с подробным описанием вашей ситуации, чтобы другие люди и специалисты смогли дать на него ответ. Если вы знаете как решить проблему другого человека, пожалуйста, подскажите ему :)