Холодильник Liebherr ECBN 6156 Premium Plus - инструкция пользователя по применению, эксплуатации и установке на русском языке. Мы надеемся, она поможет вам решить возникшие у вас вопросы при эксплуатации техники.
Если остались вопросы, задайте их в комментариях после инструкции.
"Загружаем инструкцию", означает, что нужно подождать пока файл загрузится и можно будет его читать онлайн. Некоторые инструкции очень большие и время их появления зависит от вашей скорости интернета.

=
количество воды для формочки для
льда
Если получаются слишком маленькие кубики льда, подава
-
емое количество воды можно отрегулировать.
Настройка количества воды
• Включите режим настройки нажатием символа
SuperFrost
на протяжении 5 секунд.
• Нажимайте символ
Down
для морозильной камеры, пока
на дисплее не отобразится .
• Нажмите символ
SuperFrost
.
- На дисплее отображается
• Нажмите один раз символ
Up
для морозильной камеры,
чтобы на дисплее отобразилось
E
4
.
Внимание!
Не изменяйте более чем на один шаг. Если установ
-
ленное значение слишком велико, формочка для льда
ледогенератора может переполниться.
• Еще раз нажмите символ
SuperFrost
.
• Выйдите из режима настройки, нажав
символ
On/Off
для морозильной камеры
.
Проверьте размер кубиков льда в течение последующих
дней. Если кубики льда все еще слишком малы, повторите
описываемые выше шаги снова.
= ледогенератор - настройка на время
отпуска
См. раздел "
Ледогенератор
".
= настройка температуры в секции BioFresh
Температуру в яшиках BioFresh можно изменять.
Настройка температуры в секции BioFresh
• Включите режим настройки нажатием символа
SuperFrost
на протяжении 5 секунд.
• Нажимайте символ
Down
для морозильной камеры, пока
на дисплее не отобразится .
• Нажмите символ
SuperFrost
.
- На дисплее отображается
• Нажимайте символы
Up/Down
для
морозильной камеры и с помощью
6 -
9
повысьте температуру (теплее),
4 -
1
понизьте температуру.
ОСТОРОЖНО!
При значениях b4 - b1 температура в ящиках может
опуститься ниже 0 °C. Пищевые продукты могут
замерзнуть.
• После установки нужного значения нажмите символ
SuperFrost
.
• Выйдите из режима настройки, нажав символ
On/Off
для
морозильной камеры
.
=
яркость дисплея
Настройка яркости дисплея
• Включите режим настройки нажатием символа
SuperFrost
на протяжении 5 секунд.
• Нажимайте символ
Down
для морозильной камеры, пока
на дисплее не отобразится .
• Нажмите символ
SuperFrost
.
- На дисплее отображается
• Нажимайте символы
Up/Down
для
морозильной камеры и произведите выбор в диапазоне
от
0
= минимальная яркость до
5
= максимальная яркость.
• После установки нужного значения нажмите символ
SuperFrost
.
• Выйдите из режима настройки, нажав символ
On/Off
для
морозильной камеры
.
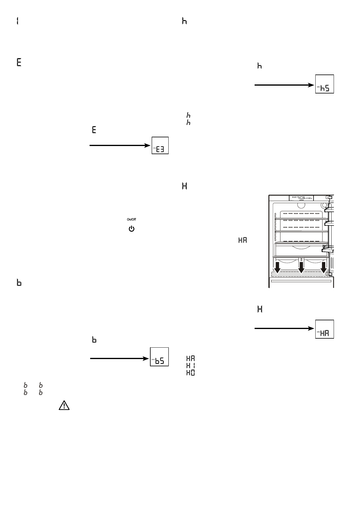
= управление обогревом нижнего шарнира
Если в зоне нижнего шарнира
или на опорной плите между
холодильной и морозильной
камерой конденсируется вода,
необходимо повысить тепловую
мощность обогрева за опорной
плитой.
Заводская настройка:
= сред
-
няя тепловая мощность.
Изменение тепловой мощ
-
ности
• Включите режим настройки
нажатием символа
SuperFrost
на протяжении 5 секунд.
• Нажимайте символ
Down
для морозильной камеры, пока
на дисплее не отобразится .
• Нажмите символ
SuperFrost
.
- На дисплее отображается
• Нажимайте символы
Up/Down
для
морозильной камеры и выберите:
= при легкой степени образования "росы" или
= при сильном образовании "росы" или
= выключение обогрева.
• После установки нужного значения нажмите символ
SuperFrost
.
• Выйдите из режима настройки, нажав символ
On/Off
для
морозильной камеры
.
Указание
В обычных условиях окружающей среды "роса" не об
-
разовывается. При высокой влажности воздуха и низкой
температуре окружающей среды это устройство помогает
избежать образования "росы".
92
Характеристики
Остались вопросы?Не нашли свой ответ в руководстве или возникли другие проблемы? Задайте свой вопрос в форме ниже с подробным описанием вашей ситуации, чтобы другие люди и специалисты смогли дать на него ответ. Если вы знаете как решить проблему другого человека, пожалуйста, подскажите ему :)