Холодильник Liebherr ECBN 5066 Premium Plus - инструкция пользователя по применению, эксплуатации и установке на русском языке. Мы надеемся, она поможет вам решить возникшие у вас вопросы при эксплуатации техники.
Если остались вопросы, задайте их в комментариях после инструкции.
"Загружаем инструкцию", означает, что нужно подождать пока файл загрузится и можно будет его читать онлайн. Некоторые инструкции очень большие и время их появления зависит от вашей скорости интернета.

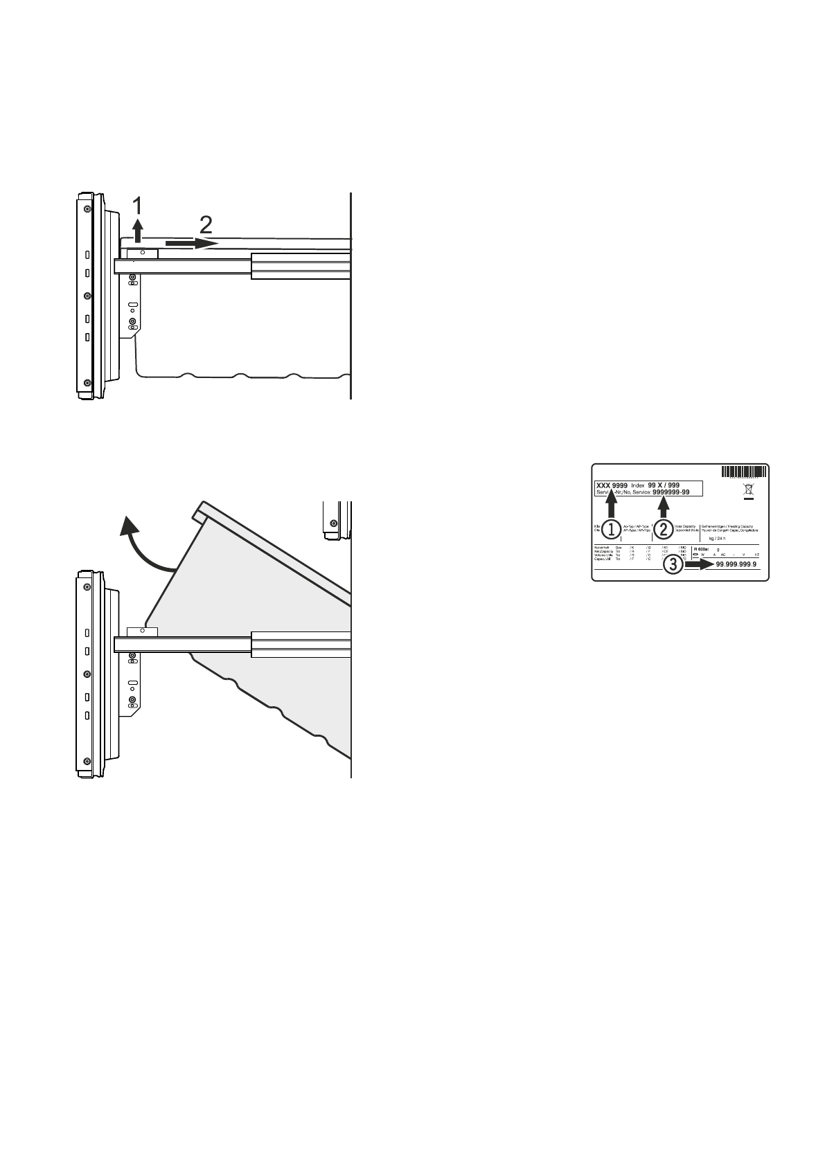
Извлечение емкостей секций морозиль
-
ной камеры
• Откройте дверь холодильной камеры.
• Выдвиньте секцию морозильной камеры.
• Потяните емкость вверх, взявшись за ее правый и левый
угол (
1
).
• Сдвиньте емкость назад (
2
).
• Наклоните емкость и извлеките ее.
• Установка емкости производится в обратной последова
-
тельности.
Вид сбоку на выдвинутую секцию
морозильной камеры
Неисправности
Вы можете сами устранить следующие неисправности,
проверив их возможные причины:
Прибор не работает.
Проверьте,
– включен ли прибор,
– правильно ли вставлена сетевая вилка в розетку,
– в порядке ли предохранитель розетки.
Слишком сильный звук
. Проверьте,
– крепко и хорошо ли прибор стоит на полу,
– не вибрируют ли рядом находящиеся предметы или мебель
под действием работающего холодильного агрегата. Учтите
при этом, что звук струящейся жидкости в контуре охлаж
-
дения исключить невозможно.
Температура недостаточно низкая.
Проверьте
– настройку в соответствии с разделом "Настройка темпера
-
туры", правильно ли установлена температура?
– не слишком ли большое количество свежих продуктов за
-
гружено в прибор;
– показывает ли отдельно помещенный в прибор термометр
нужную температуру.
– В порядке ли вытяжная вентиляция?
– Находится ли поблизости от места установки прибора ис
-
точник тепла?
Если ни одна из перечислен
-
ных причин не имеет места
и Вы сами не в состоянии
устранить неисправность,
обратитесь в ближайшую
службу сервиса. Сообщите
тип
1
, номер сервиса
2
и
номер прибора
3
, указан
-
ные на заводской табличке.
Местонахождение заводской таблички указано в разделе
Описание прибора
.
Вывод прибора из эксплуатации
Если прибор на длительное время выводится из эксплуата
-
ции, следует выключить прибор, выдернуть сетевую вилку
из розетки или выключить или выкрутить предохранители.
Затем надо очистить прибор и оставить дверь открытой,
чтобы исключить возможность образования неприятного
запаха.
Прибор отвечает соответствующим требованиям по тех
-
нике безопасности, а также директивам ЕС 2004/108/ЕС и
2006/95/ЕС.
Информация об изготовителе
Liebherr-Hausgeraete Lienz GmbH
A-9900 Лиенц
Др.-Ханс-Либхерр-Штрассе 1
Австрия
98
Характеристики
Остались вопросы?Не нашли свой ответ в руководстве или возникли другие проблемы? Задайте свой вопрос в форме ниже с подробным описанием вашей ситуации, чтобы другие люди и специалисты смогли дать на него ответ. Если вы знаете как решить проблему другого человека, пожалуйста, подскажите ему :)