Холодильник Liebherr CNP 4358-20 001 - инструкция пользователя по применению, эксплуатации и установке на русском языке. Мы надеемся, она поможет вам решить возникшие у вас вопросы при эксплуатации техники.
Если остались вопросы, задайте их в комментариях после инструкции.
"Загружаем инструкцию", означает, что нужно подождать пока файл загрузится и можно будет его читать онлайн. Некоторые инструкции очень большие и время их появления зависит от вашей скорости интернета.

Содержание
1
Основные
отличительные
особенности
устройства.............................................................
2
1.1
Краткое описание устройства и оборудования...
2
1.2
Область применения устройства..........................
3
1.3
Декларация соответствия.....................................
3
1.4
Габариты для установки........................................
3
1.5
Экономия электроэнергии....................................
4
1.6
Пример размещения..............................................
4
1.7
SmartDevice.............................................................
4
2
Общие указания по технике безопасности....
4
3
Органы управления и индикации.....................
6
3.1
Экран статуса.........................................................
6
3.2
Главный экран........................................................
6
3.3
Навигация...............................................................
7
3.4
Символы индикации...............................................
7
3.5
Опции устройства...................................................
7
4
Ввод в работу.......................................................
8
4.1
Транспортировка устройства................................
8
4.2
Установка устройства............................................
8
4.3
Перевешивание дверей.........................................
9
4.4
Установка в кухонную стенку................................ 18
4.5
Упаковку утилизируйте надлежащим образом... 18
4.6
Подключение устройства...................................... 18
4.7
Включение устройства........................................... 19
4.8
FreshAirУстановка -фильтра ................................. 19
4.9
Активация функции напоминания о необходи-
мости очистки вентиляционной решетки............. 20
5
Обслуживание...................................................... 20
5.1
Системные настройки............................................ 20
5.2
Таймер.................................................................... 21
5.3
Программы.............................................................. 21
5.4
Опции...................................................................... 22
5.5
Холодильное отделение........................................ 25
5.6
Морозильное отделение........................................ 27
6
Уход........................................................................ 28
6.1
FreshAirЗамена -фильтра:...................................... 28
6.2
Размораживание с помощью NoFrost................... 29
6.3
Очистка вентиляционной сетки............................ 29
6.4
Чистка устройства.................................................. 29
6.5
Сервисная служба................................................. 30
7
Неисправности..................................................... 30
8
Сообщения............................................................ 31
9
Вывод из работы................................................. 32
9.1
Выключение устройства........................................ 32
9.2
Отключение............................................................ 32
10
Утилизация устройства...................................... 32
11
Информация об изготовителе / Гарантийное
свидетельство...................................................... 32
Изготовитель постоянно работает над дальнейшим разви-
тием всех типов и моделей. Поэтому мы рассчитываем на
понимание в том, что мы оставляем за собой право изме-
нять форму, оборудование и технику.
Чтобы познакомиться со всеми полезными возможно-
стями данного нового устройства, пожалуйста, прочитайте
внимательно указания в этом руководстве.
Данное руководство действительно для множества
моделей, поэтому для конкретной модели возможны неко-
торые отклонения. Разделы, относящиеся только к опре-
деленным устройствам, помечены знаком "звездочка" (*).
Указания о выполнении действия помечены знаком
, результаты действия – знаком .
1 Основные отличительные
особенности устройства
1.1 Краткое описание устройства и
оборудования
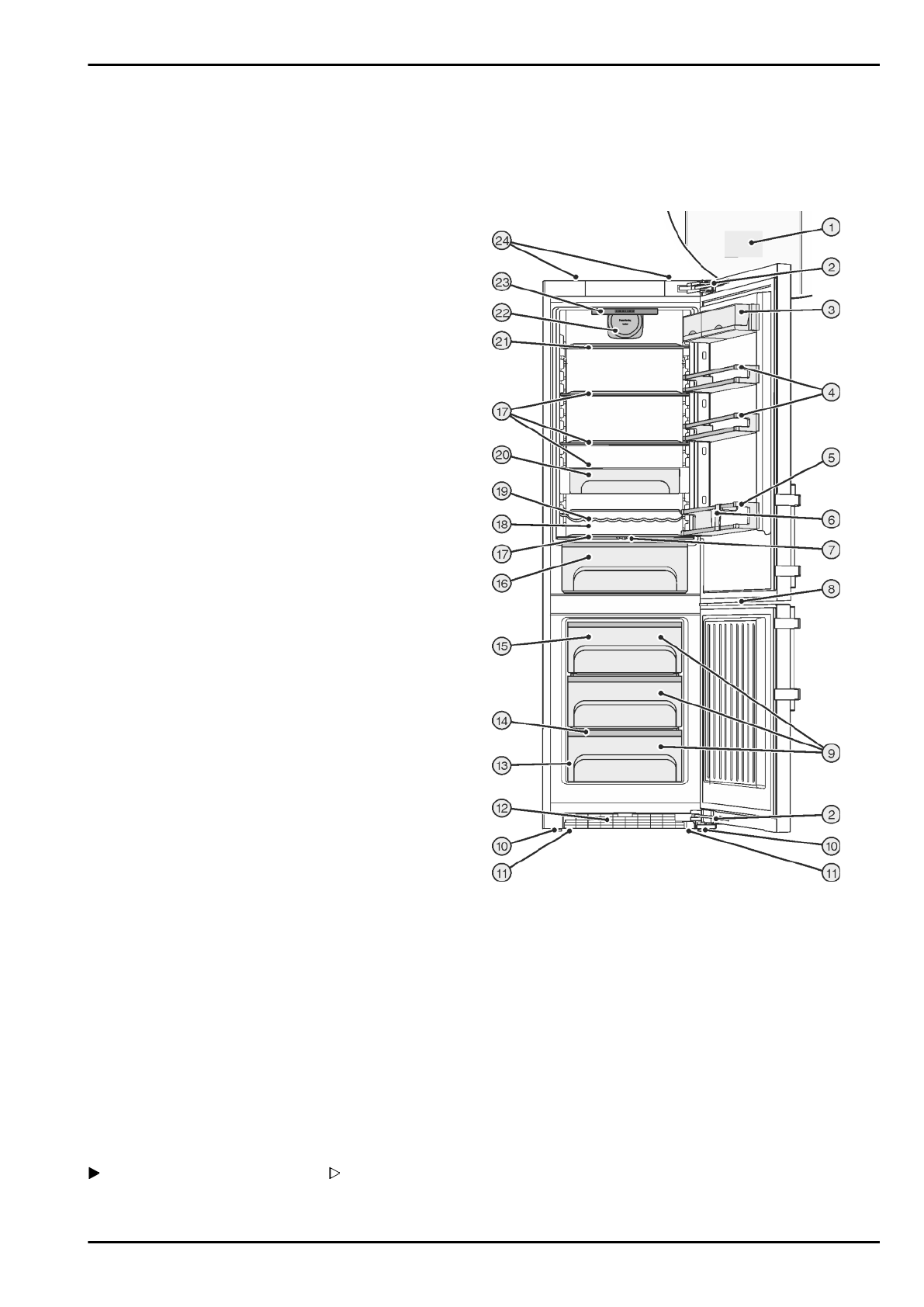
Fig. 1
(1) Приборы контроля и
управления
(13) Заводская табличка
(2) Стопорный демпфер
(14) Variospace
(3) Полка с ящиками
(15) Аккумуляторы холода
(4) Держатель для
консервов
(16) BioCool-емкость, регули-
руемая
(5) Полка для бутылок
(17) Съемная полка
(6) Держатель для
бутылки
(18) Самая холодная зона
(7) Пластина регулировки
влажности
(19) Полка для хранения
бутылок
(8) Светодиодное осве-
щение морозильного
отделения
(20) VarioSafe*
(9) Выдвижной ящик для
заморозки
(21) Разделяемая полка
(10) Установочные опоры
(22) Вентилятор, с крепле-
нием для фильтра
FreshAir
Основные отличительные особенности устройства
2
* Наличие в зависимости от модели и комплектации