Холодильник Liebherr CBNes 4656 Premium BioFresh - инструкция пользователя по применению, эксплуатации и установке на русском языке. Мы надеемся, она поможет вам решить возникшие у вас вопросы при эксплуатации техники.
Если остались вопросы, задайте их в комментариях после инструкции.
"Загружаем инструкцию", означает, что нужно подождать пока файл загрузится и можно будет его читать онлайн. Некоторые инструкции очень большие и время их появления зависит от вашей скорости интернета.

5
Яркость дисплея
Вы можете регулировать яркость дисплея в соответствии с условиями освещенности
помещения, в котором установлен холодильник.
Регулирование яркости
Яркость регулируется в диапазоне от
(дисплей не светится) до
(максималь-
ная яркость).
Чтобы активировать режим настройки:
нажмите и около 5 секунд удерживайте
кнопку SuperFrost
4
.
На дисплее появится опция .
Загорится индикатор MENU.
Кнопкой Up [Выше]
!
или Down
[Ниже]
9
выберите опцию .
Кратковременно нажмите кнопку
SuperFrost
4
.
Чтобы сделать дисплей ярче: нажи-
майте кнопку Up
!
.
Чтобы сделать дисплей темнее: нажи-
майте кнопку Down
9
.
Нажмите кнопку SuperFrost
4
.
Будет задано новое значение яркости.
Чтобы деактивировать режим настройки: нажмите кнопку включения/выключе-
ния морозильной камеры
6
или подождите 5 минут.
Защита от детей
Функция защиты от детей позволяет Вам сделать так, чтобы холодильник не был
случайно выключен играющими детьми.
Настройка функции защиты от детей
Чтобы активировать режим настройки: нажмите и около 5 секунд удерживайте
кнопку SuperFrost
4
.
На дисплее появится опция .
Загорится индикатор
MENU
.
Кратковременно нажмите для подтверждения кнопку SuperFrost
4
.
Если на дисплее отображается опция
:
Чтобы активировать защиту от де-
тей, кратковременно нажмите кнопку
SuperFrost
4
.
Загорится индикатор функции защиты
от детей
.
Индикация будет мигать.
Если на дисплее отображается оп-
ция
:
Чтобы деактивировать защиту от де-
тей, кратковременно нажмите кнопку
SuperFrost
4
.
Индикатор функции защиты от детей
погаснет.
Индикация будет мигать.
Чтобы деактивировать режим настрой-
ки: нажмите кнопку включения/выклю-
чения
6
или подождите 5 минут.
Система HomeDialog
В зависимости от модели и комплекта-
ции холодильника его можно подключить
к другому прибору через электрическую
сеть
Для подключения необходимо приобрести
модуля в авторизированном сервисном
центре
См. дополнительную информацию в Ин-
тернете на сайте www.liebherr.com.
•
•
•
•
•
•
•
•
•
•
•
•
•
•
•
•
•
•
•
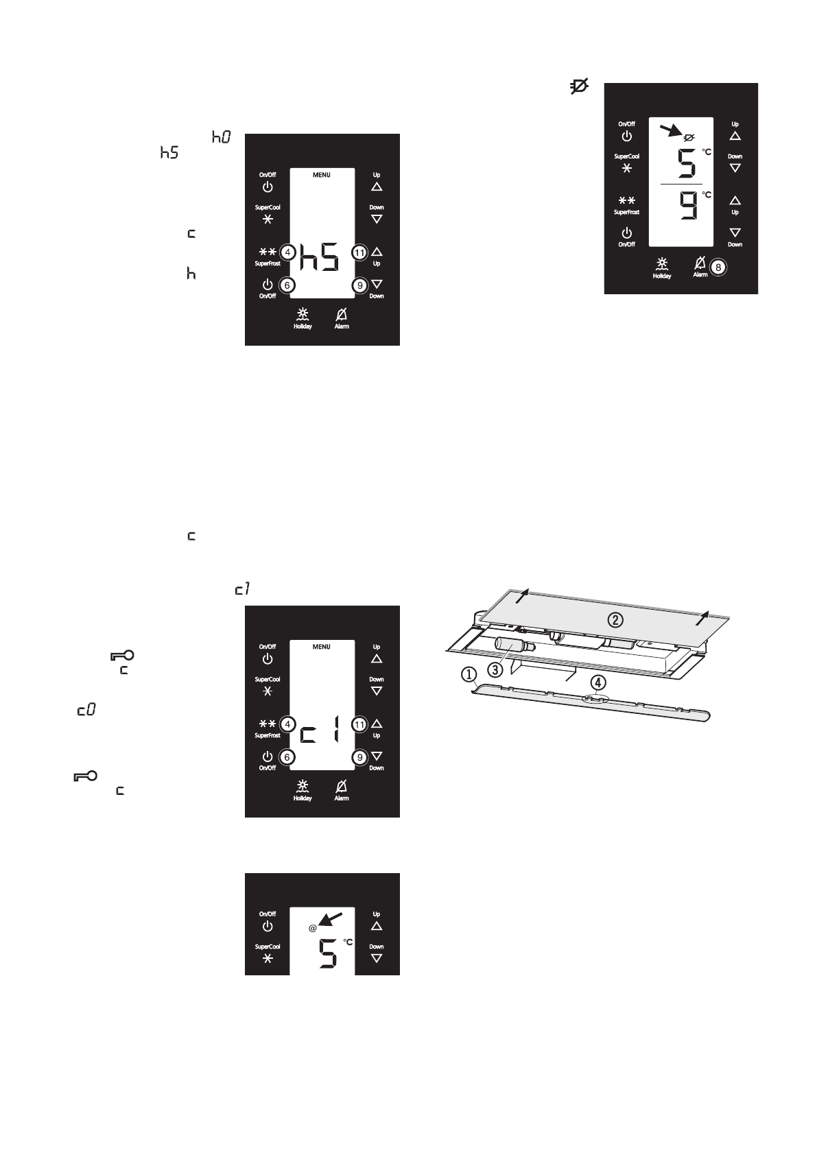
Индикация отключения питания
Появление на дисплее индикатора
означает, что температура в морозильной
камере поднялась слишком высоко из-за
нарушения питания.
Нажмите кнопку выключения сигнала
8
.
> На дисплее появится значение самой
высокой температуры, имевшей место
во время отключения питания.
Если отображаемая температура достаточ-
но высока, проверьте качество продуктов.
Не употребляйте в пищу испорчен-
ные продукты!
Не подвергайте оттаявшие продукты
повторному замораживанию!
Для удаления отображаемой индикации с
дисплея еще раз нажмите кнопку
8
.
Внутреннее освещение
Технические данные лампы: 5 Вт (не используйте лампу, номинальная мощность
которой выше 5 Вт). Напряжение должно соответствовать указанному на заводской
табличке. Патрон: E 14.
Замена лампы:
Выньте вилку шнура питания из розетки либо извлеките/разомкните пре-
дохранитель.
Чтобы снять крышку (1): выведите пальцем заднюю часть крышки из зацепле-
ния.
Вытяните стеклянный поддон ().
Замените лампу (3).
Вдвиньте стеклянный поддон на место.
Прикрепите крышку обратно: присоедините ее справа и слева, следя за тем,
чтобы скоба посередине (4) вошла в зацепление со стеклянным поддоном.
•
•
•
•
•
•
Характеристики
Остались вопросы?Не нашли свой ответ в руководстве или возникли другие проблемы? Задайте свой вопрос в форме ниже с подробным описанием вашей ситуации, чтобы другие люди и специалисты смогли дать на него ответ. Если вы знаете как решить проблему другого человека, пожалуйста, подскажите ему :)