Холодильник Hyundai CT2551WT - инструкция пользователя по применению, эксплуатации и установке на русском языке. Мы надеемся, она поможет вам решить возникшие у вас вопросы при эксплуатации техники.
Если остались вопросы, задайте их в комментариях после инструкции.
"Загружаем инструкцию", означает, что нужно подождать пока файл загрузится и можно будет его читать онлайн. Некоторые инструкции очень большие и время их появления зависит от вашей скорости интернета.

9
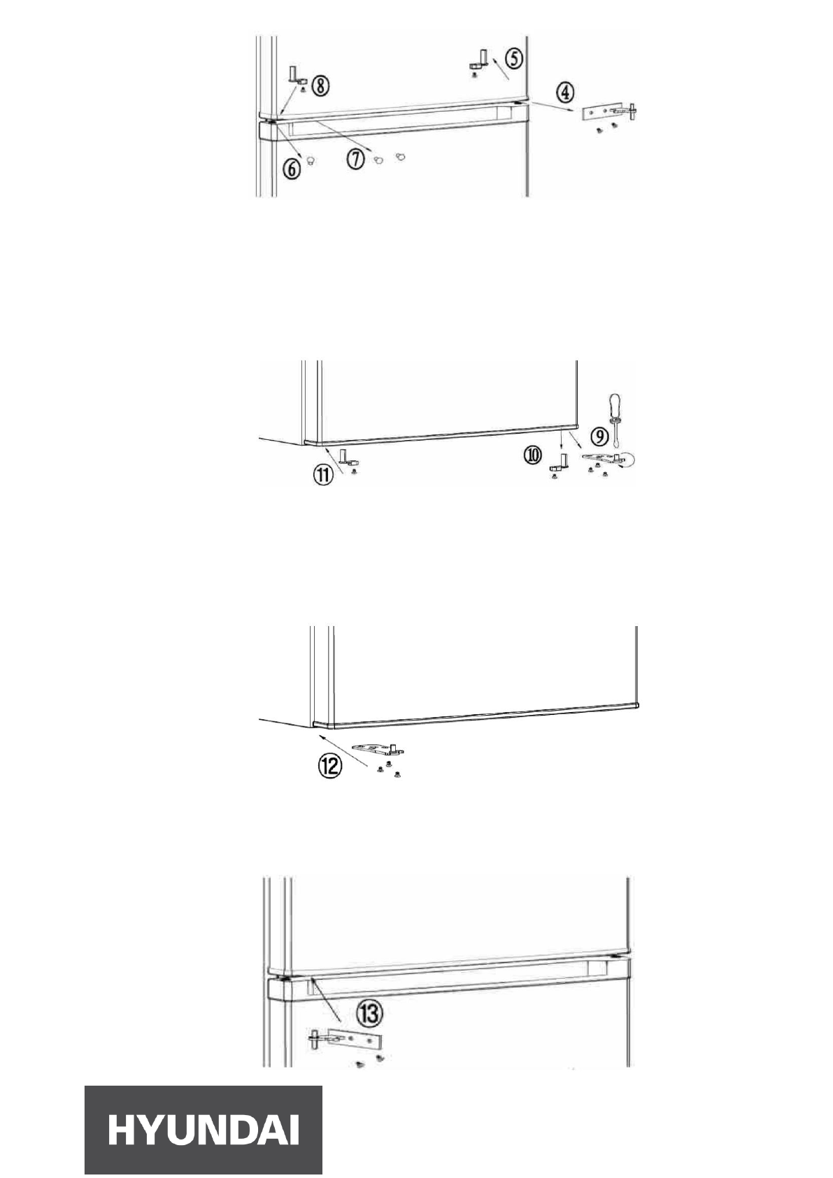
4 Снимите верхнюю дверцу и открутите среднюю петлю
5 Снимите ограничитель дверцы
6 Снимите заглушку с отверстия для оси и переставьте ее на противоположную сторону.
7 Снимите заглушки с отверстий для крепления и переставьте их на противоположную сторону.
8 Установите ограничитель дверцы на противоположную сторону, используя ранее открученные
винты крепления
9 снимите нижнюю петлю дверцы и переустановите на другую сторону. Не забудьте снять
заглушку с отверстия для оси
10 Снимите ограничитель дверцы, установите на другую сторону поставляемый в комплекте
ограничитель для противоположной стороны.
11 Установите новый ограничитель, используя винты от предыдущего.
12 Закрепите петлю на новом месте
13 Установите дверцу, прикрепите среднюю петлю, установите верхнюю дверцу, закрепите
верхнюю петлю и крышку петли.
Характеристики
Остались вопросы?Не нашли свой ответ в руководстве или возникли другие проблемы? Задайте свой вопрос в форме ниже с подробным описанием вашей ситуации, чтобы другие люди и специалисты смогли дать на него ответ. Если вы знаете как решить проблему другого человека, пожалуйста, подскажите ему :)