Холодильник Mitsubishi Electric MR-ZR692W-CW-R - инструкция пользователя по применению, эксплуатации и установке на русском языке. Мы надеемся, она поможет вам решить возникшие у вас вопросы при эксплуатации техники.
Если остались вопросы, задайте их в комментариях после инструкции.
"Загружаем инструкцию", означает, что нужно подождать пока файл загрузится и можно будет его читать онлайн. Некоторые инструкции очень большие и время их появления зависит от вашей скорости интернета.
/html/pdf_to_image006.png)
6
От у
с
тановки до на
чала рабо
ты
От установки до
начала работы
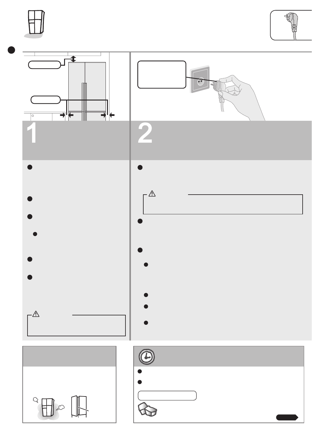
Не менее 10 см
Не менее 2 см
Установка
Место установки
Подвижная
перегородка
В хорошо проветриваемом помещении, где он
не будет подвергаться воздействию прямых
солнечных лучей или горячего воздуха
Это
необходимо
для
поддержания
надлежащей
температуры
внутри
холодильника
и
оптимального
потребления
электроэнергии
.
В месте с низким уровнем влажности
Во
избежание
коррозии
,
поражения
электрическим
током
и
пожара
.
Первоначально в холодильнике задана настройка
"обычное приготовление льда".
Если
Вы
хотите
приготовить
прозрачный
лед
,
измените
настройки
.
Должно быть прочным и ровным
во
избежание
вибрации
и
шума
,
неплотного
закрытия
и
смещения
дверей
.
На расстоянии от других бытовых приборов
Во
избежание
шумов
или
помех
видеосигнала
,
например
при
просмотре
телевизора
.
Свободное пространство справа от
холодильника должна составлять не менее
2 см, а свободное пространство между
холодильником и потолком – не менее 10 см.
Это
необходимо
для
надлежащего
рассеивания
тепла
с
обеих
сторон
холодильника
и
над
ним
.
Поместите
под
холодильник
пластину
или
доску
из
прочного
материала
,
если
опоры
легко
вдавливаются
в
пол
. (
Для
предотвращения
повреждения
пола
вследствие
нагрева
или
воздействия
веса
)
Не блокируйте воздухозаборные отверстия холодильника, а
также пространство вокруг него.
Утечка хладагента может привести к возгоранию или взрыву.
Осторожно
Внешняя поверхность холодильника
и подвижная перегородка
значительно нагреваются.
•
При
первом
включении
холодильника
,
а
также
в
летние
месяцы
температура
может
подниматься
до
50
до
60°C
или
даже
выше
вследствие
рассеивания
тепла
.
•
Подвижная
перегородка
может
значительно
нагреться
из
-
за
воздействия
нагревателя
.
Осторожно
Подождите
,
пока
не
будет
достигнута
нужная
температура
внутри
холодильника
,
прежде
чем
загружать
в
него
неохлажденные
продукты
.
Не
держите
двери
открытыми
дольше
,
чем
это
необходимо
;
закрывайте
двери
как
можно
скорее
.
В
жаркую
погоду
или
в
летние
месяцы
этот
процесс
может
занять
более
24
часов
.
Первое
приготовление
льда
После включения холодильника может
понадобиться некоторое время для достижения
нужной температуры.
стр.
11
Отдельная розетка,
которая отвечает
приведенным
требованиям.
Подсоедините изделие к
электрической сети
* Подсоедините холодильник к сети вскоре после
завершения его установки
Используйте отдельную сетевую розетку
В
качестве
источника
питания
используйте
отдельную
сетевую
розетку
,
которая
соответствует
параметрам
,
приведенным
в
таблице
с
техническими
данными
. (
Таблица
с
техническими
данными
расположена
на
внутреннем
наличнике
двери
холодильной
камеры
.)
Электрические соединения
Убедитесь
,
что
изделие
надлежащим
образом
заземлено
.
Даже если питание будет подключено вскоре после установки, это не приведет к
повреждению холодильника.
Для выработки нужной температуры холодильнику требуется некоторое время,
поэтому его следует подключить к источнику питания при первой возможности.
Холодильник
следует
всегда
подключать
к
отдельной
сетевой
розетке
.
Это
гарантирует
наиболее
высокие
рабочие
характеристики
–
в
противном
случае
имеется
вероятность
перегрузки
электросети
,
что
может
привести
к
возгоранию
.
Убедитесь
,
что
напряжение
сети
питания
соответствует
напряжению
,
для
которого
изделие
предназначено
.
Не
рекомендуется
использовать
удлинительные
шнуры
.
Если
холодильник
установлен
в
месте
с
высокой
влажностью
,
рекомендуется
установить
не
только
заземление
,
но
и
устройство
защитного
отключения
.
Если
шнур
питания
поврежден
,
приобретите
новый
шнур
в
Mitsubishi
Electric
или
в
авторизованном
сервисном
центре
.
Необходимо
убедиться
,
что
шнур
питания
предназначен
для
использования
с
этой
моделью
.
Если
шнур
питания
поврежден
,
то
во
избежание
опасности
его
необходимо
заменить
–
для
этого
следует
обратиться
в
Mitsubishi Electric
или
в
авторизованный
сервисный
центр
.
Использование сетевой розетки, которая не отвечает приведенным параметрам,
а также подключение чрезмерного количества электроприборов к одной
розетке может привести к перегреву электропроводки или к возгоранию.
Характеристики
Остались вопросы?Не нашли свой ответ в руководстве или возникли другие проблемы? Задайте свой вопрос в форме ниже с подробным описанием вашей ситуации, чтобы другие люди и специалисты смогли дать на него ответ. Если вы знаете как решить проблему другого человека, пожалуйста, подскажите ему :)













