Холодильник Dunavox DX-94.270SDSK - инструкция пользователя по применению, эксплуатации и установке на русском языке. Мы надеемся, она поможет вам решить возникшие у вас вопросы при эксплуатации техники.
Если остались вопросы, задайте их в комментариях после инструкции.
"Загружаем инструкцию", означает, что нужно подождать пока файл загрузится и можно будет его читать онлайн. Некоторые инструкции очень большие и время их появления зависит от вашей скорости интернета.

33
Шаг
3
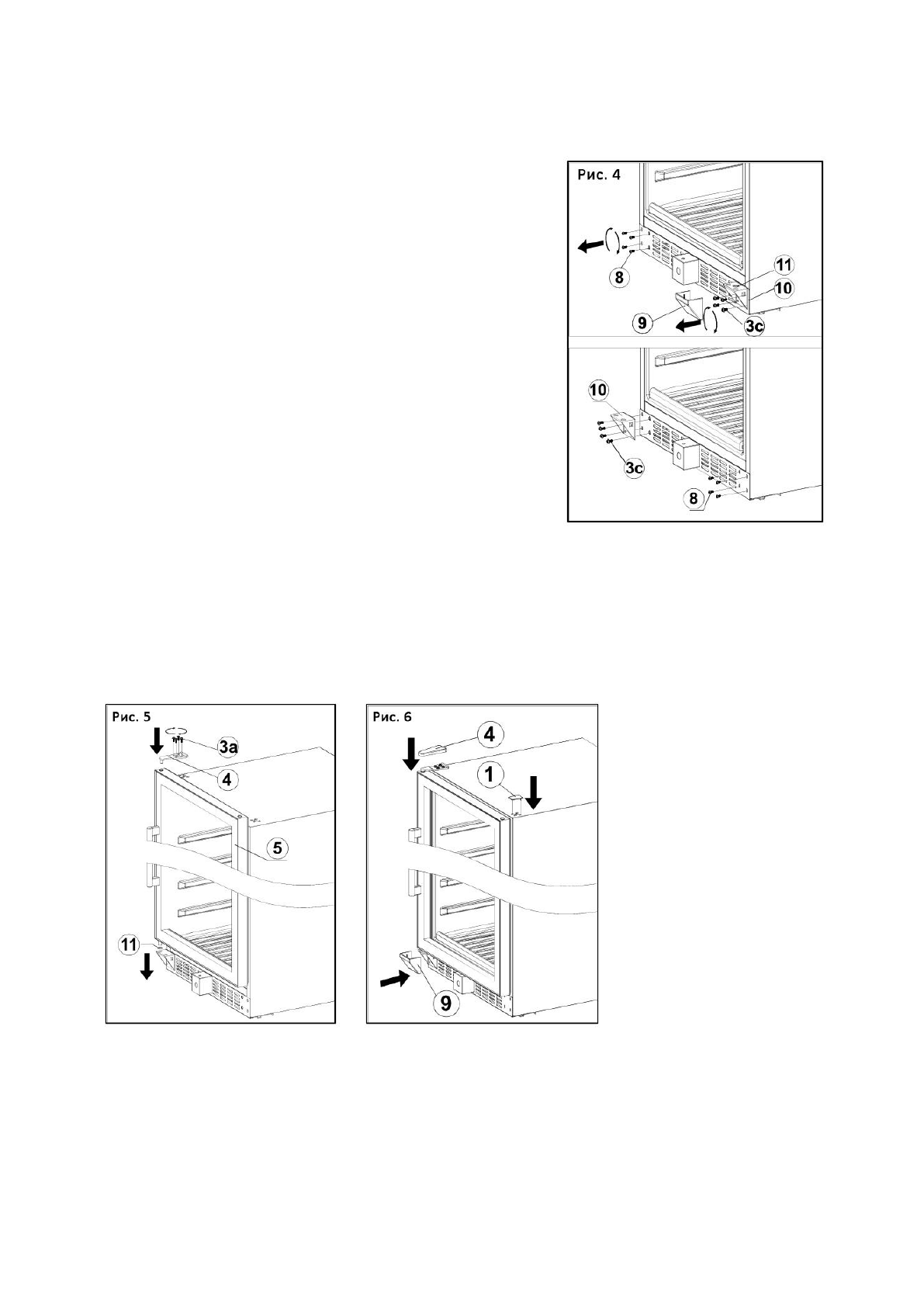
Перестановка нижнего шарнира
1.
Снимите пластиковую заглушку (9) с нижнего правого шарнира (10)
2.
Открутите 4 болта (3c) и снимите шарнир
3.
Установите шарнир на левую часть вместе с шайбой (11) и
Шаг
4
Установка двери
1.
Переставьте дверь на противоположную сторону, опорный стержень должен попасть в нижний
шарнир через шайбу (11).
2.
Закрепите болтами (3a) верхний шарнир
(4)
3.
Установите защитные крышки (4), (1) и (9)
Характеристики
Остались вопросы?Не нашли свой ответ в руководстве или возникли другие проблемы? Задайте свой вопрос в форме ниже с подробным описанием вашей ситуации, чтобы другие люди и специалисты смогли дать на него ответ. Если вы знаете как решить проблему другого человека, пожалуйста, подскажите ему :)













