Холодильник Zanussi ZRB 636 DW - инструкция пользователя по применению, эксплуатации и установке на русском языке. Мы надеемся, она поможет вам решить возникшие у вас вопросы при эксплуатации техники.
Если остались вопросы, задайте их в комментариях после инструкции.
"Загружаем инструкцию", означает, что нужно подождать пока файл загрузится и можно будет его читать онлайн. Некоторые инструкции очень большие и время их появления зависит от вашей скорости интернета.

46
CZ
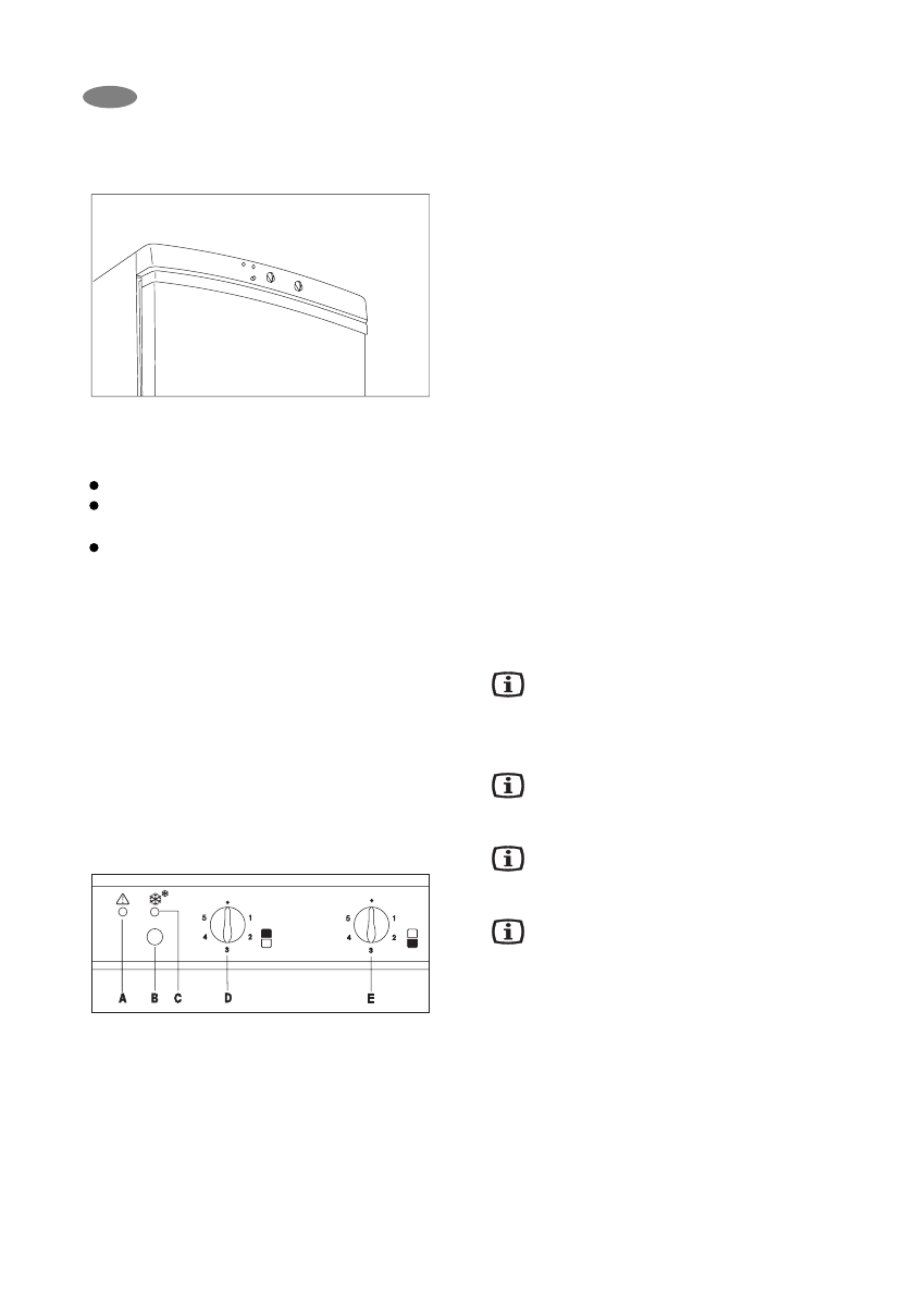
Spinačové a kontrolní zařízení
Ve střešním rámu se nacházejí pod stejným kr ytem násle-
dující jednotky:
A. Červená světelná kontrolka
Svítí v závislosti na vnitřní teplotě mrazící jednotky.
Svítí krátce
bezprostředně po pr vním uvedení do provozu
při uložení čerstvého zboží
Svítí déle
jestliže je v mrazící jednotce příliš teplo (při uložení
příliš velkého množství čerstvého zboží nebo jestliže
jsou dveře příliš dlouho otevřené, resp. jestliže netěs-
ní).
Jestliže má mrazící jednotka provozní poruchu.
B. Spínač pro rychlé zmrazování
Jestliže je tlačítko stisknuté, je kompresor přístroje v
nepřetržitém provozu a žlutá světelná kontrolka stále svítí.
K tomu si prostudujte si kapitolu „Zmrazování“.
C. Žlutá světelná kontrolka
Svítí, jestliže je spínač pro r ychlé zmrazování stisknutý. K
tomu si prostudujte si kapitolu „Zmrazování“.
D. Otočný knoflík k regulaci teploty mrazící jednotky
Slouží k nastavení teploty mrazící jednotky.
E. Otočný knoflík k regulaci teploty chladící jednotky
Slouží k nastavení teploty chladničky.
Uvedení do provozu
Zastrčte prosím síťovou zástrčku do zásuvky.
Chladící jednotka
Ke spuštění procesu chlazení otočte prosím regulátor
teploty („E“) ve směru hodinových ručiček. V poloze „0“
je chladicí jednotka mimo provoz, je ale pod napětím.
Mrazící jednotka
Ke spuštění procesu mrazení otočte prosím regulátor
teploty („D“) ve směru hodinových ručiček. Rozsvítí se
čer vená světelná kontrolka a později zhasne, jak je pop-
sáno v kapitole „Spínačové a kontrolní zařízení“, bod
„Čer vená světelná kontrolka“. V poloze „0“ je mrazící jed-
notka mimo provoz, je však pod napětím.
Nastavení regulátoru teploty
V závislosti na nastavení přerušují regulatory teploty provoz
přístroje na kratší, nebo delší dobu, poté jej opět uvedou
do provozu a zabezpečí tak požadovanou teplotu.
Chladicí jednotka
U chladící jednotky si můžete vybrat několik stupňů
chlazení mezi “Min” a “Max”.
Vyberete-li střední nastavení (mezi minimem a maximem),
je teplota v chladicí jednotce za normálních okolností
mezi 0 a +5 °C. Čím blíže je nastavení k poloze “Max”,
tím je chlazení intenzívnější.
Mrazicí jednotka
Jestliže vyberete střední nastavení, je možno dosáhnout v
mrazicí jednotce teplot až pod -18 °C. Tím je zaručeno
tr valé uskladnění potravin. Tímto je zaručeno tr valé
uskladnění potravin.
Teplota uvnitř přístroje je ovlivňována nejen polohou reg-
ulátorů teploty, ale také okolní teplotou, četností otevírání
dveří, množství čerstvě uložených potravin, atd.
V nejvyšším stupni v případě zvýšeného
zatížení, např. v době letního horka mohou
kompresor y běžet nepřetržitě. Toto přístroji
neškodí.
Jak používat chladničku
Pro správné chlazení je potřebná cirkulace
vzduchu uvnitř chladicí jednotky. Proto byste
neměli spáru za mřížkovými úložnými místy zakr ývat
papírem, podnosy atd..
Nedávejte laskavě do chladicí jednotky žádná
teplá jídla, nechte jídlo nejprve ochladit na
pokojovou teplotu. Tak lze zabránit nežádoucímu
vytváření námrazy.
Jídla mohou absorbovat pachy jiných jídel,
proto byste měli v ledničce uchovávat
potraviny v uzavřené nádobě nebo zabalené v
celofánu, alobalu, svačinovém papíru nebo plastové
fólii. V tomto případě zůstane zachován původní
obsah vlhkosti potravin, uložená zelenina např.
nevyschne ani po několika dnech.
Uchovávání v chladničce
Když dovnitř vkládáte různé druhy potravin, vezměte v
úvahu uspořádání podle obrázku níže:
1. Cukrářské výrobky, hotové pokrmy, pokrmy v
nádobách, čerstvé maso, studené nářezy, nápoje.
2. Mléko, mléčné výrobky, pokrmy v nádobách.
3. Ovoce, zelenina, saláty.












