Холодильник Zanussi ZFU 219 WO - инструкция пользователя по применению, эксплуатации и установке на русском языке. Мы надеемся, она поможет вам решить возникшие у вас вопросы при эксплуатации техники.
Если остались вопросы, задайте их в комментариях после инструкции.
"Загружаем инструкцию", означает, что нужно подождать пока файл загрузится и можно будет его читать онлайн. Некоторые инструкции очень большие и время их появления зависит от вашей скорости интернета.

Tekniska data
Tekniska data framgŒr av typskylten till vŠnster inuti skŒpet.
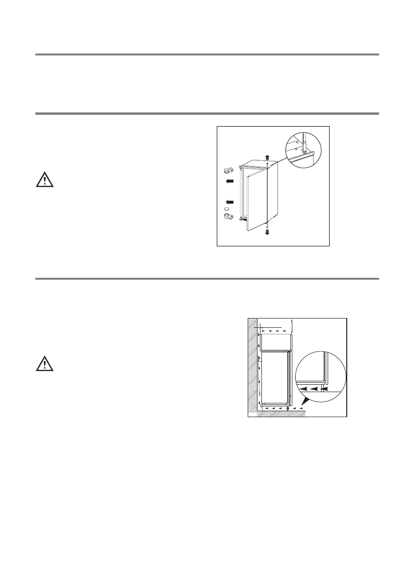
OmhŠngning av dšrr
F š r a t t s k y d d a s k Œ p e t u n d e r t r a n s p o r t h a r k y l -
skŒpsdšrren sŠkrats med gŒngjŠrnssprintar pŒ bŒda
upphŠngningssidorna.
Beroende pŒ dšrrupphŠngning skall sprinten pŒ den
ena sidan avlŠgsnas bŒde upptill och nedtill.
Kontrollera att tŠtningslisten fšr dšrren sitter
fast pŒ skŒpet nŠr du har vŠnt dšrrarna. Om
o m g i v n i n g s t e m p e r a t u r e n Š r l Œ g ( t . e x . p Œ
vintern) kan det hŠnda att tŠtningen inte fŠster
ordentligt pŒ skŒpet. VŠnta i sŒ fall tills den
u t v i d g a s p Œ n a t u r l i g v Š g e l l e r s n a b b a p Œ
p r o c e s s e n g e n o m a t t v Š r m a d e n b e r š r d a
delen med en vanlig hŒrtork pŒ lŒg vŠrme.
B
A
Installation
¥
Packa upp
Packa upp skŒpet och kontrollera att det Šr felfritt
o c h u t a n t r a n s p o r t s k a d o r. E v e n t u e l l a
transportskador ska omedelbart anmŠlas. I Sverige
gšrs anmŠlan till Distrilux Distributionskontor, se
fraktsedeln, eller till ŒterfšrsŠljaren om skŒpet
levererats direkt frŒn butik.
Se till att inga delar av kylsystemet skadas vid
skŒpets transport och uppstŠllning
.
¥ V i s s a d e l a r a v s k Œ p e t v Š r m s u p p u n d e r
anvŠndning. Sšrj dŠrfšr fšr tillrŠcklig ventilation.
BristfŠllig ventilation kan leda till att komponenter
s k a d a s o c h a t t m a t v a r o r f š r s t š r s . S e
installationsanvisningarna.
¥
Viktigt:
om nŠtkabeln skadas mŒste den bytas ut
m e d e n s p e c i a l k a b e l e l l e r e n s a t s s o m k a n
bestŠllas frŒn tillverkaren eller serviceverkstŠder.
Placering
¥
K o n t r o l l e r a a t t s k Œ p e t i n t e u p p v i s a r
transportskador. Ett skadat skŒp fŒr under inga
omstŠndigheter anslutas! Om skador fšreligger -
kontakta leverantšren
.
¥
S k Œ p e t f Œ r i n t e p l a c e r a s n Š r a r a d i a t o r e l l e r
gasspisar.
¥ KylskŒpet skall inte placeras nŠra element, ugnar
eller vara utsatt fšr direkt solljus eller nŠra andra
vŠrmekŠllor.
¥ Ventilationskanal om c:a 200 cm
2
area skall finnas
u n d e r, b a k o m o c h t i l l r u m m e t u p p t i l l f š r u t o m
nischen.
¥
O B S ! S e t i l l a t t v e n t i l a t i o n s š p p n i n g a r i n t e
blockeras.
¥
Av s Š k e r h e t s s k Š l s k a d e n m i n i m a l a
ventilationen vara som framgŒr av figuren.
¥ Det Šr viktigt att nischen Šr fšrsedd med tillrŠckligt
utrymme fšr ventilation med fšljande dimensioner.
Djup
50mm
Bredd 540 mm
50 mm
min.
200 cm
2
200 cm
2
min.
D526
8












