Холодильник Zanussi ZBA 3154A - инструкция пользователя по применению, эксплуатации и установке на русском языке. Мы надеемся, она поможет вам решить возникшие у вас вопросы при эксплуатации техники.
Если остались вопросы, задайте их в комментариях после инструкции.
"Загружаем инструкцию", означает, что нужно подождать пока файл загрузится и можно будет его читать онлайн. Некоторые инструкции очень большие и время их появления зависит от вашей скорости интернета.

Controleer regelmatig of het
dooiwaterafvoergootje niet verstopt is. Als het
afvoergootje verstopt is, kan het dooiwater schade
veroorzaken aan de isolatie van het apparaat.
Maak het gootje schoon m.b.v. het meegeleverde
krabber tje (zie afb.). Het krabber tje kunt u weer in het
gootje opbergen.
Controleer regelmatig of het dooiwaterafvoergootje niet
verstopt is.
Meestal raakt het afvoergootje verstopt door in papier
verpakte levensmiddelen. Het papier komt in aanraking
met de achterzijde van de koelruimte en vriest daaraan
vast. Als u de levensmiddelen uit de koelruimte haalt,
scheur t het papier en dat kan tot verstopping van het
afvoergootje leiden. Doe dus voorzichtig met in papier
verpakte levensmiddelen.
Als erg veel koelvermogen nodig is, bijv. tijdens
een hittegolf, werkt de koelkast soms continu. Er
wordt dan niet automatisch ontdooid.
Het is niet abnormaal als er na het ontdooien kleine
restjes ijs en rijp op de achterkant van de koelruimte
achterblijven.
De vriesruimte kan niet automatisch ontdooid worden,
omdat de diepvriesproducten geen hogere temperaturen
kunnen verdragen.
De laag ijs kan afgeschraapt en ver wijderd worden met
een plastic schraper, mits de laag niet te dik is.
Als de ijslaag zo dik is, dat hij niet met de kunststof
schraper ver wijderd kan worden, moet de vriesruimte
ontdooid worden (in het algemeen 2 tot 3 keer per jaar).
Neem de levensmiddelen uit de koel- en vriesruimte en
wikkel ze in enkele lagen krantenpapier of dekens.
Bewaar ze op een zo koel mogelijke plaats.
Maak het apparaat spanningloos en laat de deuren van
vries- en koelruimte open.
Veeg het dooiwater aldoor met een zachte doek of spons
weg.
Na het ontdooien de binnenzijde van vries- en koelruimte
droog wrijven, de stekker weer in het stopcontact steken
en de levensmiddelen weer in het apparaat leggen.
Zet na het ontdooien de temperatuurregelaar op de
hoogste stand, zodat het apparaat zo snel mogelijk weer
de geschikte bewaar temperatuur kan bereiken.
Reiniging
Gebruik nooit metalen voorwerpen om uw
apparaat schoon te maken, het kan
beschadigd raken. Gebruik NOOIT
reinigingsmiddelen, schuurpoeders, zeer
gepar fumeerde reinigingsproducten of
waspolijstmiddelen om de binnenkant mee te
reinigen, aangezien deze middelen het oppervlak
beschadigen en een sterke geur achterlaten.
Reinig het interieur met warm water en bicarbonaat of
soda. Spoel af en maak grondig schoon.
Om een veilige bediening van de koelkast te garanderen,
dient u een keer per jaar het ventilatierooster aan de
onderkant te verwijderen en de luchtkanalen met een
stofzuiger uit te zuigen.
Als het apparaat niet in gebruik is
Haal de stekker uit het stopcontact.
Haal al het voedsel eruit en maak het apparaat schoon,
laat de deur op een kier staan om geur tjes te voorkomen.
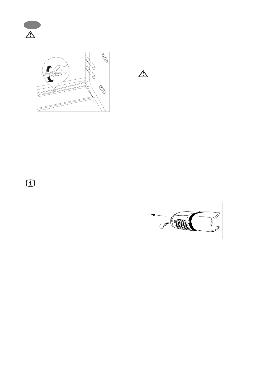
Lamp vervangen
Als de lamp kapot is, kunt u hem als volgt ver vangen:
Trek de stekker uit het stopcontact.
Schroef de afdekking los en trek hem in de richting van
de pijl. Nu kunt u de lamp ver vangen. (Type gloeilamp:
Mignon 322, 230 V, 15 W, fitting E 14)
Zet daarna de afdekking weer terug, draai de schroef
vast en steek de stekker in het stopcontact.
Als de lamp defect is, heeft dat geen nadelige invloed op
de werking van de koelruimte.
18
N
NL
L