Холодильник Sharp SJ-PT441R HS - инструкция пользователя по применению, эксплуатации и установке на русском языке. Мы надеемся, она поможет вам решить возникшие у вас вопросы при эксплуатации техники.
Если остались вопросы, задайте их в комментариях после инструкции.
"Загружаем инструкцию", означает, что нужно подождать пока файл загрузится и можно будет его читать онлайн. Некоторые инструкции очень большие и время их появления зависит от вашей скорости интернета.

4
"&'.>0$&,
“Plasmacluster”
L$()8'%$&
“Plasmacluster”
'.%$"'%)6#3-)
('6)('#%
&'5$%7
+&)
.-0;6#())
"$&$8)0*($9
-'"#&!
=$0$,)0*()-'
.
J-5
&$+*'2
&6*,0<..
4'@")%#
-($+-7
“
” (
P.#%
1'3(#%
).
J-5
'0M0-0
&6*,0<..
P($.'
('@")%#
-($+-7
“
”.
1*78-.,&#/0
O*+6*,0$8,2
N$0$,)0*()-
ª)&7#%
%#"+#&'%7&7
'.%$"'%)6#3-)
.
G,('-$
,
#30)
(#$5=$,)"$
,
73%'($.)%#
%#"+#&'%7&7
30#,7;:)"
$5&'8$"
.
Q&-&;.-='05
/0+*,0
K#170)&7#%3/
.
+&#,#0'=
$%
0°C
,$
6°C
3
?'1$"
1°C.
1
4'@")%#
-($+-7
.!5$&'
.
2
4'@")%#
-($+-7
/
)
73%'($.)%#
%#"+#&'%7&7
.
[
:
7.#0)6#()#
,
:
7"#(*?#()#
]
3
4'@")%#
-($+-7
“
”.
9&,&>.-='05
/0+*,0
K#170)&7#%3/
.
+&#,#0'=
$%
-13°C
,$
-21°C
3
?'1$"
1°C.
1
4'@")%#
-($+-7
.!5$&'
.
2
4'@")%#
-($+-7
/
)
73%'($.)%#
%#"+#&'%7&7
.
[
:
7.#0)6#()#
,
:
7"#(*?#()#
]
3
4'@")%#
-($+-7
“
”.
!.7'0-
&$/,2$&:
;#*,<2
230)
,.#&C'
=$0$,)0*()-'
)0)
"$&$8)0*()-'
$3%'.0#('
$%-&!%$9
,
('6(#%
8.76'%*
3)1('0
$%-&!%$9
,.#&C!
.
•
Q.7-$.$9
3)1('0
57,#%
8.76'%*
6#
1
")(7%7
+$30#
$%-&!.'()/
,.#&C!
)
#:#
&'8
6#
1
")(7%7
(
$,)(
&'8
.
-'@,$"
3076'#
).
•
230)
,.#&C'
57,#%
$3%'.'%*3/
$%-&!%$9
.
%#6#()#
+&)50)8
. 3
")(7%
,
3)1('0
57,#%
8.76'%*
(#+&#&!.($
.
J-5
&$+*'2
>#8/&#&7&
(.7'0-0
4'@)"'9%#
-($+-7
.!5$&'
(#+&#&!.($
.
%#6#()#
3
3#-7(,
)0)
5$0##
,
$,($.&#"#(($
7,#&@).'/
('@'%$9
-($+-7
“
”.
R%$
.!+$0(/#%3/
%'-)"
@#
"#%$,$"
,
-'-
)
+$.%$&($#
.-0;6#()#
3)1('0'
.
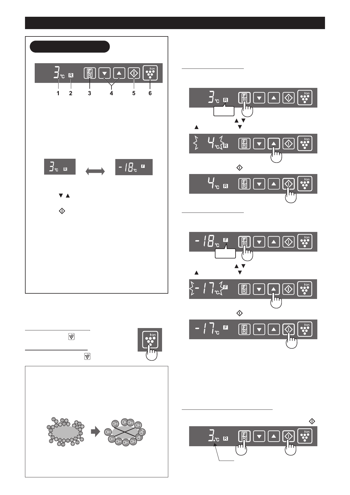
RK!3S BOBT"U
1.
J.(6-*:
8($0'&#/.
$*+6*,0$8,2
4'
,)3+0##
+$-'8'('
+&#,.'&)%#0*($
73%'($.0#(('/
%#"+#&'%7&'
.!5&'(($9
-'"#&!
.
R%$
(#
D'-%)6#3-'/
%#"+#&'%7&'
-'"#&!
.
2.
J.(6-*:
#2?,0''&:
/0+*,2
3.
K'&6/0
#2?&,0
L8"#()%*
.!5$&
-'"#&!
"$@($
3
+$"$:*;
,'(($9
-($+-)
.
4.
K'&6/0
/
L3+$0*87#%3/
,0/
73%'($.-)
%#"+#&'%7&!
.
5.
K'&6/0
Q'.#&?'#%
73%'($.-7
%#"+#&'%7&!
.
6.
K'&6/0
.&'.>0$&,0
“Plasmacluster”
.
;.(6-*:
4'@")%#
,0/
.-0;6#()/
/
$%-0;6#()/
)$()8'%$&'
“Plasmacluster”.
31"9@ABC"@
•
A)3+0#9
73%'($.-)
%#"+#&'%7&!
)
.!5&'(($9
-'"#&!
$%-0;6)%3/
+&)
$%37%3%.))
,#93%.)9
.
%#6#()#
1
")(7%!
. (
G(
3($.'
.-0;6)%3/
+&)
('@'%))
0;5$9
)8
-($+$-
.)
•
A)3+0#9
)$()8'%$&'
“Plasmacluster”
$3%'#%3/
$3.#:#((!"
.
30'*-=
86,0#-*'.5
4'@")%#
-($+-7
.!5$&'
>#&.$('6'0*(!9
,)3+0#9
,0/
=$0$,)0*($9
-'"#&!
>#&.$('6'0*(!9
,)3+0#9
,0/
"$&$8)0*($9
-'"#&!
3,.+*M0'.5
&$'&(.$*-='&
H8'/<.&'.,�'.5
"&'.>0$&,0
“Plasmacluster”
L$()8'%$&
.(7%&)
"$&$8)0*($9
-'"#&!
'?#1$
=$0$,)0*()-'
.!&'5'%!.'#%
)$(!
,
-$%$&!#
+&#,3%'.0/;%
3$5$9
1&7++$.!#
"'33!
+$0$@)%#0*(!=
)
$%&)C'%#0*(!=
)$($.
.
"$&$8)0*($9
)
=$0$,)0*($9
-'"#&#
.
R%)
1&7++!
)$($.
,#'-%).)&7;%
+#&#($3)"!#
+$
.$8,7=7
1&)5-)
+0#3#()
.
•
"$&$8)0*($9
-'"#&#
=$0$,)0*()-'
"$@#%
5!%*
(#8('6)%#0*(!9
8'+'=
.
G(
+&#,3%'.0/#%
8'+'=
$8$('
,
1#(#&)&7#"$1$
)$()8'%$&$"
.
<$0)6#3%.$
$8$('
/.0/#%3/
")()"'0*(!"
,
)
$(
5!3%&$
&'80'1'#%3/
('
3$3%'.(!#
6'3%)
.
"$&$8)0*($9
-'"#&#
=$0$,)0*()-'
.
E,.?/.
6-*(*'.
1$&)%
1$&)%
S-'8!.'#%
('
+&#-&':#()#
3)1('0'
$%-&!%$9
,.#&C!
.
(A882)Rus.fm Page 4 Thursday, February 14, 2008 1:11 PM