Холодильник Gorenje NRKI2181E1 - инструкция пользователя по применению, эксплуатации и установке на русском языке. Мы надеемся, она поможет вам решить возникшие у вас вопросы при эксплуатации техники.
Если остались вопросы, задайте их в комментариях после инструкции.
"Загружаем инструкцию", означает, что нужно подождать пока файл загрузится и можно будет его читать онлайн. Некоторые инструкции очень большие и время их появления зависит от вашей скорости интернета.

14
627347
УСТАНОВКА ТЕМПЕРАТУРЫ
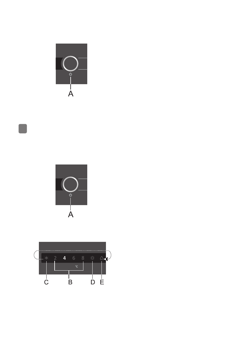
ВКЛЮЧЕНИЕ И ВЫКЛЮЧЕНИЕ ПРИБОРА
Включение прибора
Нажмите и удерживайте 3 секунды кнопку
А.
Выключение прибора
Нажмите и удерживайте 3 секунды кнопку
А
(прибор выключен, но находится под
напряжением).
• Нажимая на кнопку
А
, установите
необходимую температуру.
• Нажимайте на кнопку, пока на панели
управления не загорится необходимое
значение.
• При первом нажатии мигает текущее
значение или функция, дальнейшие нажатия
меняют значение циклически справа налево.
• Через три секунды последнее выбранное
значение перестанет мигать и сохранится в
памяти прибора.
Цифры 2, 4, 6 и 8 обозначают температуру в
холодильном отделении в градусах Цельсия (°C).
• Рекомендуемая температура +4°С, так
как она наилучшим образом обеспечивает
сохранение качества и свежести продуктов.
• Температура холодильного отделения влияет
на температуру морозильного отделения,
поэтому для понижения температуры
в морозильном отделении установите
более низкую температуру в холодильном
отделении.
• Если температура в помещении, где
установлен прибор, ниже +16°С,
рекомендуется установить температуру в
приборе ниже +4°С.
• Прибор поставляется с установленной рекомендуемой температурой в холодильном
отделении 4°С, в морозильном отделении -18°С.
• При включении прибора набор заданной температуры может занять несколько
часов, поэтому не загружайте продукты в прибор.
i
Характеристики
Остались вопросы?Не нашли свой ответ в руководстве или возникли другие проблемы? Задайте свой вопрос в форме ниже с подробным описанием вашей ситуации, чтобы другие люди и специалисты смогли дать на него ответ. Если вы знаете как решить проблему другого человека, пожалуйста, подскажите ему :)












