Холодильник Gorenje NRK6191EW5F - инструкция пользователя по применению, эксплуатации и установке на русском языке. Мы надеемся, она поможет вам решить возникшие у вас вопросы при эксплуатации техники.
Если остались вопросы, задайте их в комментариях после инструкции.
"Загружаем инструкцию", означает, что нужно подождать пока файл загрузится и можно будет его читать онлайн. Некоторые инструкции очень большие и время их появления зависит от вашей скорости интернета.

38
817697
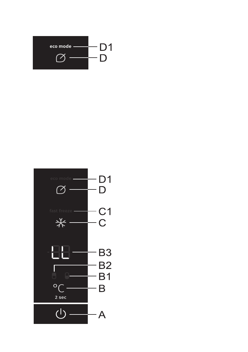
ФУНКЦІЯ ECO
Увімкнення.
Щоб активувати функцію
Eco
,
швидко натисніть кнопку
D
. Засвітиться
символ
D1
.
Коли ця функція активована, прилад працює
з оптимальними налаштуваннями.
Якщо активована функція інтенсивного
заморожування або функція
розморожування морозильної камери
вручну, функцію
Eco
неможливо активувати.
Вимкнення.
Щоб вимкнути функцію
Eco
, ще раз швидко натисніть кнопку
D
. Температуру
буде знову встановлено на рівні останнього вибраного значення.
Функцію
Eco
також буде вимкнуто, коли ви використовуєте кнопку
B
для зміни налаштування
температури в холодильній камері або коли ви використовуєте кнопку C, щоб активувати
функцію інтенсивного заморожування.
БЛОКУВАННЯ ВІД ДІТЕЙ
Увімкнення.
Щоб активувати блокування від
дітей, натисніть кнопки
A
й
D
та утримуйте її
протягом двох секунд. Індикація
LL
швидко
з’явиться на дисплеї
B3
.
Функція блокує всі кнопки, крім
A
й
D.
Вимкнення.
Щоб вимкнути функцію, знову
натисніть і утримуйте кнопки
A
й
D
.
У разі вимкнення або переривання
живлення роботу функції буде знову
активовано або відновлено.
Характеристики
Остались вопросы?Не нашли свой ответ в руководстве или возникли другие проблемы? Задайте свой вопрос в форме ниже с подробным описанием вашей ситуации, чтобы другие люди и специалисты смогли дать на него ответ. Если вы знаете как решить проблему другого человека, пожалуйста, подскажите ему :)