Холодильник Electrolux EUN 1101 AOW - инструкция пользователя по применению, эксплуатации и установке на русском языке. Мы надеемся, она поможет вам решить возникшие у вас вопросы при эксплуатации техники.
Если остались вопросы, задайте их в комментариях после инструкции.
"Загружаем инструкцию", означает, что нужно подождать пока файл загрузится и можно будет его читать онлайн. Некоторые инструкции очень большие и время их появления зависит от вашей скорости интернета.

5.2
Avfrostning av frysen
En viss mängd frost bildas alltid på fry-
shyllorna och runt det övre facket.
Frosta av frysen när frostlagret har en
tjocklek på cirka 3–5 mm.
Cirka 12 timmar före avfrostning-
en, ställ in temperaturreglaget på
en hög inställning för att bygga
upp en tillräcklig kylreserv för
driftsavbrottet
Gör enligt följande för att avlägsna frosten:
1.
Stäng av produkten.
2.
Plocka ut matvarorna, slå in dem i fle-
ra lager med tidningspapper och lägg
dem på en sval plats.
FÖRSIKTIGHET
Ta inte i fryst mat med våta hän-
der. Dina händer kan frysa fast vid
matvarorna.
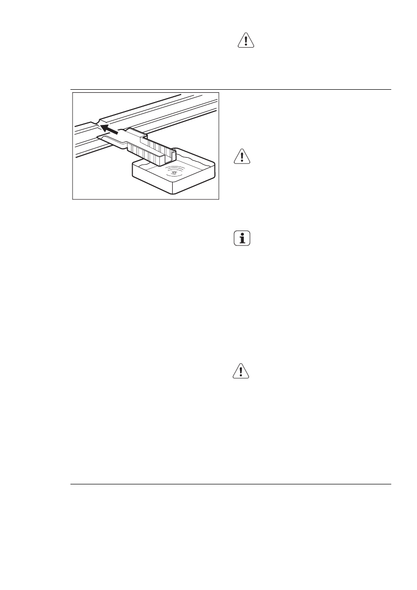
3.
Låt dörren stå öppen och sätt fast
plastskrapan längst ned i mitten och
placera en behållare undertill för att
samla upp avfrostningsvattnet.
För att påskynda avfrostningspro-
cessen kan du placera en skål
med varmt vatten i frysfacket. Du
kan också ta bort isbitar som
lossnar innan avfrostningen är
klar.
4.
När avfrostningen är klar torkar du
noga av produktens insida. Spara
skrapan för framtida bruk.
5.
Sätt på produkten.
6.
Efter 2-3 timmar kan du lägga tillbaka
matvarorna som du tidigare plockade
ut ur frysen
Använd aldrig vassa metallverktyg för att
skrapa av frost från evaporatorn, eftersom
den kan skadas.
Använd inga mekaniska verktyg eller and-
ra medel för att påskynda avfrostnings-
processen utöver de som rekommende-
ras av tillverkaren.
En temperaturökning hos frysta matför-
packningar kan förkorta tiden som de kan
förvaras utan säkerhetsrisk.
5.3
Långa uppehåll
Följ nedanstående anvisningar om pro-
dukten inte skall användas under en läng-
re tidsperiod:
•
koppla loss produkten från elutta-
get
• plocka ur alla matvaror
• avfrosta (i förekommande fall) och ren-
gör produkten samt alla tillbehör
• Låt dörren/dörrarna stå på glänt så att
inte dålig lukt bildas.
Om produkten lämnas påslagen, be nå-
gon titta till den då och då så att inte mat-
varorna i den förstörs i händelse av strö-
mavbrott.
SVENSKA
67












