Холодильник Electrolux ERZ 3600 - инструкция пользователя по применению, эксплуатации и установке на русском языке. Мы надеемся, она поможет вам решить возникшие у вас вопросы при эксплуатации техники.
Если остались вопросы, задайте их в комментариях после инструкции.
"Загружаем инструкцию", означает, что нужно подождать пока файл загрузится и можно будет его читать онлайн. Некоторые инструкции очень большие и время их появления зависит от вашей скорости интернета.

Ýêñïëóàòàöèÿ ìîðîçèëüíèêà
Âêëþ÷åíèå è ðåãóëèðîâàíèå
òåìïåðàòóðû
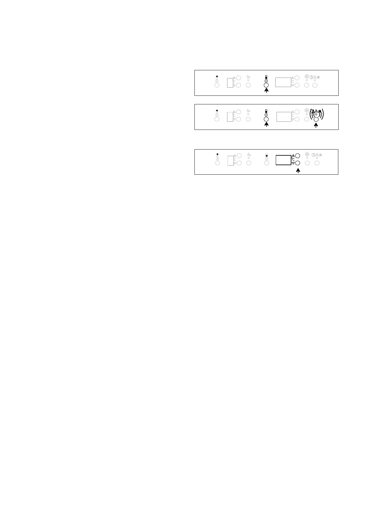
Âêëþ÷åíèå:
 ê ë þ÷ è òå ì î ð î ç è ë ü í ó þ ê à ì å ðó, í à æ à â
âûêëþ÷àòåëü ïèòàíèÿ ìîðîçèëüíèêà.
Åñëè òåìïåðàòóðà âíóòðè ìîðîçèëüíèêà ðàâíà
êîìíàòíîé, ðàçäàåòñÿ çâóêîâîé ñèãíàë, êîòîðûé
ñëåäóåò îòêëþ÷èòü, íàæàâ íà êíîïêó åãî ñáðîñà.
Ðåãóëèðîâàíèå òåìïåðàòóðû:
Íàæèìàéòå íà êíîïêè ðåãóëèðîâêè òåìïåðàòóðû,
ï î ê à í à ä è ñ ï ë å å í å ç à ì è ã à å ò í ó æ í à ÿ
òåìïåðàòóðà (â äèàïàçîíå îò -15°Ñ äî -24°Ñ).
Äëÿ ïîâûøåíèÿ òåìïåðàòóðû íàæèìàéòå íà “+”,
äëÿ ïîíèæåíèÿ òåìïåðàòóðû íàæèìàéòå íà “-”.
Ïîñëå ýòîãî äèñïëåé áóäåò ïîêàçûâàòü òåêóùóþ
òåìïåðàòóðó âíóòðè ìîðîçèëüíèêà.
Ïîñëå âûñòàâëåíèÿ òåìïåðàòóðû ìîðîçèëüíèêó
ñëåäóåò äàòü ïîðàáîòàòü â òå÷åíèå ñóòîê, äëÿ
ò î ã î ÷ ò î á û ò å ì ï å ð à ò ó ð à ó ñ ï å ë à
ñáàëàíñèðîâàòüñÿ.
Åñëè ìîðîçèëüíèê âêëþ÷àåòñÿ ïîñëå ïåðåðûâà
â ýêñïëóàòàöèè, âûñòàâëÿòü òåìïåðàòóðó çàíîâî
íå òðåáóåòñÿ. Òåðìîòàò àâòîìàòè÷åñêè âûáåðåò
òó òåìïåðàòóðó, íà êîòîðóþ îí áûë âûñòàâëåí
äî âûêëþ÷åíèÿ.
Òåìïåðàòóðà âíóòðè
ìîðîçèëüíèêà
Äëÿ òîãî ÷òîáû ïðîäóêòû õðàíèëèñü êàê ìîæíî
äîëüøå, òåìïåðàòóðà âíóòðè ìîðîçèëüíèêà
ä î ë æ í à á û ò ü - 1 8 ° Ñ è ë è í è æ å . Î á ð à ò è ò å
â í è ì à í è å í à ò î , ÷ ò î ï î ì å ð å ñ í è æ å í è ÿ
òåìïåðàò óðû ïîòðåáëåíèå ýëåê òðîýíåðãèè
âîçðàñòàåò.
Äèñïëåé òåðìîìåòðà ïîêàçûâàåò òåìïåðàòóðó
â ñàìîé òåïëîé òî÷êå âíóòðè ìîðîçèëüíèêà. Äëÿ
òîãî ÷òîáû èçìåðèòü òåìïåðàòóðó îáû÷íûì
òåðìîìåòðîì, åãî ñëåäóåò ïîìåñòèòü ìåæäó
-18
5
20
5
-18
5
10
Electrolux 818 34 44-0
1/0












