Холодильник Electrolux ERF 3301 AOW (AOX) - инструкция пользователя по применению, эксплуатации и установке на русском языке. Мы надеемся, она поможет вам решить возникшие у вас вопросы при эксплуатации техники.
Если остались вопросы, задайте их в комментариях после инструкции.
"Загружаем инструкцию", означает, что нужно подождать пока файл загрузится и можно будет его читать онлайн. Некоторые инструкции очень большие и время их появления зависит от вашей скорости интернета.

4. ЖҰМЫС ЖҮЙЕСІ
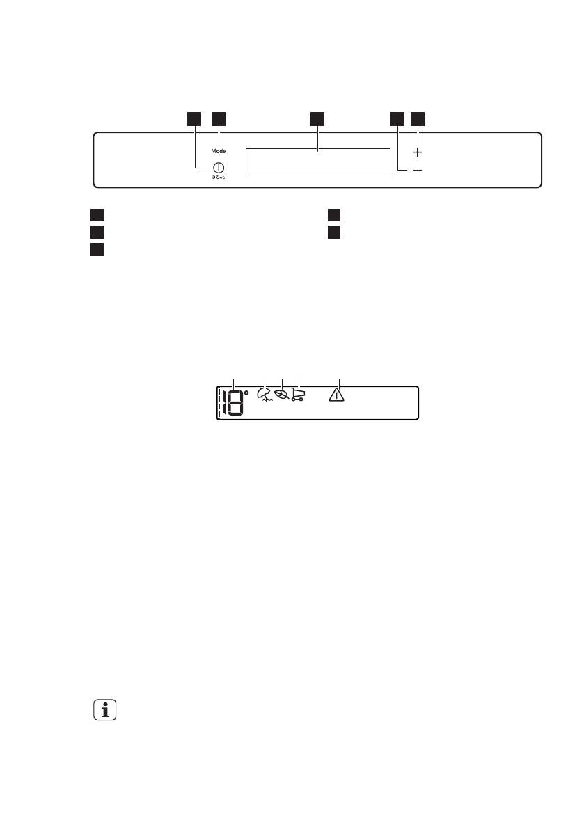
4.1 Басқару панелі
1
2
3
4
5
1
ON/OFF
2
Mode
3
Дисплей
4
Суығырақ температураға қою тетігі
5
Жылырақ температураға қою тетігі
Түймешіктердің алдын ала қойылған
сигналдарын Mode және суығырақ
температураға қою түймешіктерін
бірнеше секунд бірге басып қатайтуға
болады. Осыны қайта өзгертуге
болады.
Дисплей
A
B C D
E
A) Температура индикаторы
B) Holiday режимі
C) EcoMode
D) ShoppingMode
E) “Есік ашық” индикаторы
4.2 Іске қосу
Ашаны розеткаға сұғыңыз
1. Бейнебет сөніп тұрса, ON/OFF
түймешігін басыңыз.
Температура индикаторлары
орнатылған әдепкі температураны
көрсетеді.
2. Бірнеше секундтан кейін ескерту
құралынан сигнал естілуі мүмкін.
Егер бейнебетте "DEMO"
көрсетілсе, құрылғы демо-режимде
тұр. "Ақаулықты түзету..." тарауын
қараңыз.
Орнатылған басқа
температураны таңдау
үшін "Температураны
реттеу" тарауын қараңыз.
4.3 Сөндіру
ON/OFF түймешігін 3 секунд басыңыз.
Бейнебет сөнеді.
Құрылғыны электр желісінен ағыту
үшін ашаны розеткадан суырыңыз.
4.4 Температураны реттеу
Тоңазытқыштың орнатылған
температурасын температура
түймешігін басып реттеуге болады.
Орнатылған әдепкі температура:
тоңазытқыш үшін +4°C.
Температура индикаторы орнатылған
температураны көрсетеді.
Таңдалған температура 24 сағат
ішінде орнайды.
ҚАЗАҚ
7
Содержание
- 21 возможностями; Общие правила техники безопасности
- 22 УКАЗАНИЯ ПО БЕЗОПАСНОСТИ
- 23 электросети
- 24 Внутреннее освещение
- 25 Панель управления
- 26 Регулировка температуры
- 27 Предупреждение об; открытой дверце; ЕЖЕДНЕВНОЕ ИСПОЛЬЗОВАНИЕ
- 28 Первое подключение к; электропитанию; Передвижные полки
- 29 Нормальные звуки во; время работы
- 30 поверхностей; Периодическая чистка; холодильника
- 31 Перерывы в эксплуатации; ПОИСК И УСТРАНЕНИЕ НЕИСПРАВНОСТЕЙ
- 34 Закрывание дверцы
- 36 Перевешивание дверцы
- 37 ТЕХНИЧЕСКИЕ ДАННЫЕ; Технические данные; ОХРАНА ОКРУЖАЮЩЕЙ СРЕДЫ
Характеристики
Остались вопросы?Не нашли свой ответ в руководстве или возникли другие проблемы? Задайте свой вопрос в форме ниже с подробным описанием вашей ситуации, чтобы другие люди и специалисты смогли дать на него ответ. Если вы знаете как решить проблему другого человека, пожалуйста, подскажите ему :)