Холодильник Electrolux ERE 3900 X - инструкция пользователя по применению, эксплуатации и установке на русском языке. Мы надеемся, она поможет вам решить возникшие у вас вопросы при эксплуатации техники.
Если остались вопросы, задайте их в комментариях после инструкции.
"Загружаем инструкцию", означает, что нужно подождать пока файл загрузится и можно будет его читать онлайн. Некоторые инструкции очень большие и время их появления зависит от вашей скорости интернета.

4
Electrolux 818 20 74-00/8
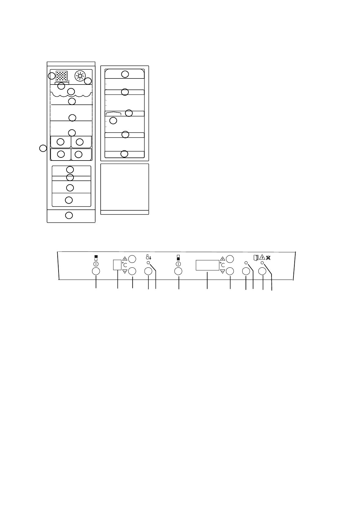
Êîíòðîëüíàÿ ïàíåëü
Îïèñàíèå õîëîäèëüíèêà
A Âûêëþ÷àòåëü ïèòàíèÿ õîëîäèëüíèêà
Èñïîëüçóåòñÿ äëÿ âêëþ÷åíèÿ è âûêëþ÷åíèÿ
õîëîäèëüíèêà.
 Äèñïëåé òåðìîìåòðà
Ï î ê à ç û â à å ò ñ ð å ä í þ þ ò å ì ï å ð à ò ó ð ó â
õîëîäèëüíîé êàìåðå.
Ñ Ê í î ï ê è ð å ã ó ë è ð î â ê è ò å ì ï å ð à ò ó ð û /
òåðìîñòàò
Èñïîëüçóþòñÿ äëÿ ðåãóëèðîâàíèÿ òåìïåðàòóðû
â õîëîäèëüíîé êàìåðå.
D Êíîïêà áûñòðîãî îõëàæäåíèÿ
Èñïîëüçóåòñÿ äëÿ âêëþ÷åíèÿ è âûêëþ÷åíèÿ
ôóíêöèè áûñòðîãî îõëàæäåíèÿ.
E Æåëòàÿ ñèãíàëüíàÿ ëàìïî÷êà
Ãî ð è ò ï ð è â ê ë þ÷ å í í î ì ð åæ è ì å á û ñ ò ð î ãî
îõëàæäåíèÿ.
F Âûêëþ÷àòåëü ïèòàíèÿ ìîðîçèëüíèêà
Èñïîëüçóåòñÿ äëÿ âêëþ÷åíèÿ è âûêëþ÷åíèÿ
ìîðîçèëüíèêà.
G Äèñïëåé òåðìîìåòðà
Ïîêàçûâàåò ñàìóþ âûñîêóþ òåìïåðàòóðó â
ìîðîçèëüíîé êàìåðå.
Í Ê í î ï ê è ð å ã ó ë è ð î â ê è ò å ì ï å ð à ò ó ð û /
òåðìîñòàò
È ñ ï î ë ü ç ó þ ò ñ ÿ ä ë ÿ ð å ã ó ë è ð î â à í è ÿ
òåìïåðàòóðû â ìîðîçèëüíîé êàìåðå.
I Êíîïêà áûñòðîãî çàìîðàæèâàíèÿ
Èñïîëüçóåòñÿ äëÿ âêëþ÷åíèÿ è âûêëþ÷åíèÿ
ôóíêöèè áûñòðîãî çàìîðàæèâàíèÿ.
J Æåëòàÿ ñèãíàëüíàÿ ëàìïî÷êà
Ãîðèò ïðè âêëþ÷åííîì ðåæèìå áûñòðîãî
çàìîðàæèâàíèÿ.
K Êíîïêà ñáðîñà àâàðèéíîãî çâóêîâîãî
ñèãíàëà
Èñïîëüçóåòñÿ äëÿ âûêëþ÷åíèÿ àâàðèéíîãî
çâóêîâîãî ñèãíàëà.
L Êðàñíàÿ ñèãíàëüíàÿ ëàìïî÷êà
Ìèãàåò â ñëó÷àå âêëþ÷åíèÿ àâàðèéíîãî
ñèãíàëà.
Ìîäåëü ERE3900/ERE3900X
1.
Ñòåêëÿííàÿ ïîëêà
2.
Ïîëêà-êðîíøòåéí äëÿ áóòûëîê
3.
ßùèê äëÿ îâîùåé
4.
Îòäåëåíèå äëÿ ìàñëà
5.
Äâåðíàÿ ïîëêà
6.
Ïîäñòàâêà äëÿ ÿèö
7.
Ïîëêà äëÿ áóòûëîê
8.
Ï î ä í î ñ ä ë ÿ ç à ì î ð à æ è â à í è ÿ ñ
àêêóìóëÿòîðîì õîëîäà
9.
ßùèê ìîðîçèëüíèêà
10.
Âåíòèëÿöèîííàÿ ðåøåòêà
11.
Ðåøåòêà
12.
Äåðæàòåëü äëÿ áóòûëîê è áàíîê
13.
Ïîëêà äëÿ áûñòðîãî îõëàæäåíèÿ
10
5
5
5
4
6
1
1
1
1
13
2
3
3
3
3
8
9
9
9
7
11
12
*
-
-18
5
ACTION COOL
ACTION FREEZE
A
B
C
D E
F
G
H
I J
K L












