Холодильник Electrolux ERC 25010 W - инструкция пользователя по применению, эксплуатации и установке на русском языке. Мы надеемся, она поможет вам решить возникшие у вас вопросы при эксплуатации техники.
Если остались вопросы, задайте их в комментариях после инструкции.
"Загружаем инструкцию", означает, что нужно подождать пока файл загрузится и можно будет его читать онлайн. Некоторые инструкции очень большие и время их появления зависит от вашей скорости интернета.

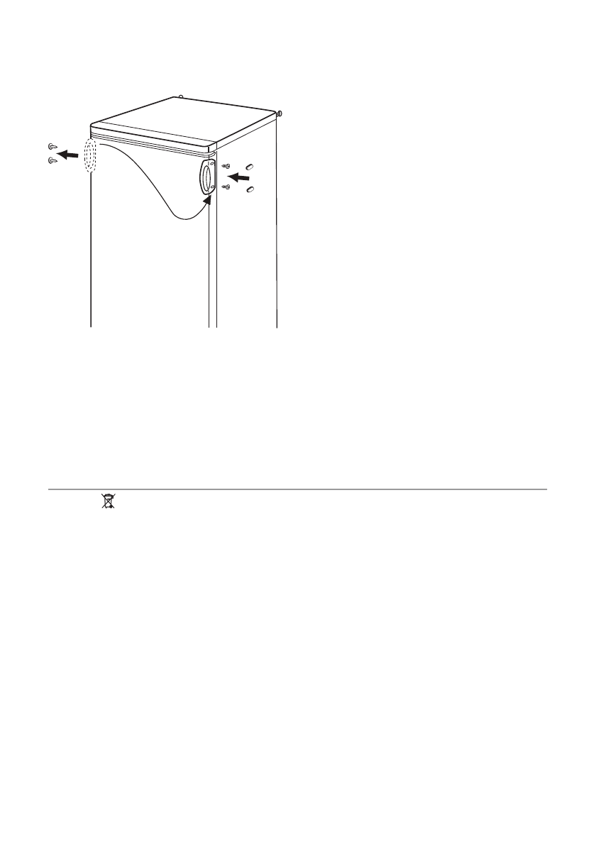
15. Scoate
ţ
i
ş
i reinstala
ţ
i mânerul
9)
pe par-
tea opus
ă
.
1
2
3
16. Pune
ţ
i la loc aparatul, regla
ţ
i-i pozi
ţ
ia ori-
zontal
ă
, a
ş
tepta
ţ
i cel pu
ţ
in patru ore,
apoi conecta
ţ
i-l la priz
ă
.
Efectua
ţ
i o verificare final
ă
pentru a v
ă
asigu-
ra c
ă
:
• Toate
ş
uruburile sunt bine strânse.
• U
ş
a se deschide
ş
i se închide corect.
Dac
ă
temperatura ambiant
ă
este sc
ă
zut
ă
(de
ex. iarna), este posibil ca garnitura s
ă
nu se
potriveasc
ă
perfect la aparat. În acest caz,
a
ş
tepta
ţ
i pân
ă
când garnitura se potrive
ş
te în
mod natural.
Dac
ă
nu dori
ţ
i s
ă
realiza
ţ
i singur opera
ţ
iile de
mai sus, v
ă
rug
ă
m adresa
ţ
i-v
ă
celui mai apro-
piat serviciu de asisten
ţă
dup
ă
vânzare. Ser-
viciul de asisten
ţă
dup
ă
vânzare va schimba
direc
ţ
ia de deschidere a u
ş
ilor pe cheltuiala
dvs.
Conexiunea electric
ă
Înainte de a conecta aparatul, asigura
ţ
i-v
ă
c
ă
tensiunea
ş
i frecven
ţ
a indicate pe pl
ă
cu
ţ
a cu
datele tehnice corespund cu sursa de ali-
mentare a locuin
ţ
ei dv.
Aparatul trebuie s
ă
fie legat la p
ă
mânt.
Ş
te-
cherul cablului electric este prev
ă
zut cu un
contact în acest scop. Dac
ă
priza din locuin
ţă
nu este legat
ă
la p
ă
mânt, conecta
ţ
i aparatul
la o împ
ă
mântare separat
ă
, în conformitate
cu reglement
ă
rile în vigoare, dup
ă
ce a
ţ
i con-
sultat un electrician calificat.
Produc
ă
torul nu-
ş
i asum
ă
nicio responsabi-
litate dac
ă
aceste m
ă
suri de siguran
ţă
nu
sunt respectate.
Acest aparat este conform cu Directivele
C.E.E.
Informa
ţ
ii privind mediul
Simbolul
e pe produs sau de pe ambalaj
indic
ă
faptul c
ă
produsul nu trebuie aruncat
împreun
ă
cu gunoiul menajer. Trebuie predat
la punctul de colectare corespunz
ă
tor pentru
reciclarea echipamentelor electrice
ş
i
electronice. Asigurându-v
ă
c
ă
a
ţ
i eliminat în
mod corect produsul, ajuta
ţ
i la evitarea
poten
ţ
ialelor consecin
ţ
e negative pentru
mediul înconjur
ă
tor
ş
i pentru s
ă
n
ă
tatea
persoanelor, consecin
ţ
e care ar putea deriva
din aruncarea necorespunz
ă
toare a acestui
produs. Pentru mai multe informa
ţ
ii detaliate
despre reciclarea acestui produs, v
ă
rug
ă
m
s
ă
contacta
ţ
i biroul local, serviciul pentru
eliminarea de
ş
eurilor sau magazinul de la
care l-a
ţ
i achizi
ţ
ionat.
9) Dac
ă
este prev
ă
zut
electrolux
39