Холодильник Electrolux ERB 4098 AC - инструкция пользователя по применению, эксплуатации и установке на русском языке. Мы надеемся, она поможет вам решить возникшие у вас вопросы при эксплуатации техники.
Если остались вопросы, задайте их в комментариях после инструкции.
"Загружаем инструкцию", означает, что нужно подождать пока файл загрузится и можно будет его читать онлайн. Некоторые инструкции очень большие и время их появления зависит от вашей скорости интернета.

3
JGBCFYBT {JKJLBKMYBRF-VJHJPBKMYBRF
Electrolux 818
38 98-00/4
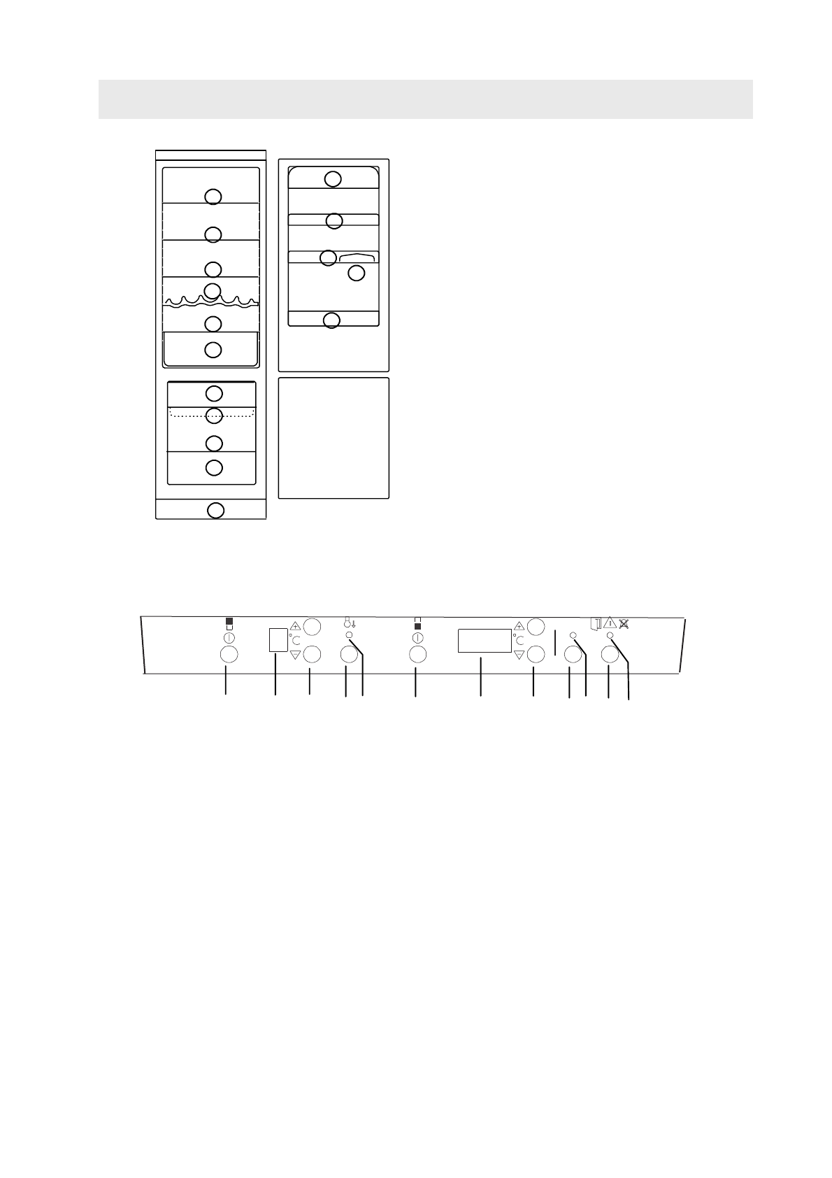
1.
Ñòåêëÿííàÿ ïîëêà
3.
ßùèê äëÿ îâîùåé
4.
Îòäåëåíèå äëÿ ìàñëà
5.
Äâåðíàÿ ïîëêà
6.
Ïîäñòàâêà äëÿ ÿèö
7.
Ïîëêà äëÿ áóòûëîê
8.
Ïîäíîñ äëÿ çàìîðàæèâàíèÿ
9.
ßùèê ìîðîçèëüíèêà
10.
Âåíòèëÿöèîííàÿ ðåøåòêà
2.
полка для охлаждения напитков
RJYNHJKMYFZ GFYTKM
F Dsrk/xfntkm gbnfybz [jkjlbkmybrf
B c g j k m p e t n c z l k z d r k / x t y b z b d s r k / x t y b z
[jkjlbkmybrf.
D Lbcgktq nthvjvtnhf
G j rf p s d f t n c h t l y / / n t v g t h f n e h e d y e n h b
[jkjlbkmybrf.
C Htuekznjh ntvgthfnehs # nthvjcnfn
Bcgjkmpetncz lkz htuekbhjdfybz ntvgthfnehs.
D
Ryjgrf ,scnhjuj j[kf;ltybz
Bcgjkmpetncz lkz drk/xtybz b dsrk/xtybz aeyrwbb
,scnhjuj j[kf;ltybz.
E
:=knfz cbuyfkmyfz kfvgjxrf
Ujhbn ghb drk/x=yyjv ht;bvt ,scnhjuj j[kf;ltybz.
F
Dsrk/xfntkm gbnfybz vjhjpbkmybrf
B c g j k m p e t n c z l k z d r k / x t y b z b d s r k / x t y b z
vjhjpbkmybrf.
G
Lbcgktq nthvjvtnhf
G j rf p s d f t n c h t l y / / n t v g t h f n e h e d y e n h b
vjhjpbkmybrf.
Y Htuekznjh ntvgthfnehs # nthvjcnfn
Bcgjkmpetncz lkz htuekbhjdfybz ntvgthfnehs.
I
Ryjgrf ,scnhjuj pfvjhf;bdfybz
Bcgjkmpetncz lkz drk/xtybz b dsrk/xtybz aeyrwbb
,scnhjuj pfvjhf;bdfybz.
J
:=knfz cbuyfkmyfz kfvgjxrf
Uj h b n g h b d r k / x = y y j v h t ; b v t , s c n h j uj
pfvjhf;bdfybz.
R Ryjgrf c,hjcf fdfhbqyjuj pderjdjuj cbuyfkf
Bcgjkmpetncz lkz dsrk/xtybz fdfhbqyjuj pderjdjuj
cbuyfkf.
L
Rhfcyfz cbuyfkmyfz kfvgjxrf
Vbuftn d ckexft drk/xtybz fdfhbqyjuj cbuyfkf.
*
- 18
5
ACTION
ACTION COOL
ACTION FREEZE
A
B C
D E
F
G
H
I J
K L
1
1
1
1
2
3
4
5
5
6
7
8
9
10
9
9












