Холодильник Electrolux ERB 3500 X - инструкция пользователя по применению, эксплуатации и установке на русском языке. Мы надеемся, она поможет вам решить возникшие у вас вопросы при эксплуатации техники.
Если остались вопросы, задайте их в комментариях после инструкции.
"Загружаем инструкцию", означает, что нужно подождать пока файл загрузится и можно будет его читать онлайн. Некоторые инструкции очень большие и время их появления зависит от вашей скорости интернета.

3
JGBCFYBT {JKJLBKMYBRF-VJHJPBKMYBRF
1 cntrkzyyfz gjkrf
2
3
4 jnltktybt lkz vfckf
5 ldthyjt jnltktybt
6 jnltktybt lkz zbw
7 yb;yzz gjkrf
8 gjlyjc lkz pfvjhf;bdfybz
9 zobr vjhjpbkmybrf
10 dtynbkzwbjyyfz hti=nrf
11
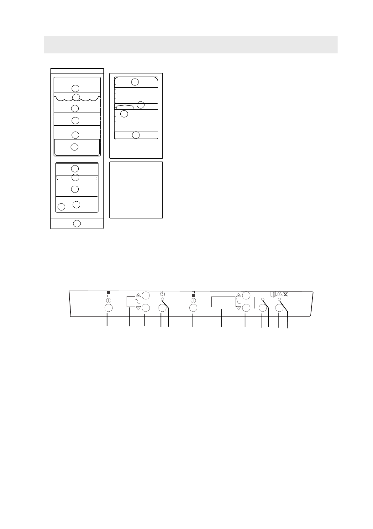
RJYNHJKMYFZ GFYTKM
F Dsrk/xfntkm gbnfybz [jkjlbkmybrf
B c g j k m p e t n c z l k z d r k / x t y b z b d s r k / x t y b z
[jkjlbkmybrf.
D Lbcgktq nthvjvtnhf
G j rf p s d f t n c h t l y / / n t v g t h f n e h e d y e n h b
[jkjlbkmybrf.
C Htuekznjh ntvgthfnehs # nthvjcnfn
Bcgjkmpetncz lkz htuekbhjdfybz ntvgthfnehs.
D
Ryjgrf ,scnhjuj j[kf;ltybz
Bcgjkmpetncz lkz drk/xtybz b dsrk/xtybz aeyrwbb
,scnhjuj j[kf;ltybz.
E
:=knfz cbuyfkmyfz kfvgjxrf
Ujhbn ghb drk/x=yyjv ht;bvt ,scnhjuj j[kf;ltybz.
F
Dsrk/xfntkm gbnfybz vjhjpbkmybrf
B c g j k m p e t n c z l k z d r k / x t y b z b d s r k / x t y b z
vjhjpbkmybrf.
G
Lbcgktq nthvjvtnhf
G j rf p s d f t n c h t l y / / n t v g t h f n e h e d y e n h b
vjhjpbkmybrf.
Y Htuekznjh ntvgthfnehs # nthvjcnfn
Bcgjkmpetncz lkz htuekbhjdfybz ntvgthfnehs.
I
Ryjgrf ,scnhjuj pfvjhf;bdfybz
Bcgjkmpetncz lkz drk/xtybz b dsrk/xtybz aeyrwbb
,scnhjuj pfvjhf;bdfybz.
J
:=knfz cbuyfkmyfz kfvgjxrf
Uj h b n g h b d r k / x = y y j v h t ; b v t , s c n h j uj
pfvjhf;bdfybz.
R Ryjgrf c,hjcf fdfhbqyjuj pderjdjuj cbuyfkf
Bcgjkmpetncz lkz dsrk/xtybz fdfhbqyjuj pderjdjuj
cbuyfkf.
L
Rhfcyfz cbuyfkmyfz kfvgjxrf
Vbuftn d ckexft drk/xtybz fdfhbqyjuj cbuyfkf.
*
- 18
5
ACTION
ACTION COOL
ACTION FREEZE
A
B C
D E
F
G
H
I J
K L
Electrolux 818 33 79-00/0
gjkrf lkz ,enskjr
zobrb lkz [hfytybz jdjotq
1
2
3
4
5
6
7
8
9
10
11
9
9
1
1
1
Frrevekznjh [jkjlf












