Холодильник Electrolux ENN 93111 AW - инструкция пользователя по применению, эксплуатации и установке на русском языке. Мы надеемся, она поможет вам решить возникшие у вас вопросы при эксплуатации техники.
Если остались вопросы, задайте их в комментариях после инструкции.
"Загружаем инструкцию", означает, что нужно подождать пока файл загрузится и можно будет его читать онлайн. Некоторые инструкции очень большие и время их появления зависит от вашей скорости интернета.

Клімат
ичний
клас
Навколишня температура
N
Від +16°C до +32°C
ST
Від +16°C до +38°C
T
Від +16°C до +43°C
При експлуатації за
межами цього діапазону
для деяких типів моделей
можуть виникнути певні
проблеми в роботі.
Правильна робота
гарантується лише при
експлуатації в зазначеному
діапазоні температур. При
виникненні сумнівів щодо
того, де встановлювати
прилад, зверніться до
продавця, нашої служби
обслуговування клієнтів
або в найближчий
авторизований сервісний
центр.
9.2 Підключення до
електромережі
• Перш ніж під’єднати прилад до
електромережі, переконайтеся, що
показники напруги й частоти,
вказані на табличці з паспортними
даними, відповідають показникам
мережі у вашому регіоні.
• Прилад повинен бути заземленим.
З цією метою вилка приладу
оснащена спеціальним контактом.
Якщо у розетці заземлення немає,
заземліть прилад окремо у
відповідності до чинних
нормативних вимог,
проконсультувавшись із
кваліфікованим електриком.
• Виробник не несе відповідальності
у разі недотримання цих правил
техніки безпеки.
• Цей прилад відповідає директивам
ЄЕС.
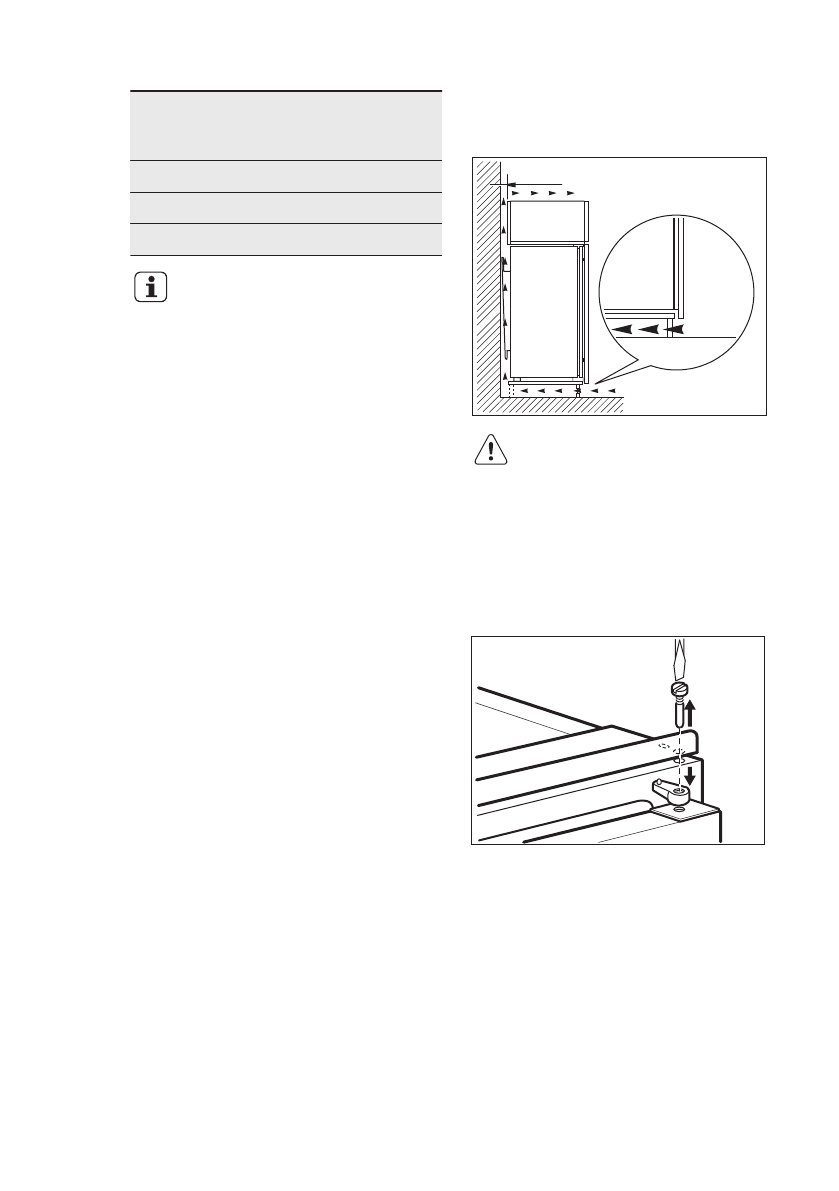
9.3 Вимоги щодо вентиляції
Позаду приладу має бути достатньо
місця для циркуляції повітря.
5 cm
min.
200 cm
2
min.
200 cm
2
ОБЕРЕЖНО!
Див. інструкції з монтажу,
щоб отримати відомості
щодо встановлення.
9.4 Встановлення дверцят на
інший бік
1. Відкрутіть і вийміть верхній гвинт і
розпірку.
2. Зніміть верхні дверцята.
3. Злегка відкрутіть середню завісу.
УКРАЇНСЬКА
37
Содержание
- 3 возможностями; Общие правила техники безопасности
- 4 УКАЗАНИЯ ПО БЕЗОПАСНОСТИ
- 5 электросети
- 6 Внутреннее освещение; Регулировка температуры
- 7 ПЕРВОЕ ИСПОЛЬЗОВАНИЕ; Очистка внутренних; поверхностей; ЕЖЕДНЕВНОЕ ИСПОЛЬЗОВАНИЕ; дверцы
- 8 Хранение замороженных; продуктов
- 9 Изготовление кубиков; льда; Нормальные звуки во; время работы
- 11 Общие предупреждения
- 13 Перерывы в эксплуатации; ПОИСК И УСТРАНЕНИЕ НЕИСПРАВНОСТЕЙ
- 16 Закрывание дверцы
- 18 Установка прибора
- 21 BRRR; OK
- 22 ТЕХНИЧЕСКИЕ ДАННЫЕ; Технические данные; ОХРАНА ОКРУЖАЮЩЕЙ СРЕДЫ












