Холодильник Electrolux ENN 92800 AW - инструкция пользователя по применению, эксплуатации и установке на русском языке. Мы надеемся, она поможет вам решить возникшие у вас вопросы при эксплуатации техники.
Если остались вопросы, задайте их в комментариях после инструкции.
"Загружаем инструкцию", означает, что нужно подождать пока файл загрузится и можно будет его читать онлайн. Некоторые инструкции очень большие и время их появления зависит от вашей скорости интернета.

Климат
ически
й класс
Температура окружающей
среды
SN
от +10°C до + 32°C
N
от +16°C до + 32°C
ST
от +16°C до + 38°C
T
от +16°C до + 43°C
При работе за рамками
данного диапазона у ряда
моделей могут
наблюдаться
определенные проблемы с
функционированием.
Надлежащая работа может
быть гарантирована только
в рамках заданного
диапазона температур. В
случае сомнений при
выборе места установки
прибора обратитесь в
место продажи, в
авторизованный
сервисный центр или в
ближайший центр
обслуживания.
8.3 Подключение к
электросети
• Перед включением прибора в сеть
удостоверьтесь, что напряжение и
частота, указанные в табличке с
техническими данными,
соответствуют параметрам
домашней электрической сети.
• Прибор должен быть заземлен. Для
этого вилка сетевого кабеля имеет
специальный контакт заземления.
Если розетка электрической сети не
заземлена, выполните отдельное
заземление прибора в
соответствии с действующими
нормами, поручив эту операцию
квалифицированному электрику.
• Изготовитель снимает с себя
всякую ответственность в случае
несоблюдения вышеуказанных
правил техники безопасности.
• Данный прибор соответствует
Директивам ЕСС.
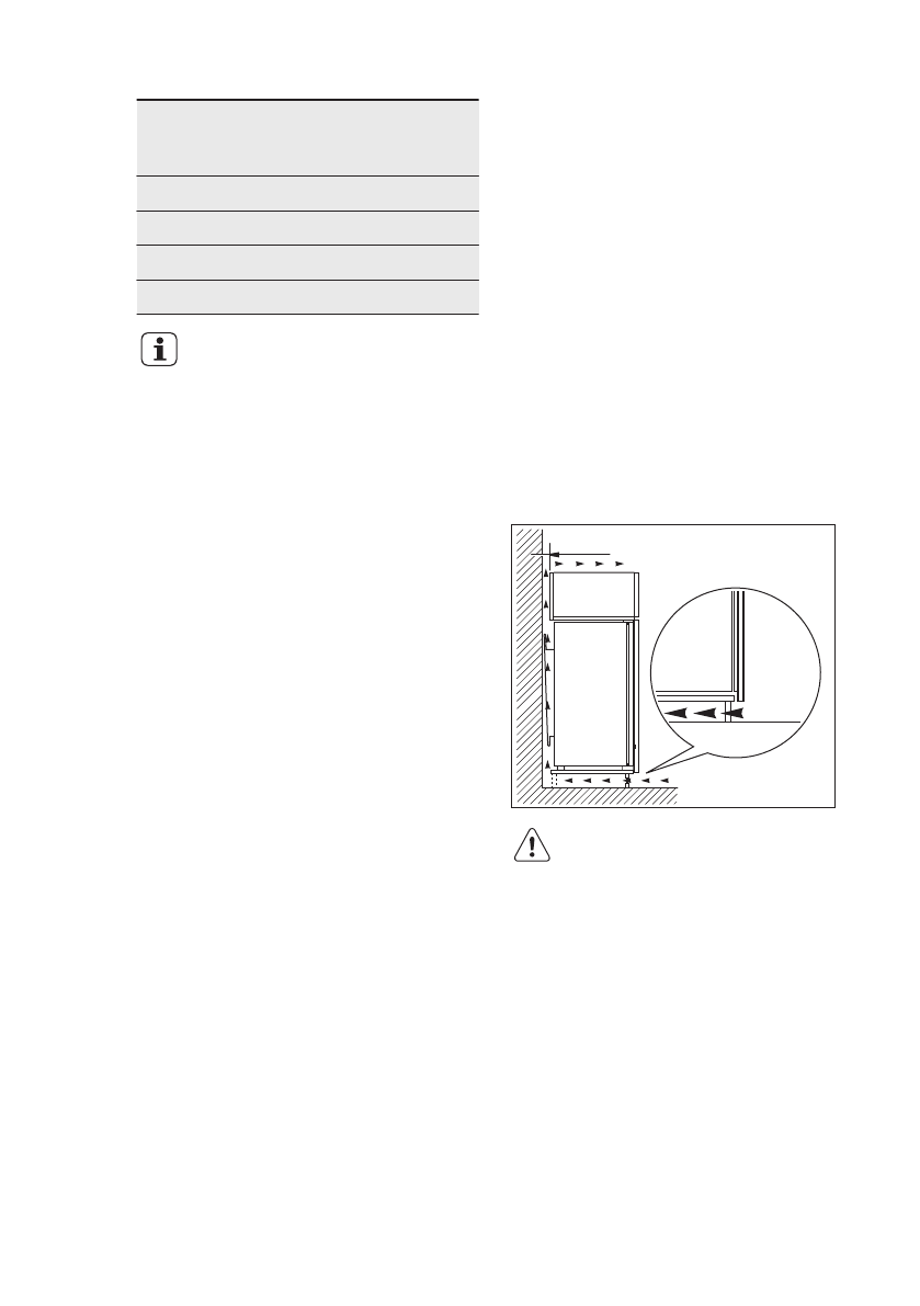
8.4 Требования к вентиляции
Необходимо обеспечить достаточную
циркуляцию воздуха с задней стороны
прибора.
5 cm
min.
200 cm
2
min.
200 cm
2
ОСТОРОЖНО!
При установке см.
указания по сборке.
9. ШУМЫ ПРИ РАБОТЕ
При нормальных условиях работы слышны некоторые звуки (работы
компрессора, циркуляции хладагента).
www.electrolux.com
32
Содержание
- 19 возможностями; Общие правила техники безопасности
- 20 УКАЗАНИЯ ПО БЕЗОПАСНОСТИ
- 21 электросети
- 22 Внутреннее освещение; Регулировка температуры
- 23 ЕЖЕДНЕВНОЕ ИСПОЛЬЗОВАНИЕ; Очистка внутренних; поверхностей
- 24 Хранение замороженных; продуктов
- 25 Изготовление кубиков; льда; Нормальные звуки во; время работы
- 27 холодильника
- 28 морозильника; Перерывы в эксплуатации
- 29 ПОИСК И УСТРАНЕНИЕ НЕИСПРАВНОСТЕЙ
- 32 Требования к вентиляции
- 34 ТЕХНИЧЕСКИЕ ДАННЫЕ; Технические данные; ОХРАНА ОКРУЖАЮЩЕЙ СРЕДЫ












