Холодильник Electrolux ENN 2914 COW - инструкция пользователя по применению, эксплуатации и установке на русском языке. Мы надеемся, она поможет вам решить возникшие у вас вопросы при эксплуатации техники.
Если остались вопросы, задайте их в комментариях после инструкции.
"Загружаем инструкцию", означает, что нужно подождать пока файл загрузится и можно будет его читать онлайн. Некоторые инструкции очень большие и время их появления зависит от вашей скорости интернета.

5.3 Розморожування морозильника
На поличках морозильника та навколо
верхнього відділення завжди формується пев‐
на кількість інею.
Коли товщина шару інею досягає приблизно
3-5 мм, розморожуйте морозильник.
Приблизно за 12 годин до розморо‐
жування встановіть регулятор темпе‐
ратури на вищу потужність, щоб нако‐
пичити достатній резерв холоду, зва‐
жаючи на заплановану перерву в ро‐
боті приладу.
Щоб прибрати іній, виконайте наступні дії.
1.
Вимкніть прилад.
2.
Вийміть продукти, загорніть їх у декілька
газет та покладіть у прохолодне місце.
Обережно!
Не торкайтеся заморожених продук‐
тів вологими руками. Руки можуть
примерзнути до продуктів.
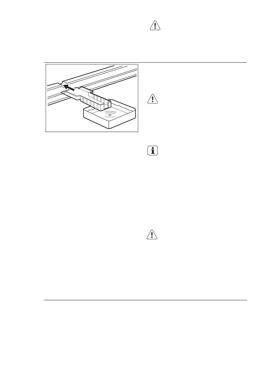
3.
Залиште дверцята відчиненими і вставте
пластмасовий шкребок у відповідне місце
внизу по центру, а також підставте пос‐
удину для збору талої води.
Для прискорення процесу розморожу‐
вання, поставте у морозильне відді‐
лення посудину з теплою водою. Та‐
кож видаляйте кусочки льоду, що від‐
колюються у процесі розморожуван‐
ня.
4.
Коли розморожування завершиться, ре‐
тельно висушіть внутрішні поверхні й за‐
ховайте шкребок для використання в
майбутньому.
5.
Увімкніть прилад.
6.
Через 2-3 години завантажте у прилад
раніше вийняті продукти.
Щоб не пошкодити випарник, не використо‐
вуйте металеві предмети для видалення інею.
Для прискорення процесу розморожування не
застосовуйте механічні пристрої чи інші засо‐
би, окрім засобів, рекомендованих виробни‐
ком.
Підвищення температури заморожених про‐
дуктів під час розморожування може скороти‐
ти термін їх придатності.
5.4 Періоди простою
Коли прилад тривалий час не експлуатується,
виконайте такі запобіжні дії:
• відключіть прилад від джерела електрично‐
го струму
• вийміть з нього всі продукти
• розморозьте (якщо передбачено) та почи‐
стіть прилад і все приладдя;
• залишіть дверцята прочиненими, щоб запо‐
бігти утворенню неприємних запахів.
Якщо ви не виключатимете прилад, то попро‐
сіть кого-небудь періодично перевіряти про‐
дукти, які в ньому знаходяться, на предмет
псування через відключення електроенергії.
Українська
57












